GM Service Manual Online
For 1990-2009 cars only

Object Number: 174579  Size: SH

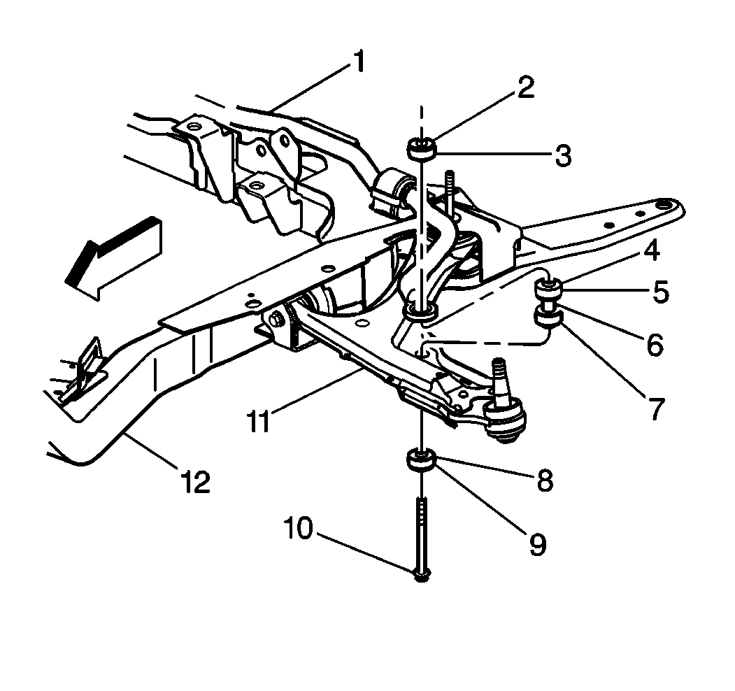
The front suspension is a combination strut and spring design. The control arms (11) pivot from the crossmember (12). On base models conventional rubber bushings are used for the lower control arm pivots. On up-level suspensions the front bushing is replaced by a cross axis bearing.


Object Number: 174649  Size: SH

The upper end of the strut (7) is isolated by a rubber mount (1) and contains a bearing that allows for the wheel turning.


Object Number: 186841  Size: SH

The lower end of the steering knuckle pivots on a ball joint  (3) riveted to the control arm. The ball joint is fastened to the steering knuckle with a nut (2).

Front Suspension Components Service

When servicing the items listed below, refer to Strut and Knuckle Scribing .

    • Strut mount
    • Jounce bumper
    • Strut shield
    • Spring seat
    • Spring lower and upper insulator

When servicing the following items, adjust the camber and toe after the repairs are completed.

    • Front spring
    • Strut dampener
    • Steering knuckle
    • Control arm ball joint

Inspection

Replace the suspension components that are bent, worn, or damaged must be replaced with new parts. Do not attempt to heat, quench or straighten any parts.