GM Service Manual Online
For 1990-2009 cars only
Makes
🢒
Pontiac
🢒
1999
🢒
Grand Am
🢒
Body and Accessories
🢒
Theft Deterrent
🢒 Theft Deterrent System Schematics
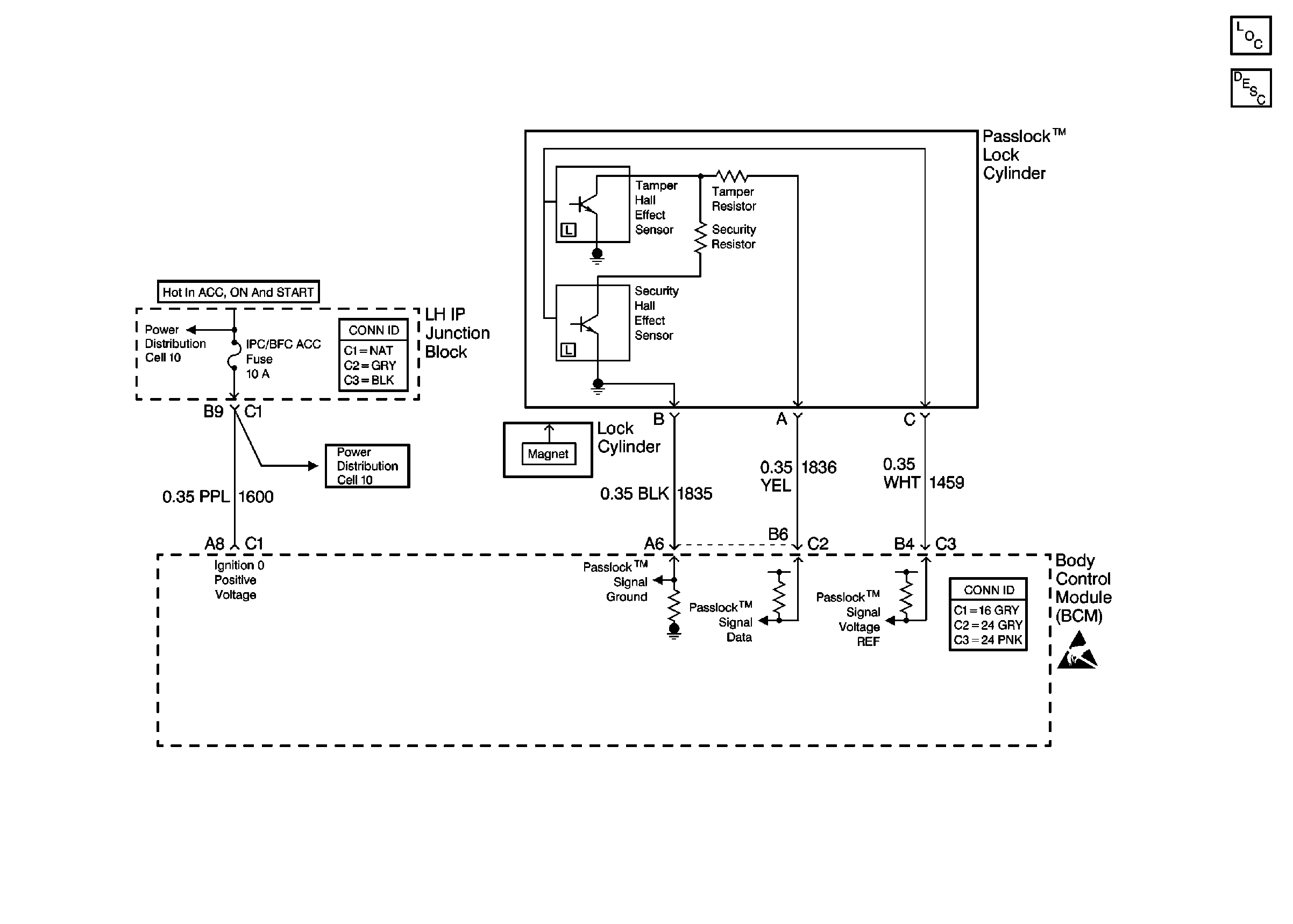
Cell 133: Passlock⢠Lock Cylinder and BCM
Theft Deterrent System Components
Vehicle Theft Deterrent (VTD) Description
Handling ESD Sensitive Parts Notice
Power Distribution Schematics
Power Distribution Schematics