GM Service Manual Online
For 1990-2009 cars only

CMVSS Non-Compliance 99012-Child Rear Seat Tether Bracket Kit

Subject:99012 -- Child Rear Seat Tether Bracket Kit

Models:Certain 1999 Oldsmobile Alero Model Vehicles
Certain 1999 Pontiac Grand Am Model Vehicles



The Highway Safety Act, as amended, provides that each vehicle which is subject to a recall campaign of this type must be adequately repaired within a reasonable time after the customer has tendered it for repair. A failure to repair within sixty (60) days after tender of a vehicle is prima facie evidence of failure to repair within a reasonable time.

If the condition is not adequately repaired within a reasonable time, the customer may be entitled to an identical or reasonably equivalent vehicle at no charge or to a refund of the purchase price less a reasonable allowance for depreciation.

To avoid having to provide these burdensome remedies, every effort must be made to promptly schedule an appointment with each customer and to repair their vehicle as soon as possible. As you will see in reading the attached copy of the divisional letter that is being sent to customers, the customers are being instructed to contact the appropriate Customer Assistance Center if their dealer does not remedy the condition within five (5) days of the mutually agreed upon service date. If the condition is not remedied within a reasonable time, they are instructed on how to contact the National Highway Traffic Safety Administration.

Defect Involved

General Motors has decided that certain 1999 Oldsmobile Alero and Pontiac Grand Am model vehicles equipped with dealer-installed child rear seat tether bracket kits fail to conform to Canadian Motor Vehicle Safety Standard (CMVSS) 210, "Seat Belt Assembly Anchorages." The bolt in the child rear seat tether bracket kit is too long, has insufficient threads to meet proper clamp load, and the spacer in the kit it too short. In the event of a vehicle crash, a child seat may not be properly restrained by the anchor, and injury to the seat occupant could occur.

To prevent the possibility of this condition occurring, dealers are to replace any previously-installed child seat tether bracket kit(s).

Vehicles Involved

Involved are certain 1999 Oldsmobile Alero and Pontiac Grand Am model vehicles built within the following VIN breakpoints:

Year

Division

Model

Plant

From

Through

1999

Oldsmobile

Alero

Lansing "C"

XC301582

XC335530

1999

Pontiac

Grand Am

Lansing "C"

XC500317

XC537627

1999

Pontiac

Grand Am

Lansing "M"

XM702985

XM806463

Important: Dealers should confirm vehicle eligibility through VISS (Vehicle Information Service System) prior to beginning campaign repairs. [Not all vehicles within the above breakpoints may be involved.]

Involved vehicles have been identified by Vehicle Identification Number. Computer listings containing the complete Vehicle Identification Number, customer name and address data have been prepared, and are being furnished to involved dealers with the campaign bulletin. The customer name and address data furnished will enable dealers to follow-up with customers involved in this campaign. Any dealer not receiving a computer listing with the campaign bulletin has no involved vehicles currently assigned.

These dealer listings may contain customer names and addresses obtained from State Motor Vehicle Registration Records. The use of such motor vehicle registration data for any other purpose is a violation of law in several states. Accordingly, you are urged to limit the use of this listing to the follow-up necessary to complete this campaign.

Parts Information

Parts required to complete this campaign are to be obtained from General Motors Service Parts Operations (GMSPO). Please refer to your "involved vehicles listing" prior to ordering requirements. Normal orders should be placed on a DRO = Daily Replenishment Order. An emergency requirement should be ordered on a CSO = Customer Special Order.

Part Number

Description

Qty/ Vehicle

22623349

Kit-Child Rear Seat Tether Bracket

1, 2 or 3

Customer Notification

Customers will be notified of this campaign on their vehicles by General Motors (see copy of typical customer letter included with this bulletin - actual divisional letter may vary slightly).

Dealer Campaign Responsibility

All unsold new vehicles in dealers' possession and subject to this campaign MUST be held and inspected/repaired per the service procedure of this campaign bulletin BEFORE customers take possession of these vehicles.

Dealers are to service all vehicles subject to this campaign at no charge to customers, regardless of mileage, age of vehicle, or ownership, from this time forward.

Customers who have recently purchased vehicles sold from your vehicle inventory, and for which there is no customer information indicated on the dealer listing, are to be contacted by the dealer. Arrangements are to be made to make the required correction according to the instructions contained in this bulletin. This could be done by mailing to such customers a copy of the customer letter accompanying this bulletin. Campaign follow-up cards should not be used for this purpose, since the customer may not as yet have received the notification letter.

In summary, whenever a vehicle subject to this campaign enters your vehicle inventory, or is in your dealership for service in the future, please take the steps necessary to be sure the campaign correction has been made before selling or releasing the vehicle.

This bulletin is notice to you that the new motor vehicles included in this campaign may not comply with the standard identified above. Under 41 U.S.C. section 30112 of the Highway Safety Act as amended, it is illegal for a dealer to sell a new motor vehicle which the dealer knows does not comply with an applicable Canadian Motor Vehicle Safety Standard. As a consequence, if you sell any of these motor vehicles without first performing the campaign correction, your dealership may be subject to a civil penalty up to $1,100 for each such sale.

Service Procedure

Important: When performing this campaign, use the following service procedure. Do not use the instructions included with the part. Those instructions are for new installations only (vehicles that do not currently have a child seat tether bracket kit installed).

  1. From inside the vehicle, remove the tether retaining bolt, the bracket, the spacer(s). Discard these items.
  2. From inside the trunk compartment, remove the existing J clip from the steel shelf panel. Discard the J clip.
  3. From inside the trunk compartment, install a new J clip on the steel shelf panel.
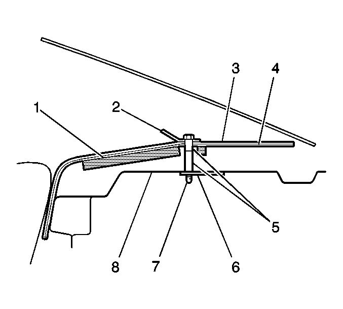
  4. Use the following information for determining correct spacer usage:

  5. Object Number: 675743  Size: SH
    (1)Insulation
    (2)Bracket-Tether
    (3)Spacer
    (4)Trim Panel Carpet
    (5)Trim Panel Substrate
    (6)J Clip
    (7)Bolt
    (8)Shelf Panel
    • For center rear seat tether bracket installations, install only the shorter spacer. Refer to Figure 1.

    Object Number: 675746  Size: SH
    (1)Insulation
    (2)Bracket-Tether
    (3)Trim Panel Carpet
    (4)Trim Panel Substrate
    (5)Spacers
    (6)J Clip
    (7)Bolt
    (8)Shelf Panel
    • For outboard (left or right) seat tether bracket installations, install both the short spacer and the long spacer together. Refer to Figure 2. To ease installation, tape may be used to hold the two spacers together end to end.
  6. From inside the vehicle, install the correct spacer(s) as determined in Step 4 in the hole in the trim panel.
  7. Position the new tether bracket on the new retaining bolt as shown in Figure 1 or Figure 2. Install the bolt through the hold in the trim panel and into the J clip.
  8. Tighten
    Tighten the bolt to 15 N·m (11 lb ft).

  9. Install the GM Campaign Identification Label.

Campaign Identification Label

Each vehicle corrected in accordance with the instructions outlined in this Product Campaign Bulletin will require a "Campaign Identification Label". Each label provides a space to include the campaign number and the five (5) digit dealer code of the dealer performing the campaign service. This information may be inserted with a typewriter or a ball point pen.

Each "Campaign Identification Label" is to be located on the radiator core support in an area which will be visible when the vehicle is brought in by the customer for periodic servicing. When installing the Campaign Identification Label, be sure to pull the tab to allow the adhesion of the clear protective covering. Additional Campaign Identification Labels can be obtained from Dealer Support Materials by calling 1-888-414-6322 (Monday-Friday, 8:00 am to 5:00 pm EST). Ask for Item Number S-1015 when ordering.

Apply the "Campaign Identification Label" only on a clean, dry surface.

Claim Information

Submit a Product Campaign Claim with the information indicated below.

Repair Performed

Part Count

Part No.

Parts Allow

CC-FC

Labor Op

Labor Hours*

Replace Child Seat Tether Bracket Kit

1

22623349

**

MA-96

V0307

0.2 hr

Add: For Each Additional Kit (maximum of 3 kits per vehicle)

1

0.2 hr

* -- For Campaign Administrative Allowance, add 0.1 hours to the "Labor Hours".

** -- The "Parts Allowance" should be the sum total of the current GMSPO Dealer Net price plus 40% for rear child seat tether bracket kits needed to complete the repair.

Refer to the General Motors Corporation Claims Processing Manual for details on Product Campaign Claim Submission.

April, 1999

Dear <Division(s)> Customer:

This notice is sent to you in accordance with the requirements of the National Traffic and Motor Vehicle Safety Act.

Reason For This Recall

General Motors has decided that certain 1999 Oldsmobile Alero and Pontiac Grand Am model vehicles equipped with dealer-installed child rear seat tether bracket kits fail to conform to Canadian Motor Vehicle Safety Standard (CMVSS) 210, "Seat Belt Assembly Anchorages." The bolt in the child rear seat tether bracket kit is too long, has insufficient threads to meet proper clamp load, and the spacer in the kit it too short. In the event of a vehicle crash, a child seat may not be properly restrained by the anchor, and injury to the seat occupant could occur.

What Will Be Done

To prevent the possibility of this condition occurring, your dealer will replace any previously-installed child seat tether bracket kit(s) in your vehicle. This service will be performed for you at no charge .

How Long Will The Repair Take?

The length of time required to perform this service correction is approximately 15 minutes per kit. Additional time may be required to schedule and process your vehicle. If you dealer has a large number of vehicles awaiting service, this additional time may be significant. Please ask your dealer if you wish to know how much additional time will be needed schedule, process, and repair your vehicle.

Contacting Your Dealer

Please contact your <<Division>>dealer as soon as possible to arrange a service date. Parts are available and instructions for making this correction have been sent to your dealer.

Your <<Division>> dealer is best equipped to obtain parts and provide services to correct your vehicle as promptly as possible. Should your dealer be unable to schedule a service date within a reasonable time, you should contact the appropriate Customer Assistance/Relations Center at the number listed below:

Division

Number

Deaf, Hearing Impaired, or Speech Impaired*

Pontiac

1-800-762-2737

1-800-833-7668

Oldsmobile

1-800-442-6537

1-800-833-6537

* Utilizes Telecommunication Devices for the Deaf/Text Telephones (TDD/TTY)

If, after contacting the appropriate customer assistance center, you are still not satisfied that we have done our best to remedy this condition without charge and within a reasonable time, you may wish to write the Administrator, National Highway Traffic Safety Administration, 400 Seventh Street SW, Washington, DC 20590 or call 1-800-424-9393 (Washington, DC residents use 202-366-0123).

Customer Reply Card

The enclosed customer reply card identifies your vehicle. Presentation of this card to your dealer will assist in making the necessary correction in the shortest possible time. If you no longer own this vehicle, please let us know by completing the postage paid reply card and returning it to us.

Courtesy Transportation

Your dealer will provide you with shuttle service or some other form of courtesy transportation while your vehicle is at the dealership for this repair. Please refer to your Owner's Manual and your dealer for details on Courtesy Transportation.

We are sorry to cause you this inconvenience; however, we have taken this action in the interest of your safety and continued satisfaction with our products.

<Division(s)>

General Motors Corporation

Enclosure