GM Service Manual Online
For 1990-2009 cars only
Makes
🢒
Pontiac
🢒
2000
🢒
Grand Am
🢒
HVAC
🢒
HVAC Systems - Manual
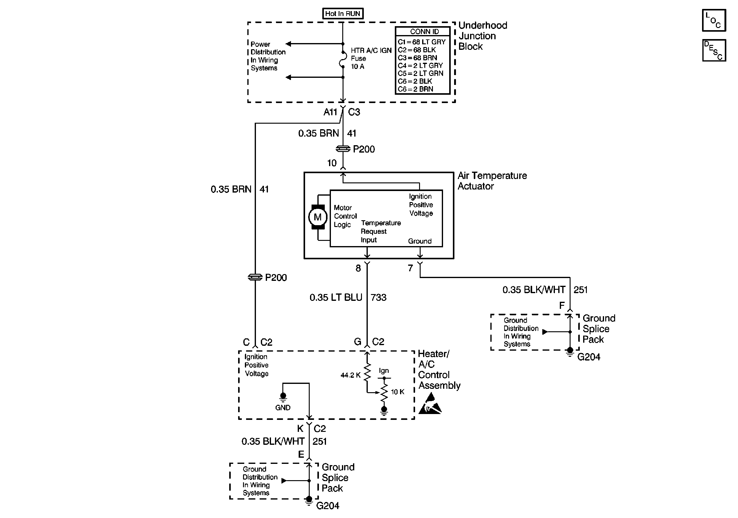
🢒 HVAC Air Delivery/Temperature Control Schematics
Cell 65
HVAC Components
HVAC Air Delivery/Temperature Control Circuit Description
Ground Distribution Schematics
Ground Distribution Schematics