GM Service Manual Online
For 1990-2009 cars only

    Object Number: 241290  Size: SH
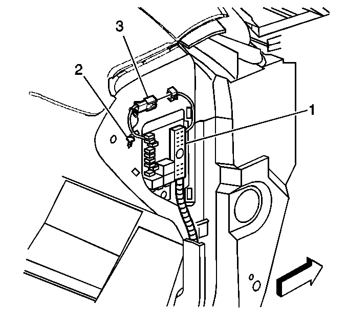
  1. Connect the inflatable restraint IP module connector (3) located above the RH IP wiring harness junction block.
  2. Install the connector position assurance (CPA) (2) to the IP module connector (3).
  3. Install the RH IP wiring harness junction block access panel.

  4. Object Number: 241289  Size: SH
  5. Connect the inflatable restraint steering wheel module coil connector (1) located above the LH IP wiring harness junction block.
  6. Install the CPA (2) to the steering wheel module coil connector (1).
  7. Install the AIR BAG Fuse to the LH IP wiring harness junction block.
  8. Install the LH IP wiring harness junction block access panel.
  9. Staying well away from both air bags, turn ON the ignition.
  10. 8.1. The AIR BAG indicator will flash seven times.
    8.2. The AIR BAG indicator will then turn OFF.
  11. Perform Diagnostic System Check - SIR if the AIR BAG indicator does not operate as described.