GM Service Manual Online
For 1990-2009 cars only
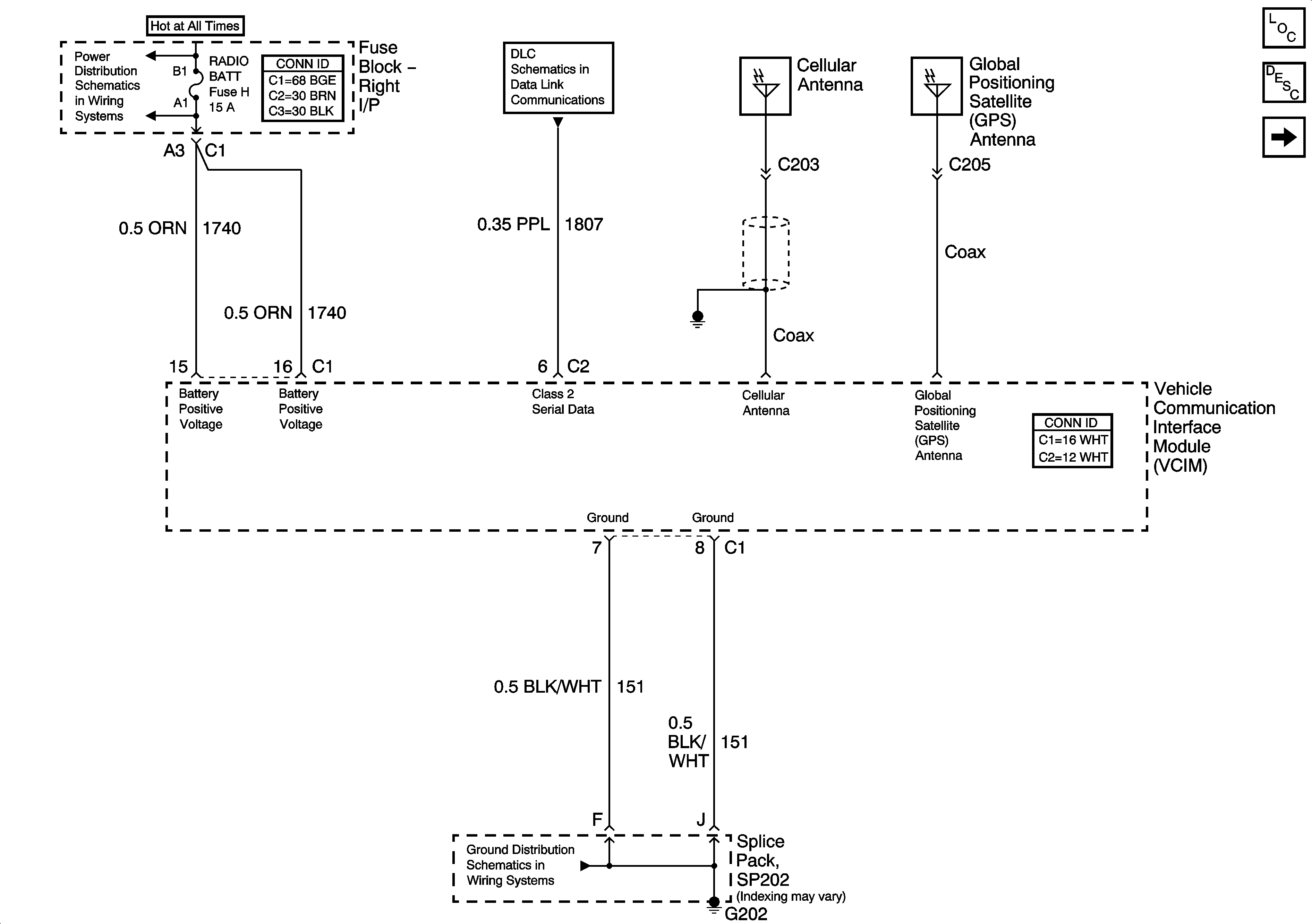
Figure 1:

Power and Ground


Object Number: 777654  Size: FS
Master Electrical Component List
Inside Rearview Mirror
RH BEC BATT, ABS, COOL FAN (V6) GROUND, INT LPS, RADIO BATT, FOG LPS Fuses
Data Link Connector (DLC) Schematics
G202
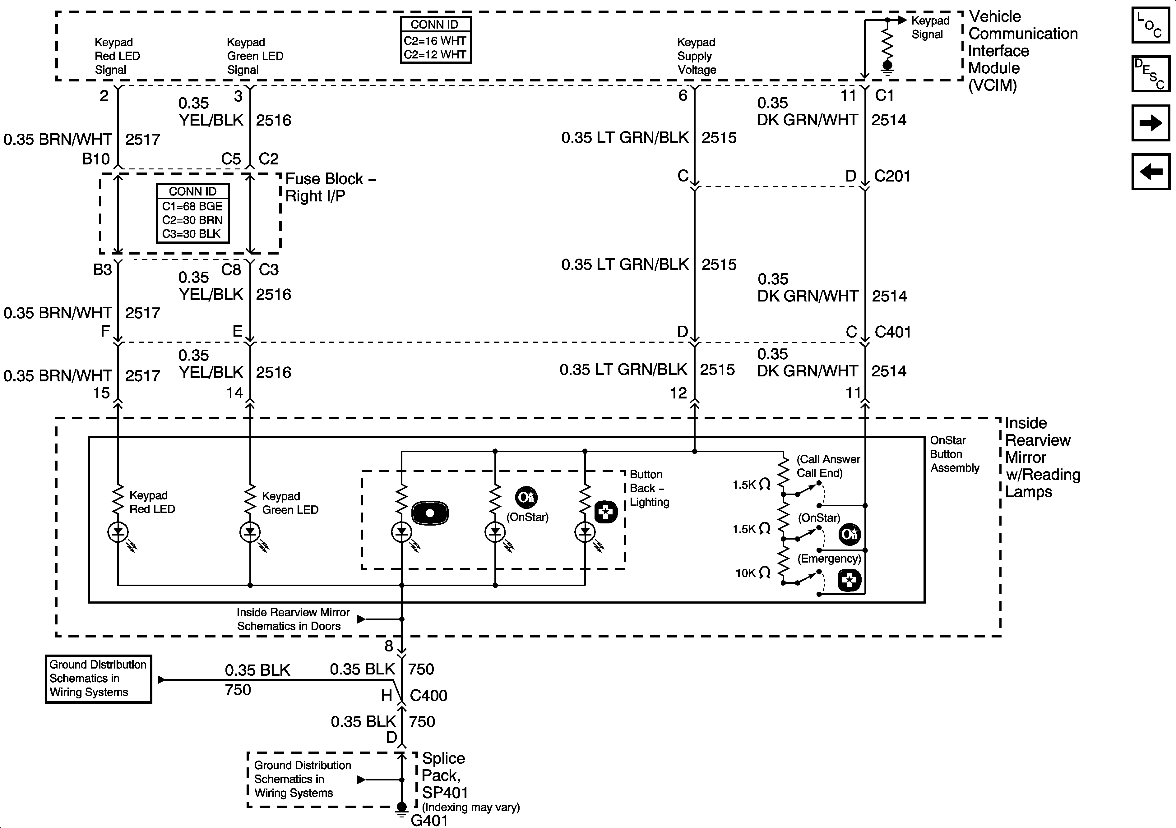
Figure 2:

Inside Rearview Mirror


Object Number: 777656  Size: FS
Master Electrical Component List
Microphone and Radio
Power and Ground
Inside Rearview Mirror Schematics
G401
G401
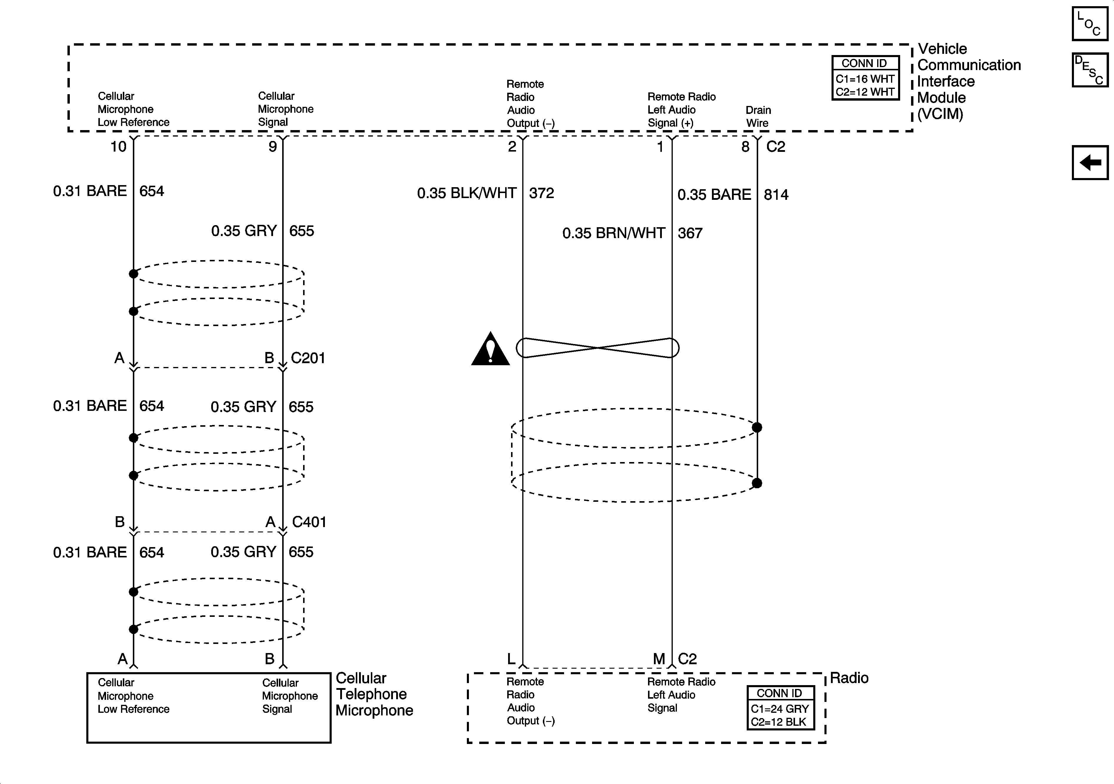
Figure 3:

Microphone and Radio


Object Number: 777660  Size: FS
Master Electrical Component List
Inside Rearview Mirror