GM Service Manual Online
For 1990-2009 cars only
Makes
🢒
Pontiac
🢒
2006
🢒
Grand Am
🢒
Vehicle Control Systems
🢒
Computer/Integrating Systems
🢒 Body Control System Schematics
Figure
1:
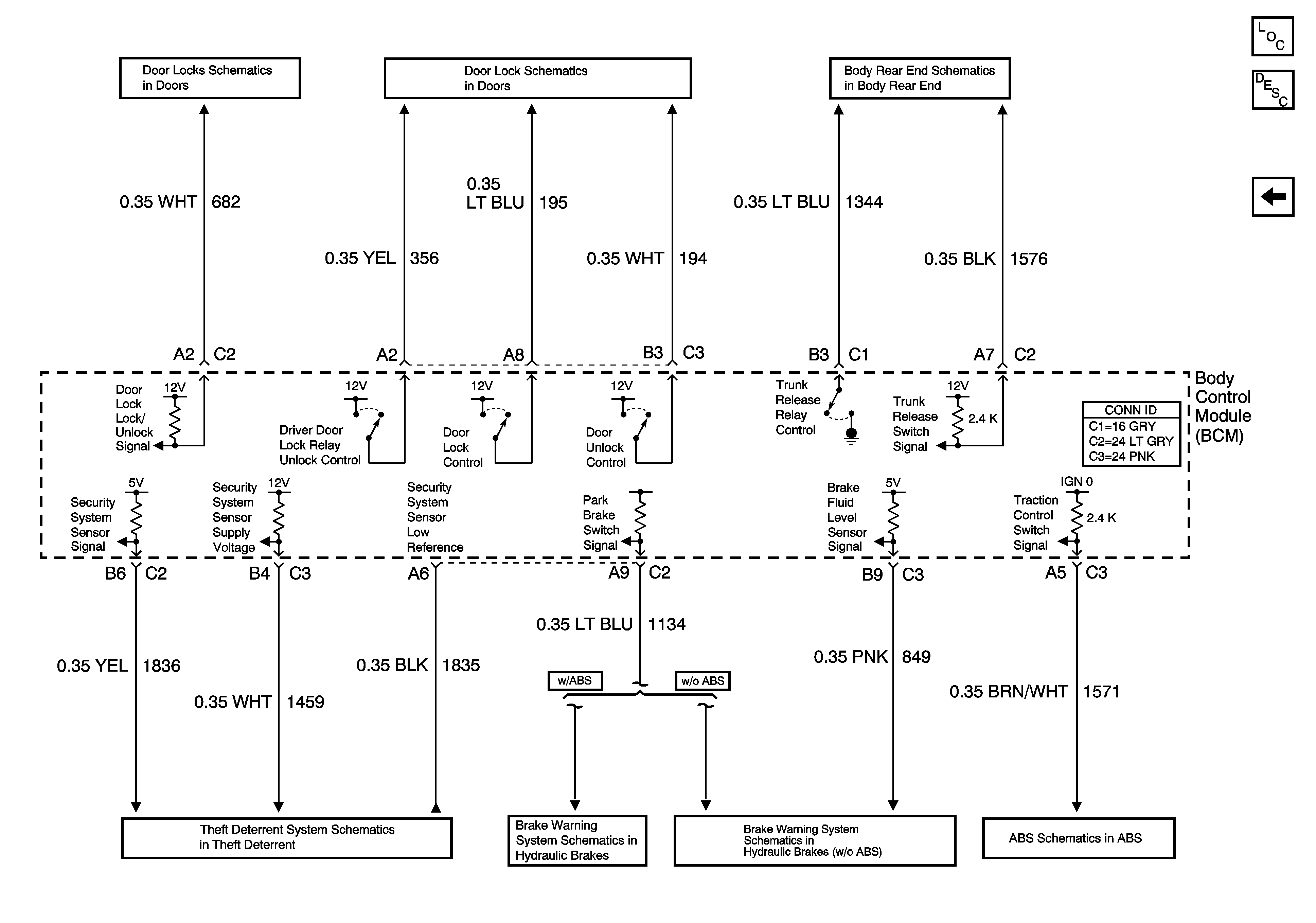
Power, Ground, and Controlled/Monitored References
Figure
2:
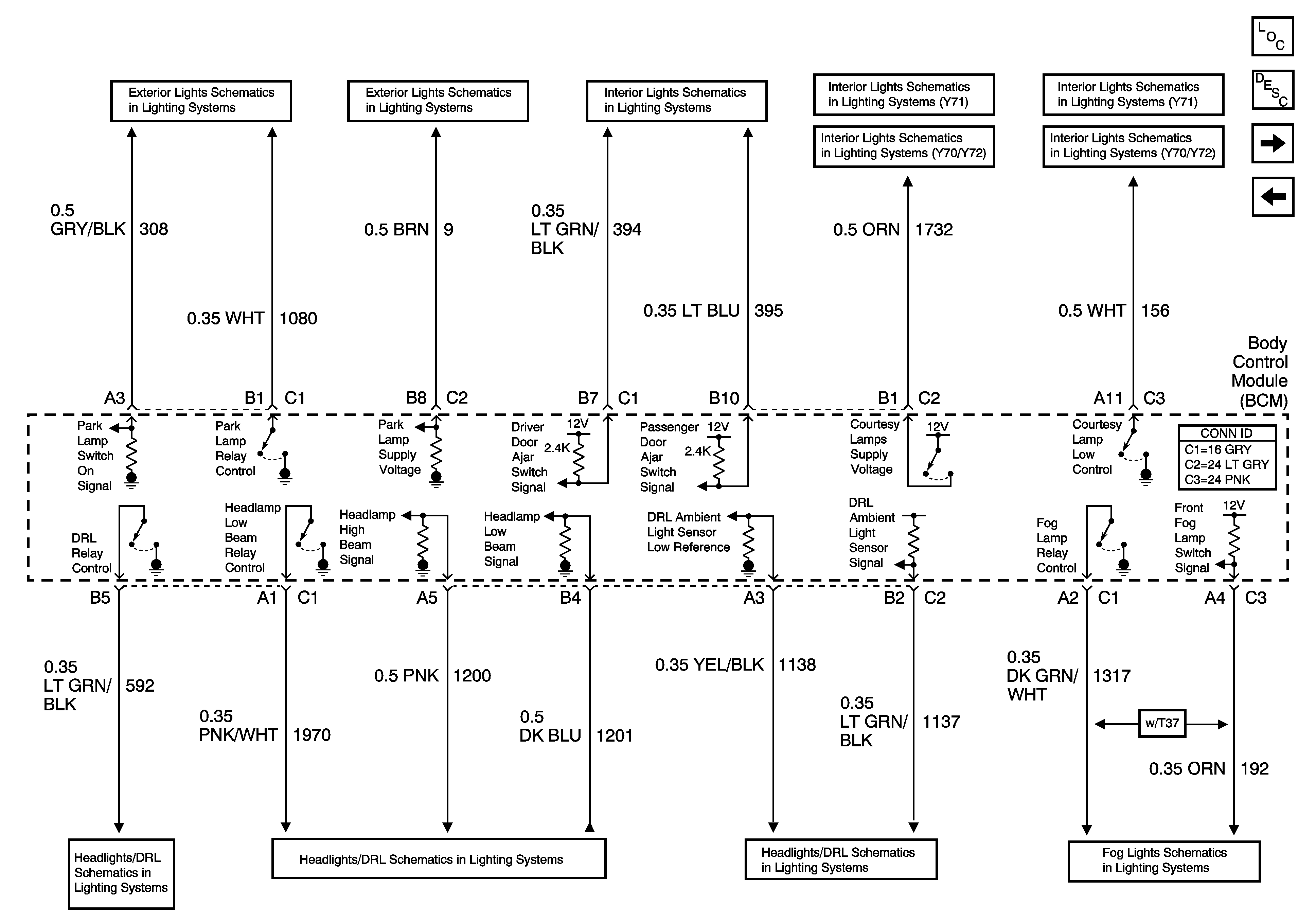
Controlled/Monitored Lighting References
Figure
3:
Controlled/Monitored Lock, Theft Deterrent, and Brake References