GM Service Manual Online
For 1990-2009 cars only
Makes
🢒
Pontiac
🢒
2006
🢒
Grand Am
🢒
Restraints
🢒
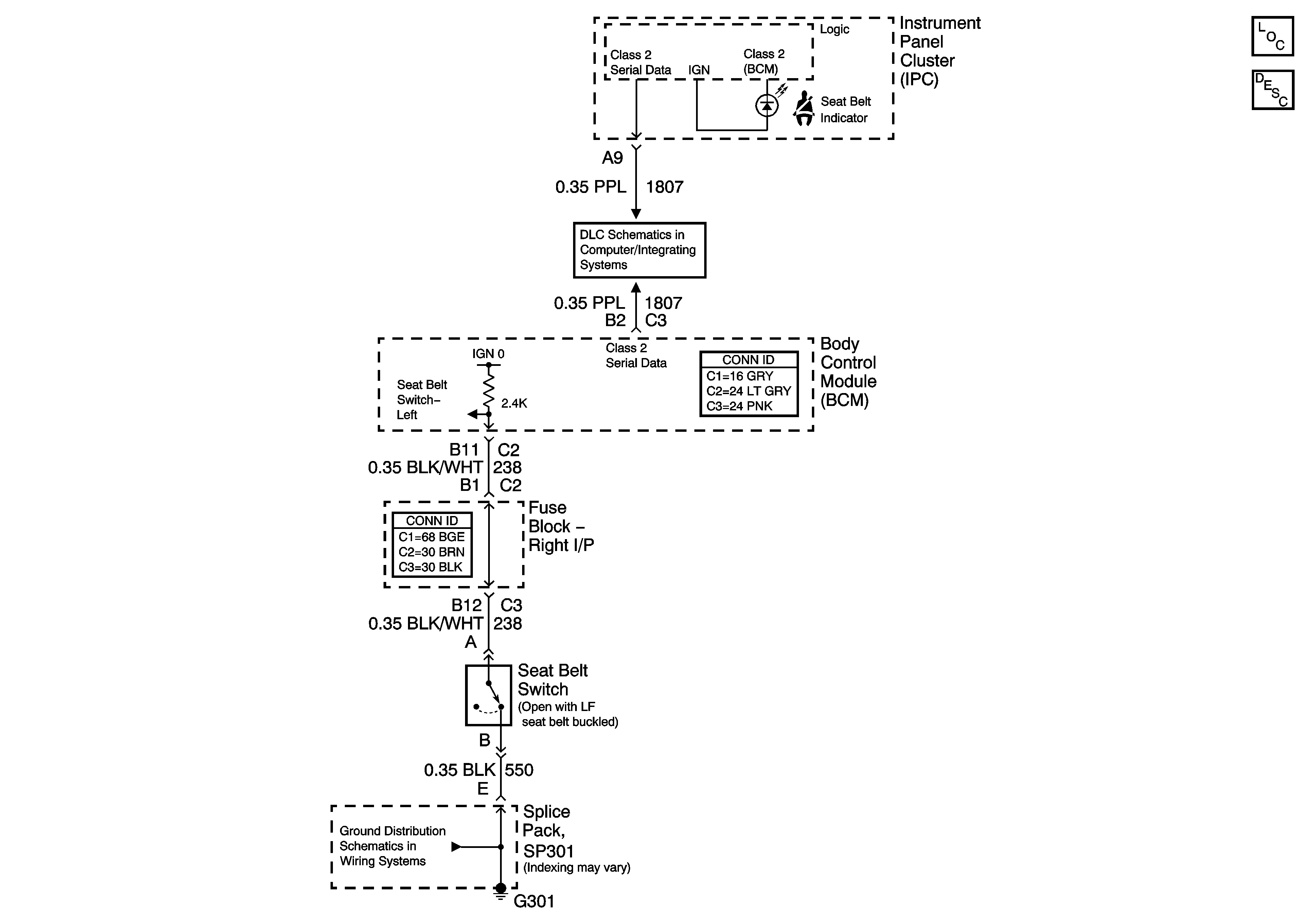
Seat Belts
🢒 Seat Belt Schematics