GM Service Manual Online
For 1990-2009 cars only

INADEQUATE HEATER PERFORMANCE (REWORK HEATER OUTLET)

HEATER PERFORMANCE

MODELS AFFECTED 1988 GRAND PRIX --------------- Some comments about heater system performance with 1988 Grand Prix such as it being slow to warm up or having inadequate heat, may be received from some customers.

If the heater system is operating properly and the engine temperature is in the operating range, the cause of the problem may be reduced air/heat distribution from the heater outlet.

This condition may be addressed by the following rework procedure of the hush panel and the heater outlet duct.

Procedure:

---------- 1. Remove the left hand hush panel from under the Instrument Panel (I.P.).

2. Using a sawblade cut off the right hand side of hush panel (as shown in Figure 1).

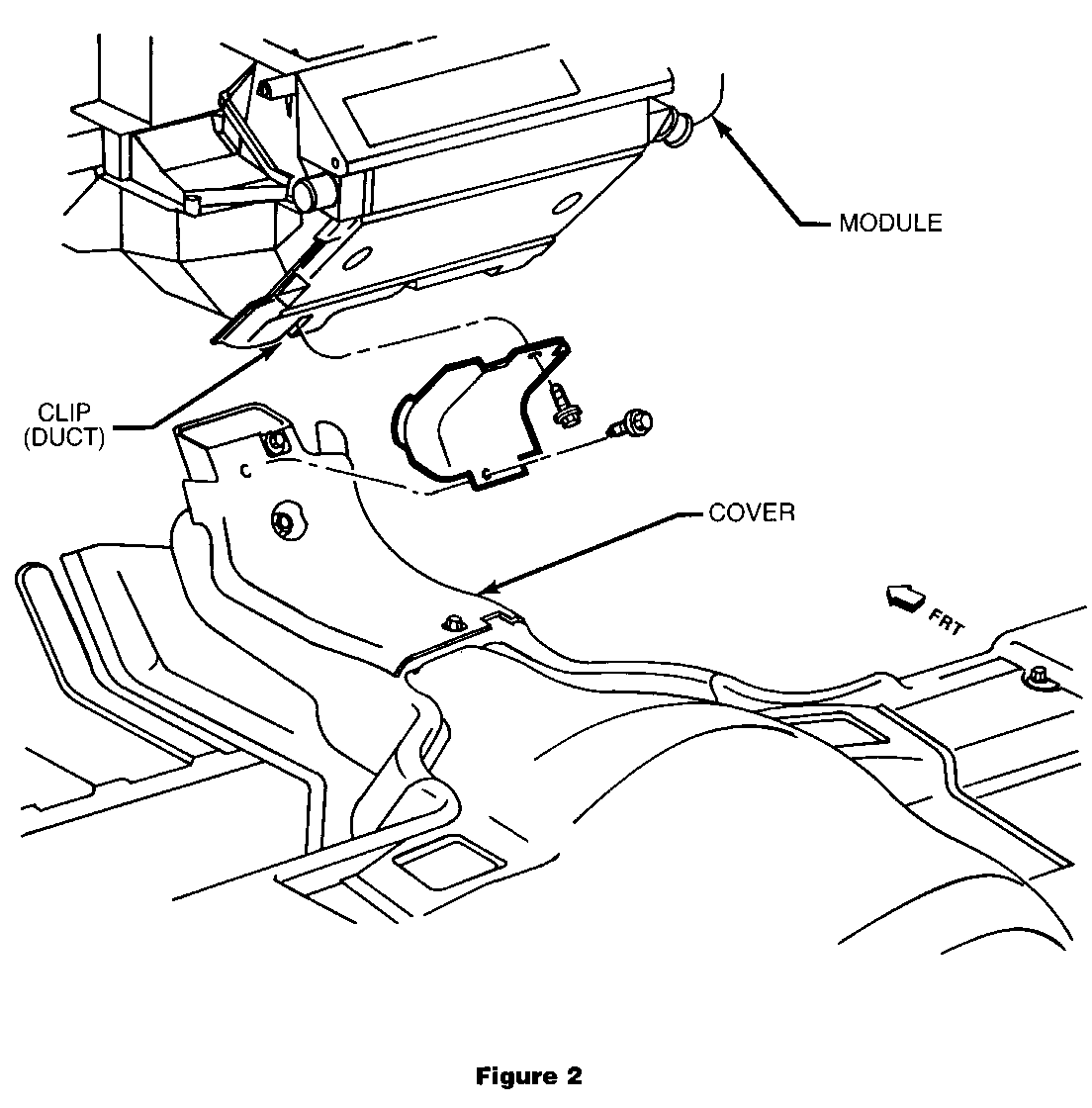
3. Remove the adapter duct that joins the heater module to the rear seat heater duct (as shown in Figure 2).

4. Remove the rear heater duct that is mounted with three (3) screws to the heater module (as shown in Figure 3).

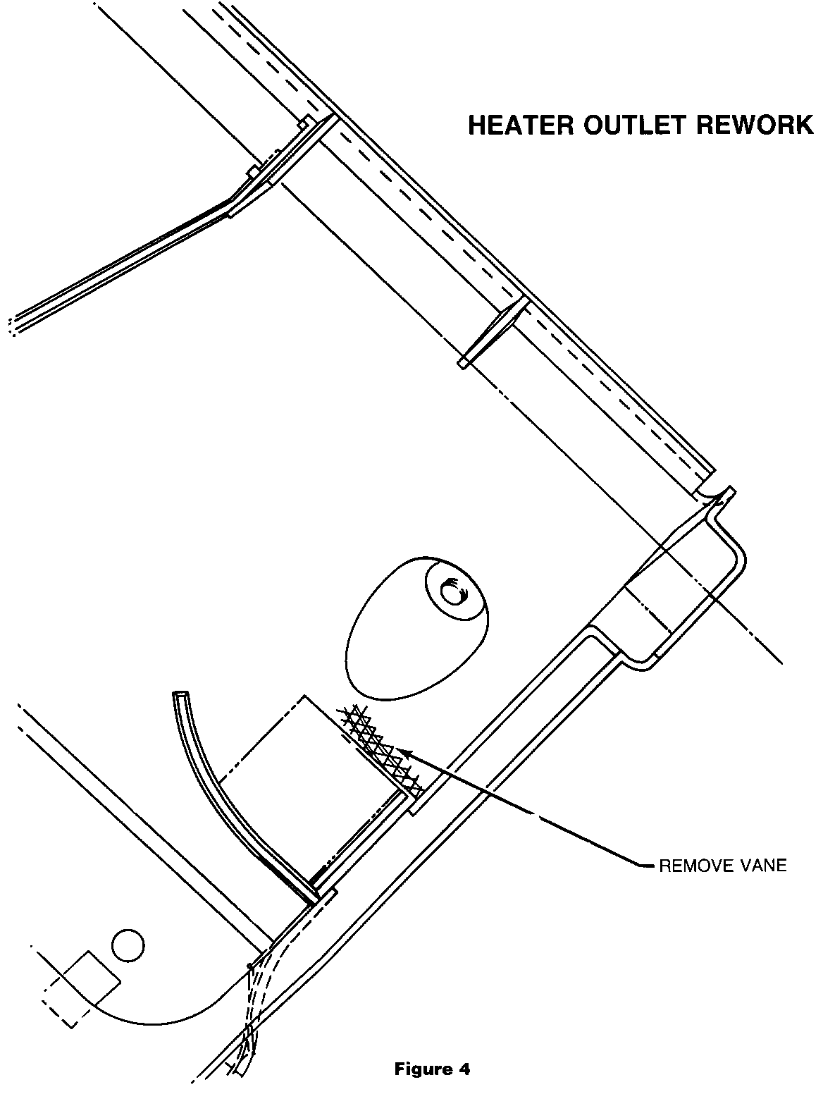
5. Using a sawblade or diagonal wire cutters cut off the short vane located at the top side of the rectangular outlet hole (as shown in Figure 4).

6. Reinstall the rear heater duct, adapter duct and the left hand hush panel.

Labor Operation Number: T1313

Labor Time : 0.5 Hours


Object Number: 75119  Size: FS


Object Number: 81665  Size: FS


Object Number: 77386  Size: FS


Object Number: 77385  Size: FS

General Motors bulletins are intended for use by professional technicians, not a "do-it-yourselfer". They are written to inform those technicians of conditions that may occur on some vehicles, or to provide information that could assist in the proper service of a vehicle. Properly trained technicians have the equipment, tools, safety instructions and know-how to do a job properly and safely. If a condition is described, do not assume that the bulletin applies to your vehicle, or that your vehicle will have that condition. See a General Motors dealer servicing your brand of General Motors vehicle for information on whether your vehicle may benefit from the information.