GM Service Manual Online
For 1990-2009 cars only

SERVICE MANUAL UPDATE REMOVING SUSPENSION BRACKET

SERVICE MANUAL UPDATE- REMOVING THE REAR SUSPENSION AUXILIARY SPRING AND BRACKET USING J 37098 TOOL

VEHICLES AFFECTED: 1988-89 W CARS -----------------

SERVICE MANUAL UPDATE

Update explains new information regarding the tool usage in Section 3D, pages 3-4 of the 1988 and 1989 Service Manual for Buick-and Pontiac and page 3 of the 1988 and 1989 Service Manual for Oldsmobile.

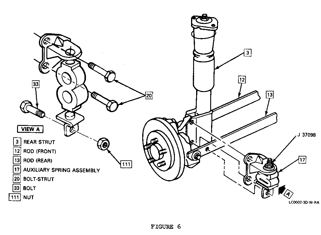
FIGURES 4 AND 6 DO NOT APPLY TO PONTIAC GRAND PRIX.

CAUTION:

THE AUXILIARY SPRING IS COMPRESSED WITH CONSIDERABLE FORCE BETWEEN UPPER AND LOWER RETAINING BRACKETS. THREAD DAMAGE TO THE LOWER BRACKET WILL PREVENT PROPER INSTALLATION AND USE OF TOOL J 37098, WHICH MAY RESULT IN PERSONAL INJURY.

To prevent personal injury, the entire rear auxiliary spring assembly should be removed when performing rear suspension service, as follows:

Tool required: J 37098 Rear Suspension Auxiliary Spring Compressor

With vehicle on a hoist, and tire/wheel assembly removed:

1. Scribe strut to knuckle.

2. Pry dust plug from auxiliary spring upper bracket.

3. Remove debris from auxiliary spring, and spring lower bracket, using compressed air, blowing from top and bottom.

CAUTION:

TO PREVENT PERSONAL INJURY, ALWAYS USE PROTECTIVE EYE WEAR WHEN WORKING WITH COMPRESSED AIR.

4. Remove jack pad.

5. Install tool J 35778, rear leaf spring compressor, and compress tranverse spring to release spring pressure from knuckle, Do not remove tranverse spring or retention plates. (Figures 1 and 2).

6. Install J 37098 into auxiliary spring and thread tool into lower bracket a minimum of THREE COMPLETE SCREW REVOLUTIONS (Figures 3 and 4).

CAUTION:

IF J 37098 WILL NOT ENGAGE THREE COMPLETE SCREW REVOLUTIONS, IT MAY NOT PERFORM SAFELY. CAREFULLY REMOVE TOOL AND CONTACT THE TECHNICAL ASSISTANCE CENTER IF ADDITIONAL SERVICE ADVICE IS DESIRED. THE AUXILIARY SPRING ASSEMBLY OR TOOL J 37098 SHOULD NOT BE PULLED, TWISTED, OR USED AS A LEVERAGE POINT OTHERWISE PERSONAL INJURY MAY RESULT.

7. Hand tighten only J 37098 bearing and nut assembly to the top of the auxiliary spring upper bracket.

8. Remove nut and bolt from auxiliary spring lower bracket and lateral link.

9. Remove strut attaching nuts (two) at0179 rear of knuckle.

10. Remove strut/knuckle bolts.

11. Remove auxiliary spring and bracket assembly with J 37098 installed and place away from work area, (Figures 5 and 6),


Object Number: 92593  Size: MF


Object Number: 92592  Size: MF


Object Number: 79199  Size: FS


Object Number: 83507  Size: FS


Object Number: 86021  Size: LF


Object Number: 84445  Size: FS

General Motors bulletins are intended for use by professional technicians, not a "do-it-yourselfer". They are written to inform those technicians of conditions that may occur on some vehicles, or to provide information that could assist in the proper service of a vehicle. Properly trained technicians have the equipment, tools, safety instructions and know-how to do a job properly and safely. If a condition is described, do not assume that the bulletin applies to your vehicle, or that your vehicle will have that condition. See a General Motors dealer servicing your brand of General Motors vehicle for information on whether your vehicle may benefit from the information.