GM Service Manual Online
For 1990-2009 cars only

Product Safety 00009 - Engine Cradle Corrosion

Subject:00009 -- Engine Cradle Corrosion

Models:1990-93 W Model Vehicles
Located in the High Corrosion Provinces of Newfoundland, Nova Scotia, Prince Edward Island and New Brunswick



Condition

General Motors has decided that a defect which relates to motor vehicle safety exists in certain 1990-93 W model vehicles located in Newfoundland, New Brunswick, Nova Scotia and Prince Edward Island where exposure to moisture and salt can cause extreme levels of corrosion. Some of these vehicles exhibit a condition in which corrosion has caused loss of metal thickness at or near the engine cradle mounts. If sufficient metal thickness is lost, one or both of the front retainer and/or mounts may pull through, or the cradle may fracture forward of the rear mounts. If failures occur at both front or both rear locations, movement of the cradle can cause separation of the steering intermediate shaft. If this happens while the vehicle is moving, a crash could result without prior warning.

Correction

Dealers are to inspect the cradle assembly and install reinforcement plates. In vehicles where there is sufficient remaining metal thickness at the cradle mounting locations, a new cradle assembly will be installed.

Important: Cradle replacement will require DSM approval before repairs.

Where the engine cradle replacement repair costs may exceed the current fair market value of the vehicle, consult with your District Service Manager before proceeding.

It may be appropriate to assist the customer in purchasing or leasing a new or used General Motors vehicle. The offer of assistance must not exceed the fair market value of an identical model vehicle in similar condition but not requiring the engine cradle repair or the value of the repair, whichever is less. Licensing, sales tax, etc., would be customer responsibility.

Due to the age of the vehicles involved, published used vehicle value guides may not provide fair market values. It may be necessary to contact wholesalers or survey prices in your local market.

In very unusual circumstances, where the customer insists they are unable to afford any of the alternatives offered, a cash payment for their vehicle may be appropriate. Note: The customer is to sign a release.

Any vehicle purchased from the customers through the assistance outlined above must be scrapped in accordance with local practice so that it cannot be put back in service.

If the customer chooses to decline the fair market value offer, they should be advised that their vehicle is unfit for service and the Motor Vehicle Registrar will be notified by the Dealership.

Vehicles Involved

Involved are certain 1990-93 W model vehicles built within these VIN breakpoints:

Important: VEHICLES WHICH WARRANTY RECORDS INDICATE WERE PREVIOUSLY REPAIRED UNDER WARRANTY WITH NEW DESIGN CRADLES, P/N 12369168, ARE NOT INCLUDED IN THIS CAMPAIGN.

Year

Division

Model

Plant

From

Through

1990

Chevrolet

Lumina

Oshawa #2

L1159277

L1199198

1990

Chevrolet

Lumina

Oshawa #1

L9100281

L9317952

1991

Chevrolet

Lumina

Oshawa #1

M9100622

M9263327

1992

Chevrolet

Lumina

Oshawa #1

N9101166

N9288235

1993

Chevrolet

Lumina

Oshawa #1

P9100014

P9267779

1990

Pontiac

Grand Prix

Fairfax

LF201888

LF327802

1991

Pontiac

Grand Prix

Fairfax

MF200169

MF300893

1992

Pontiac

Grand Prix

Fairfax

NF201605

NF319317

1993

Pontiac

Grand Prix

Fairfax

PF200040

PF311143

1990

Buick

Regal

Oshawa #2

L1400896

L1456807

1991

Buick

Regal

Oshawa #2

M1402953

M1913768

1992

Buick

Regal

Oshawa #2

N1401321

N1514649

1993

Buick

Regal

Oshawa #2

P1400060

P1499102

1990

Oldsmobile

Cutlass Supreme

Doraville

LD300398

LD410550

1991

Oldsmobile

Cutlass Supreme

Doraville

MD300204

MD399797

1992

Oldsmobile

Cutlass Supreme

Doraville

ND302295

ND391772

1993

Oldsmobile

Cutlass Supreme

Doraville

PD300259

PD382693

Important: Dealers should confirm vehicle eligibility through GM Access Screen (Canada only) before beginning campaign repairs. [Not all vehicles within the above breakpoints may be involved.]

Involved vehicles have been identified by Vehicle Identification Number. Computer listings containing the complete Vehicle Identification Number, customer name and address data have been prepared, and are being furnished to involved dealers with the campaign bulletin. The customer name and address data furnished will enable dealers to follow-up with customers involved in this campaign. Any dealer not receiving a computer listing with the campaign bulletin has no involved vehicles currently assigned.

These dealer listings may contain customer names and addresses obtained from Motor Vehicle Registration Records. The use of such motor vehicle registration data for any other purpose is a violation of law in several states/provinces/countries. Accordingly, you are urged to limit the use of this listing to the follow-up necessary to complete this campaign.

Parts Information

Parts required to complete this campaign are to be obtained from General Motors Service Parts Operations (GMSPO). Please refer to your "involved vehicles listing" before ordering parts. Normal orders should be placed on a DRO=Daily Replenishment Order. In an emergency situation, parts should be ordered on a CSO=Customer Special Order.

Parts Table for Frame Corrosion Kits

Part Number

Description

Qty/ Vehicle

88880032

Reinforcement Kit, Frame Front

1

12346501

Coating, Anti-corrosion (½ can per corrosion kit)

½ can

Parts Table for Drivetrain & Front Suspension Frame Assembly

Part Number

Description

Qty/ Vehicle

12369168

Frame Kit, Drivetrain & Front Suspension Frame Assembly (Incl Instr Sheet)

1

10220561

Bolt, Frame (4 per frame)

4

10139080

Retainer, Frame Insulator

2

14087853

Spacer, Frame Insulator

2

14088025

Insulator, Asm, Frame Upper Front

2

14088026

Insulator, Asm, Frame Lower Front

2

10203413

Retainer, Frame Insulator

2

14088027

Insulator Asm, Upper Rear

2

14088028

Insulator Asm, Lower Rear

2

14087857

Spacer, Frame Insulator

2

26025653

Hose Asm, Power Steering Gear Inlet (V6 eng)

1

26028157

Hose, Power Steering Fluid Reservoir Inlet (V6 eng)

1

26046582

Pipe Asm, Power Steering Fluid Cooling (V6 eng)

1

Service Procedure

Important: The frame/cradle assembly must be replaced if any of the following conditions are found before or while performing this service:

NOTE: Prior DSM authorization is required before proceeding to replace a cradle.

   • Plate(s) welded or obvious repairs performed to any area of the frame/cradle assembly.
   • Part(s) broken off or missing due to rust perforation or mechanical damage.
   • Perforation(s) or crack(s) around the front mount area which extend within 32 mm (1-¼ in) of the leading edge of the cradle or rearward more than 120 mm (4-¾ in) of the leading edge of the cradle.
   • Perforation(s) or crack(s) in the area between the rear body mount and the stabilizer shaft attachment.
   • Crack(s) under the stabilizer shaft clamp attachment.
   • Perforation(s) or crack(s) on the crossmember(s) side rail(s) or bracket(s) not specifically mentioned above.

Front Cradle Reinforcements Procedure/Rear Cradle Reinforcements Procedure

The rear cradle reinforcements procedure begins with Step 18.

  1. Raise and suitably support the vehicle.
  2. Remove both front wheel and tire assemblies.
  3. Caution: Failure to disconnect the intermediate shaft from the rack and pinion steering gear shaft can result in damage to the steering gear and/or intermediate shaft. This damage can cause/result in an accident and possible personal injury.

  4. Disconnect the intermediate shaft at the steering gear stub shaft.
  5. Support the front of the frame assembly.
  6. Remove and discard both the front frame/cradle mount bolts.
  7. Lower the front of the frame/cradle assembly approximately 100 mm (4 in).
  8. Remove and discard both the right and the left front frame/cradle mount assemblies.
  9. Scrape and wire brush the frame/cradle assembly on the upper and the lower surfaces that are contacted by the mounts.
  10. Measure and record the location of the 32 mm (1-¼ in) alignment pin access hole in the underside of the right front lower frame horn surface.
  11. Transfer and mark this location to the left front lower frame surface.

    Using a 1-¼ inch (32 mm) hole saw, cut a hole through the left front lower frame horn surface similar to the alignment pin access hole found in the right front lower frame horn surface.

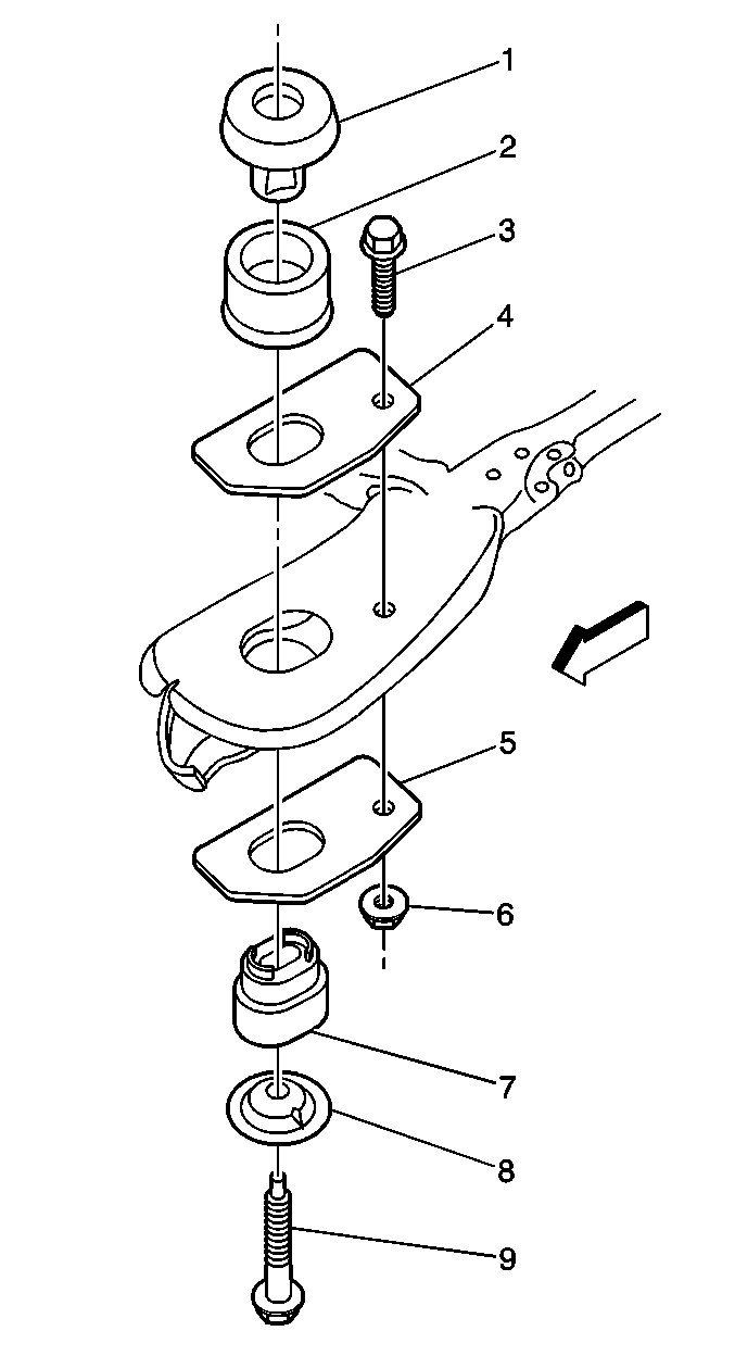
    Front Cradle Reinforcement (Left Side Shown-Right Side Similar)


    Object Number: 725378  Size: LH

    Important: The lower front insulators (7) have been pressed into the front lower reinforcement plates (5) to ensure proper fit and will require disassembly prior to installation. Identify and keep together parts that have been disassembled from one another for assembly purposes. The lower reinforcement plates are identified with the letter "R" or "L" indicating right or left side, respectively.

  12. Position the left front reinforcement plate (5) with the insulator removed, inside the left front frame horn. Install the front lower insulator (7) and visually align the insulator/reinforcement plate assembly with the cage nut in the vehicle underbody.
  13. While holding the insulator/reinforcement plate assembly in position, mark the frame at the centre of the small hole in the reinforcement plate. Remove the front lower insulator (7) and reinforcement plate (5).

  14. Working through the access hole previously cut in the lower surface of the frame horn, drill a 13 mm (½ in) hole at the location marked in the previous step.
  15. Wipe and blow off the areas that were scraped or wire brushed, removing any foreign material from the front frame horns.
  16. Apply anti-corrosion compound, P/N 12346501, to the right front mount areas from the bend in the horn forward, on both the upper and lower surfaces and the inside section of the frame/cradle assembly.
  17. Install the front reinforcement plates (4 & 5), the bolts (3), and hand start the nuts (6) at both front mount locations as shown in the illustration.
  18. Important: Lubricate the insulators with rubber lube, P/N 12345884 or the equivalent, at the time of installation.

  19. Install the front lower insulators (7), the upper insulators (2) and the spacers (1) at both front mount locations.
  20. Raise the frame/cradle assembly up to the underbody.
  21. Install the front mount retainers (8) and hand start the front frame/cradle mount bolts (9).
  22. Tighten

        • Tighten the reinforcement plate nuts (6) to 85 N·m (62 lb ft).
        • Tighten the frame/cradle mount bolts (1) to 110 N·m (82 lb ft) and ensure that the lower insulators are seated to the reinforcement plates.
  23. Support the rear of the frame/cradle assembly.
  24. Remove and discard both the rear frame/cradle mount bolts.
  25. Lower the rear of the frame/cradle assembly 40 mm (1-½ in).
  26. Remove the discard both the right and the left rear frame/cradle mount assemblies.
  27. Remove and discard the fasteners securing the stabilizer bar insulators and the clamps to the frame/cradle assembly.
  28. Scrape and wire brush the frame/cradle assembly on the upper and the lower surfaces that are contacted by the mounts, the stabilizer shaft attachments and the waterfall area on the sides of the assembly.
  29. Important: Excessive weld and weld flash must be removed from the area where the rear crossmember meets the side rail to ensure that the rear reinforcement plates lay flat on the frame/cradle assembly.

  30. Inspect and remove any weld flash or excessive weld from the frame/cradle assembly where the rear crossmember is welded to the frame/cradle side rails.
  31. Wipe and blow off the areas that were scraped or wire brushed in order to remove any foreign material.
  32. Apply anti-corrosion compound, P/N 12346501, to the rear mount, the waterfall and the stabilizer shaft bracket surfaces and the inside section of the frame/cradle assembly.
  33. Rear Cradle Reinforcement (Left Side Shown-Right Side Similar)(Right Side Reinforcement Plate Has Different Contour Than Left Side)


    Object Number: 725379  Size: LH
  34. Position the right and the left rear reinforcement plates (7) on the top surface of the rear frame horns as shown in the illustration.
  35. Install the stabilizer shaft stud brackets (3) up through the frame/cradle assembly, the rear reinforcement plates (7), the stabilizer shaft, the insulator clamps (2) and hand start the stud bracket nuts (1).
  36. Tighten
    Tighten the stabilizer shaft stud bracket nuts (1) to 60 N·m (45 lb ft).

    Important: Lubricate the insulators with rubber lube, P/N 12345884 or the equivalent, at the time of installation.

  37. Install the rear lower insulators (6), the upper insulators (8), and the spacers (9) at both rear mount locations.
  38. Raise the rear of the frame/cradle assembly up to the underbody.
  39. Install the rear mount retainers (5) and hand start the rear frame/cradle mount bolts (4).
  40. Tighten
    Tighten the rear frame/cradle mount bolts (4) to 110 N·m (82 lb ft).

  41. Connect the intermediate shaft at the steering gear stub shaft.
  42. Tighten
    Tighten the pinch bolt to 47 N·m (35 lb ft).

  43. Install the front wheel and tire assemblies.
  44. Tighten
    Tighten the wheel nuts to 140 N·m (103 lb ft) using a torque wrench or appropriate torque limiting socket. Tighten the wheel nuts using a "star pattern."

  45. Lower the vehicle.
  46. Set the alignment to specification.
  47. Install the GM Campaign Identification Label.

Campaign Identification Label

Place a Campaign Identification Label on each vehicle corrected in accordance with the instructions outlined in this Product Campaign Bulletin. Each label provides a space to include the campaign number and the five (5) digit dealer code of the dealer performing the campaign service. This information may be inserted with a typewriter or a ball point pen.

Put the Campaign Identification Label on a clean and dry surface of the radiator core support in an area that will be visible to people servicing the vehicle. Additional Campaign Identification Labels for Canadian dealers can be obtained from DGN by calling 1-800-668-5539 (Monday-Friday, 8:00 am to 5:00 pm EST). Ask for Item Number GMP 91 when ordering.

Claim Information

Submit a Product Campaign Claim with the information indicated below:

Repair Performed

Part Count

Part No.

Parts Allow

CC-FC

Labour Op

Labour Hours*

Net Item

Install cradle corrosion kit

1

88880032

**

MA-96

V0466

1.4

***

Install new cradle assembly (includes alignment)

(Requires prior approval by District Service Manager)

21

12369168

**

MA-96

V0467

4.0

***

Inspect and offer customer trade assistance

--

--

--

MA-96

V0518

0.3

****

* -- For Campaign Administrative Allowance, add 0.1 hours to the "Labour Hours".

** -- The "Parts Allowance" should be the sum total of the current GMSPO Dealer Net price plus applicable Mark-Up for cradle reinforcement kits or cradle assemblies needed to complete the repair.

*** -- The amount identified in the "Net Item" column should represent the sum total of the Current GMSPO Net Price plus applicable Mark-Up for anti-corrosion compound and rubber lube needed to perform the required repairs.

**** -- The amount of the trade assistance offer accepted by the customer.

Refer to the General Motors WINS Claims Processing Manual for details on Product Campaign Claim Submission.

Reimbursement

Customer requests for reimbursement of previously paid repairs to correct cradle corrosion are to be submitted by April 30, 2001.

Consideration for reimbursement will be allowed only if genuine General Motors parts were used. The amount to be reimbursed will be limited to the amount the repair would have cost if completed by an authorized General Motors dealer.

Owner reimbursement may not be allowed if obvious previous repairs inappropriately performed to any area of the frame/cradle assembly.

When a customer requests reimbursement, they must provide the following:

    • Proof of ownership at the time of the repair.
    • The original paid receipt confirming the amount of unreimbursed repair expense(s), a description of the repair, and the person or entity performing the repair.

NOTE: WHEN REIMBURSING PREVIOUS REPAIRS, THE CUSTOMER IS TO SIGN A RELEASE.

Claims for customer reimbursement on previously paid repairs are to be submitted as required by WINS.

Important: Refer to the GM Service Policies and Procedures Manual, section 1.6.2, for specific procedures regarding customer reimbursement verification.

Customer Notification

Customers will be notified of this campaign on their vehicles by General Motors (see copy of customer letter included with this bulletin).

Dealer Campaign Responsibility

All unsold new vehicles in dealers' possession and subject to this campaign MUST be held and inspected/repaired per the service procedure of this campaign bulletin BEFORE customers take possession of these vehicles.

Dealers are to service all vehicles subject to this campaign at no charge to customers, regardless of mileage, age of vehicle, or ownership, from this time forward.

Customers who have recently purchased vehicles sold from your vehicle inventory, and for which there is no customer information indicated on the dealer listing, are to be contacted by the dealer. Arrangements are to be made to make the required correction according to the instructions contained in this bulletin. This could be done by mailing to such customers a copy of the customer letter accompanying this bulletin. Campaign follow-up cards should not be used for this purpose, since the customer may not as yet have received the notification letter.

In summary, whenever a vehicle subject to this campaign enters your vehicle inventory, or is in your dealership for service in the future, please take the steps necessary to be sure the campaign correction has been made before selling or releasing the vehicle.

May 2000

Dear General Motors Customer:

General Motors has decided that a defect which relates to motor vehicle safety exists in certain 1990-93 W vehicles. Some of these vehicles operating in high corrosion provinces of Newfoundland, Nova Scotia, Prince Edward Island and New Brunswick, exhibit a condition in which corrosion has caused loss of metal thickness at or near the engine cradle mounts. If sufficient metal thickness is lost, one or both of the front retainer and/or mounts may pull through, or the cradle may fracture forward of the rear mounts. If failures occur at both front or both rear locations, movement of the cradle can cause separation of the steering intermediate shaft. If this happens while the vehicle is moving, a crash could result without prior warning.

Your GM dealer will inspect the cradle assembly and install reinforcement plates. In vehicles where there is sufficient remaining metal thickness at the cradle mounting locations, a new cradle assembly will be installed. This service will be performed for you at no charge .

You may be contacted by a dealer other than the dealer who sold or is currently servicing your vehicle. Please be advised that you may take your vehicle to the General Motors dealership of your choice to have the recall service work completed. Please contact your dealer as soon as possible to arrange a service date.

If parts are required, ask your dealer for details regarding their availability. If parts are not in stock, they can be ordered before scheduling your service date.

This letter identifies your vehicle. Presentation of this letter to your dealer will assist their Service personnel in completing the necessary correction to your vehicle in the shortest possible time.

We are sorry to cause you this inconvenience; however, we have taken this action in the interest of your continued satisfaction with our products.

Customer Support Department

General Motors of Canada Limited