GM Service Manual Online
For 1990-2009 cars only

INFORMATION ON IDENTIFYING POTENTIAL WATERLEAK

SUBJECT: INFORMATION ON IDENTIFYING POTENTIAL WATERLEAK AREAS

MODELS: 1995 PONTIAC GRAND PRIX

********************************************************************** IMPORTANT:

"GM OF CANADA" AND "NAES" DEALERS ARE NOT AUTHORIZED TO UTILIZE THIS SERVICE BULLETIN. **********************************************************************

THE FOLLOWING INFORMATION IS PROVIDED TO ASSIST TECHNICIANS IN BETTER IDENTIFYING POTENTIAL WATERLEAK AREAS ON THE ABOVE LISTED MODEL. WHILE IT IS INTENDED TO BE AN AID IN DIAGNOSIS, IT IS NOT INTENDED TO BE A DETAILED LIST OF ALL AREAS THAT MAY OR MAY NOT HAVE A WATERLEAK. ADDITIONAL INFORMATION ON THESE POTENTIAL AREAS IS AVAILABLE IN THE SERVICE MANUAL SECTIONS OF 10-1 GENERAL INFORMATION, 10-2 STATIONARY WINDOWS, OR 10-6 DOORS.

THE PRODUCTS LISTED IN THIS BULLETIN ARE TAKEN FROM THE TECHNICIAN'S HANDOUT OF "ADHESIVES, SEALERS AND RELATED ITEMS", JULY, 1995 REVISION (ITEM #22009.01-3). FOLLOW THE MANUFACTURER'S DIRECTIONS OF EACH PRODUCT FOR APPLICATION AND DRYING TIMES.

AS ALWAYS, PROPER DIAGNOSIS IS THE KEY TO ANY SUCCESSFUL REPAIR.

- TRIM REMOVAL TO PROVIDE CLEAR VIEWS OF A SUSPECT WATERLEAK AREA IS ESSENTIAL TO MAKING A CORRECT REPAIR THE FIRST TIME.

- WATERTEST THE VEHICLE/AREA BEFORE AND AFTER THE REPAIR.

- A VARIETY OF TEST METHODS IS AVAILABLE FOR USE IN DIAGNOSIS AND INCLUDES VISUAL INSPECTIONS, THE HOSE TEST, BUBBLE TEST, ETC.

- IN GENERAL TERMS, DIRTY OR MUDDY WATER OR RESIDUE WOULD INDICATE AN UNSEALED AREA ON THE UNDERBODY OR WHEELHOUSE AREAS, WHILE CLEAR WATER WOULD INDICATE A LEAK PATH FROM AN UPPER AREA ON THE VEHICLE.

AREA - PASSENGER COMPARTMENT ============================

A. DOOR GLASS RUN CHANNELS TO RUN CHANNEL RETAINERS (PARTICULARLY AT MIRROR MOUNTING AREA):

- RESEAL USING A PUMPABLE SEALER/ADHESIVE SUCH AS 3M(R) #08509 BEDDING AND GLAZING COMPOUND, DOMINION SURE SEAL #9008 BEDDING COMPOUND (CBG) OR EQUIVALENT.

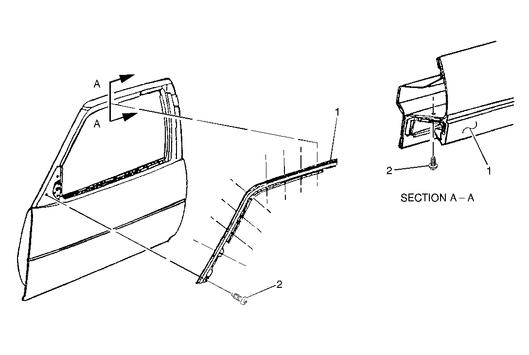
B. DOOR GLASS RUN CHANNEL RETAINERS TO DOOR FRAMES, SEE FIGURE 1, (PARTICULARLY AT MIRROR AND UPPER REAR CORNER OF FRONT DOORS AND BOTH UPPER CORNERS OF REAR DOOR FRAMES):

- SAME PRODUCTS AS "A" ABOVE.

C. REAR WHEELHOUSE INNER/OUTER CENTER SEAM (REAR SEAT/REAR FLOOR AREA):

- RESEAL USING A PUMPABLE SEAM SEALER SUCH AS 3M(R) #08360 OR 61 ULTRA PRO SEAM SEALER, DOMINION SURE SEAL #9005 HIGH TECH SEAM SEALER, KENT #10095, 10130, 10567 HIGH TECH SEAM SEALER OR EQUIVALENT.

AREA - REAR COMPARTMENT =======================

A. WHEELHOUSE CENTER SEAMS OR "OTHER" BODY SEAMS (SEE SHADED AREA IN FIGURE 2):

- RESEAL USING A PUMPABLE SEAM SEALER SUCH AS 3M(R) #08360 OR 61 ULTRA PRO SEAM SEALER, DOMINION SURE SEAL #9005 HIGH TECH SEAM SEALER, KENT #10095, 10130, 10567 HIGH TECH SEAM SEALER OR EQUIVALENT.

FIGURES: 02 ATTACHMENTS: 00

FIGURES 1: 1. WINDOW CHANNEL RETAINER 2. SCREW


Object Number: 82647  Size: FS


Object Number: 82646  Size: FS

GENERAL MOTORS BULLETINS ARE INTENDED FOR USE BY PROFESSIONAL TECHNICIANS, NOT A "DO-IT-YOURSELFER". THEY ARE WRITTEN TO INFORM THOSE TECHNICIANS OF CONDITIONS THAT MAY OCCUR ON SOME VEHICLES, OR TO PROVIDE INFORMATION THAT COULD ASSIST IN THE PROPER SERVICE OF A VEHICLE. PROPERLY TRAINED TECHNICIANS HAVE THE EQUIPMENT, TOOLS, SAFETY INSTRUCTIONS AND KNOW-HOW TO DO A JOB PROPERLY AND SAFELY. IF A CONDITION IS DESCRIBED, DO NOT ASSUME THAT THE BULLETIN APPLIES TO YOUR VEHICLE, OR THAT YOUR VEHICLE WILL HAVE THAT CONDITION. SEE A GENERAL MOTORS DEALER SERVICING YOUR BRAND OF GENERAL MOTORS VEHICLE FOR INFORMATION ON WHETHER YOUR VEHICLE MAY BENEFIT FROM THE INFORMATION.

COPYRIGHT 1996 GENERAL MOTORS CORPORATION. ALL RIGHTS RESERVED.