GM Service Manual Online
For 1990-2009 cars only

INFO.IDENTIFYING POTENTIAL WATERLEAK

SUBJECT: INFORMATION - IDENTIFYING POTENTIAL WATERLEAK AREAS

MODELS: 1997 PONTIAC GRAND PRIX

THE FOLLOWING INFORMATION IS PROVIDED TO ASSIST TECHNICIANS IN BETTER IDENTIFYING POTENTIAL WATERLEAK AREAS ON THE 1997 GRAND PRIX MODELS. WHILE IT IS INTENDED TO BE AN AID IN DIAGNOSIS, IT IS NOT INTENDED TO BE A DETAILED LIST OF ALL AREAS THAT MAY OR MAY NOT HAVE A WATERLEAK. ADDITIONAL INFORMATION ON THESE POTENTIAL AREAS IS AVAILABLE IN THE SERVICE MANUAL SECTIONS OF 10-1 GENERAL INFORMATION, 10-2 STATIONARY WINDOWS OR 10-6 DOORS.

THE PRODUCTS LISTED IN THIS BULLETIN ARE TAKEN FROM THE TECHNICIANS HANDOUT OF "ADHESIVES, SEALERS AND RELATED ITEMS", JULY 1995 REVISION (ITEM #22009.01-3). FOLLOW THE MANUFACTURER'S DIRECTIONS OF EACH PRODUCT FOR APPLICATION AND DRYING TIMES.

AS ALWAYS, PROPER DIAGNOSIS IS THE KEY TO ANY SUCCESSFUL REPAIR.

O TRIM REMOVAL TO PROVIDE CLEAR VIEWS OF A SUSPECT WATERLEAK AREA IS ESSENTIAL TO MAKING A CORRECT REPAIR THE FIRST TIME.

O WATERTEST THE VEHICLE/AREA BEFORE AND AFTER THE REPAIR.

O A VARIETY OF TEXT METHODS IS AVAILABLE FOR USE IN DIAGNOSIS AND INCLUDE VISUAL INSPECTIONS, THE HOSE TEST, BUBBLE TEST, ETC.

O IN GENERAL TERMS, DIRTY OR MUDDY WATER OR RESIDUE WOULD INDICATE AN UNSEALED AREA ON THE UNDERBODY OR WHEELHOUSE AREAS, WHILE CLEAR WATER WOULD INDICATE A LEAK PATH FROM AN UPPER AREA ON THE VEHICLE.

LOCATION AND REPAIRS FOR POSSIBLE WATERLEAKS ARE:

CONDITION 1: WATERLEAK FRONT FLOOR AREA POSSIBLE MIGRATION TO REAR FLOOR.

A. WATER LEAKING FROM BOTTOM OF THE HVAC BLOWER MOTOR PASSENGER FLOOR. TWO (2) POSSIBLE CONDITIONS -

- HVAC PLENUM WATER DEFLECTOR (FIGURE 1) MAY BE PARTIALLY INSTALLED ON CENTER ATTACHMENT. RESEAL THE PERIMETER OF THE PLENUM WATER DEFLECTOR USING ONE OF THE PUMPABLE SEALERS LISTED LATER IN THIS BULLETIN. IF THE PLENUM WATER DEFLECTOR WAS NOT INSTALLED ON THE CENTER ATTACHMENT AND/OR INSTALLED INCORRECTLY TO THE OPENING, THEN THE PLENUM WATER DEFLECTOR MUST BE REPLACED. FOLLOW THE PLENUM WATER DEFLECTOR REPLACEMENT PROCEDURE LISTED LATER IN THIS BULLETIN.

- WATER DEFLECTOR (FIGURE 1) LOOSE AT BASE OF WINDSHIELD RIGHT SIDE ABOVE HVAC PLENUM WATER DEFLECTOR. REINSTALL DEFLECTOR AND PROPERLY SECURE.

B. DOOR HINGE BOLTS LEAKING INTO DRIVER'S AND/OR PASSENGER FLOOR AREA. SEAL PERIMETER OF HINGE TO BODY AND BOLT HEADS (FIGURE 2) USING ONE OF THE PUMPABLE SEALERS LISTED LATER IN THIS BULLETIN.

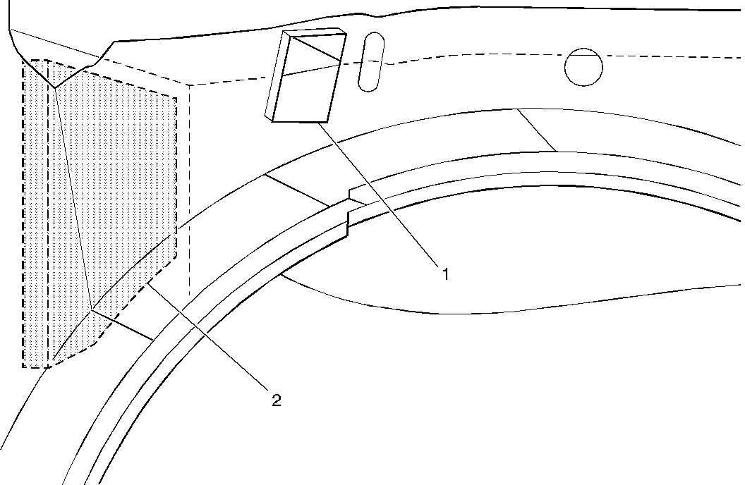
C. SEALING PATCH INSIDE UPPER RIGHT SIDE ENGINE COMPARTMENT RAIL MAY BE LEAKING INTO PASSENGER FLOOR AREA (FIGURE 3). REMOVE RIGHT FRONT FENDER FOLLOWING THE PROCEDURES IN SECTION 10-5 OF THE SERVICE MANUAL. ACCES AND SEAL THE INNER RAIL SEALING PATCH FROM THE FRONT SIDE HOLE (FIGURE 3) USING ONE OF THE PUMPABLE SEALERS LISTED LATER IN THIS BULLETIN.

D. FENDER BRACKET AT HINGE PILLAR MAY BE LEAKING INTO DRIVER'S AND/OR PASSENGER FLOOR AREA. LOOSEN INNER FENDER LINER FOLLOWING THE PROCEDURES IN SECTION 10-5 OF THE SERVICE MANUAL AND SEAL BRACKET AREA USING ONE OF THE PUMPABLE SEALERS LISTED LATER IN THIS BULLETIN.

CONDITION 2: WATER LEAK REAR FLOOR, UNDER REAR SEAT AREA AND/OR REAR COMPARTMENT.

A. REAR WHEELHOUSE INNER/OUTER FRONT CENTER SEAM AND STRUT REINFORCEMENT CAP LEAKING. RESEAL CENTER FRONT WHEELHOUSE SEAM AND REINFORCEMENT CAP FROM INSIDE WHEEL OPENING (FIGURE 4) USING ONE OF THE PUMPABLE SEALERS LISTED LATER IN THIS BULLETIN.

PROCEDURE: PLENUM WATER DEFLECTOR (REPLACE)

1. REMOVE HVAC BLOWER MOTOR FOLLOWING THE PROCEDURES IN SECTION 1B OF THE SERVICE MANUAL. PLACE A PROTECTIVE COVERING OVER THE CARPET UNDER THE BLOWER MOTOR OPENING TO CATCH ANY SEALER THAT MAY DRIP.

2. REMOVE AIR INLET GRILLE FOLLOWING THE PROCEDURES IN SECTION 10-2 OF THE SERVICE MANUAL.

3. WEARING SAFETY GLASSES AND GLOVES, CAREFULLY PRY AND BREAK PLENUM WATER DEFLECTOR INTO PIECES AND REMOVE.

4. REMOVE OLD SEALER FROM OPENING USING A PUTTY KNIFE OR EQUIVELANT.

5. PRIOR TO THE SEALER APPLICATION, REMOVE THE PRE-INSTALLED GASKET ON THE WATER DEFLECTOR AND CAREFULLY PRACTICE INSTALLING THE DEFLECTOR TO THE OPENING (DO NOT PUSH DEFLECTOR DOWN ON LOCATION STUDS).

6. APPLY 12 MM (1/2") BEAD OF ONE OF THE PUMPABLE SEALERS LISTED LATER IN THIS BULLETIN TO THE METAL OPENING WHERE THE OLD SEALER WAS REMOVED. A FLAT BLADED TOOL WILL HAVE TO BE USED TO APPLY SEALER TO THE AREA UNDER THE WINDSHIELD.

7. ONCE THE SEALER IS APPLIED, CAREFULLY SLIDE THE WATER DEFLECTOR INTO PLENUM TRYING NOT TO WIPE SEALER FROM OPENING. PLACE WATER DEFLECTOR ON LOCATION STUDS AND FIRMLY PRESS UNTIL A SLIGHT OOZE OUT OF SEALER IS OBTAINED. USING A SMALL BRUSH, SMOOTH OUT ANY EXCESS SEALER AROUND THE PERIMETER OF THE PLENUM WATER DEFLECTOR. ALSO, REMOVE ANY EXCESS SEALER FROM THE OPENING THAT MAY DRIP THROUGH TO THE CARPET OR ON BLOWER MOTOR AFTER REINSTALLATION.

8. REMOVE ANY DEBRIS (I.E. OLD SEALER) FROM HVAC MODULE BLOWER AREA AND REINSTALL THE BLOWER MOTOR.

PUMPABLE SEAM SEALERS:

3M #08360 OR 61 ULTRA PRO SEAM SEALER, DOMINION SURE SEAL #9005 HIGH TECH SEAM SEALER, KENT #10095, 10130, 10576 HIGH TECH SEAM SEALER OR EQUIVALENT.

PARTS INFORMATION:

P/N DESCRIPTION === ===========

10406519 DEFLECTOR, ASM PLENUM WATER

PARTS ARE CURRENTLY AVAILABLE FROM GMSPO.

WARRANTY INFORMATION:

FOR VEHICLES REPAIRED UNDER WARRANTY, USE:

LABOR OPERATION LABOR NUMBER DESCRIPTION OPERATION TIME =============== =========== ==============

B5410 REAR COMPARTMENT - RESEAL 0.4 HR

C0010 COWL AREA - RESEAL 0.5 HR

B4082 PILLAR, FRONT DOOR HINGE 0.5 HR (BOTH) - RESEAL

D1358 DEFLECTOR, ASM PLENUM WATER - 1.2 HR REPLACE

FIGURES: 04 ATTACHMENT: 00

FIGURE 1: 1. DEFLECTOR, PLENUM WATER (ATTACHES TO BASE OF WINDSHIELD RIGHT SIDE) 2. DEFLECTOR, ASM PLENUM WATER

FIGURE 2: 1. SEALER APPLIED TO PERIMETER OF HINGE AND BOLTS

FIGURE 3: 1. ACCESS HOLE RIGHT FRONT SIDE OUTER ENGINE COMPARTMENT RAIL. 2. SEALING PATCH INSIDE INNER RAIL.

FIGURE 4: 1. SEALER APPLIED TO CENTER FRONT WHEELHOUSE SEAM 2. SEALER APPLIED TO PERIMETER OF STRUT REINFORCEMENT CAP


Object Number: 169801  Size: MF


Object Number: 169802  Size: MF


Object Number: 169803  Size: FS


Object Number: 169804  Size: MF

GENERAL MOTORS BULLETINS ARE INTENDED FOR USE BY PROFESSIONAL TECHNICIANS, NOT A "DO-IT-YOURSELFER". THEY ARE WRITTEN TO INFORM THOSE TECHNICIANS OF CONDITIONS THAT MAY OCCUR ON SOME VEHICLES, OR TO PROVIDE INFORMATION THAT COULD ASSIST IN THE PROPER SERVICE OF A VEHICLE. PROPERLY TRAINED TECHNICIANS HAVE THE EQUIPMENT, TOOLS, SAFETY INSTRUCTIONS AND KNOW-HOW TO DO A JOB PROPERLY AND SAFELY. IF A CONDITION IS DESCRIBED, DO NOT ASSUME THAT THE BULLETIN APPLIES TO YOUR VEHICLE, OR THAT YOUR VEHICLE WILL HAVE THAT CONDITION. SEE A GENERAL MOTORS DEALER SERVICING YOUR BRAND OF GENERAL MOTORS VEHICLE FOR INFORMATION ON WHETHER YOUR VEHICLE MAY BENEFIT FROM THE INFORMATION.

COPYRIGHT 1997 GENERAL MOTORS CORPORATION. ALL RIGHTS RESERVED.