GM Service Manual Online
For 1990-2009 cars only

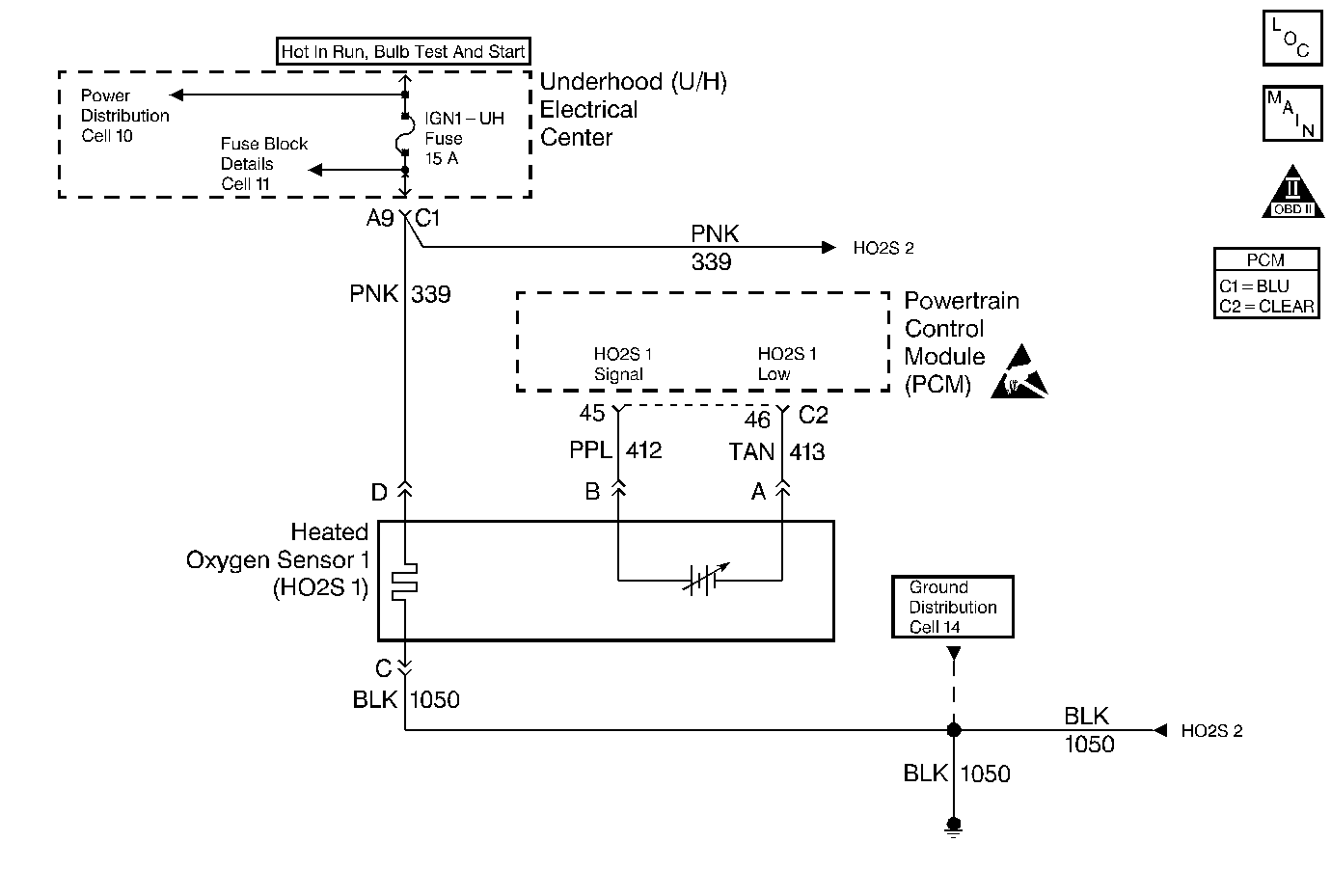
Object Number: 106826  Size: MF
Engine Controls Components
Engine Data Sensors-HO2S #1, HO2S #2
OBD II Symbol Description Notice
Handling ESD Sensitive Parts Notice

Circuit Description

The PCM supplies a bias voltage of about 450 mV between the HO2S signal and low circuits. When measured with a 10 megaohm digital voltmeter, this may display as low as 350 mV. The oxygen sensor varies the voltage within a range of about 1000 mV when the exhaust is rich, down through about 100 mV when exhaust is lean. The PCM constantly monitors the HO2S signal during closed loop operation and compensates for a rich or lean condition by decreasing or increasing injector pulse width as necessary. If the HO2S 1 voltage remains excessively low for an extended period of time, DTC P0131 will be set.

Conditions for Setting the DTC

    • No active misfire, fuel injector circuit, TP sensor, EVAP, IAT sensor, MAP sensor, Fuel trim, EGR, ECT sensor, MAF sensor or CKP sensor DTC(s) present.
    • Closed loop commanded air/fuel ratio is between 14.4 and 14.9.
    • Throttle angle is between 5% and 40%.
    • HO2S 1 signal voltage remains below 300 mV during normal closed loop operation.

OR

    • HO2S 1 signal voltage remains below 300 mV during power enrichment mode fuel control operation.
    • Either condition for up to 5 seconds.

Action Taken When the DTC Sets

    • The PCM will illuminate the malfunction indicator lamp (MIL) during the second consecutive trip in which the diagnostic test has been run and failed.
    • The PCM will store conditions which were present when the DTC set as Freeze Frame and Failure Records data.

Conditions for Clearing the MIL/DTC

    • The PCM will turn OFF the MIL during the third consecutive trip in which the diagnostic has been run and passed.
    • The History DTC will clear after 40 consecutive warm-up cycles have occurred without a malfunction.
    • The DTC can be cleared by using the scan tool.

Diagnostic Aids

Check for the following conditions:

    • Heated oxygen sensor wiring. The sensor pigtail may be routed incorrectly and contacting the exhaust system.
    • Poor PCM to engine block grounds.
    • Fuel pressure. The system will go lean if pressure is too low. The PCM can compensate for some decrease. However, if fuel pressure is too low, a DTC P0131 may be set. Refer to Fuel System Diagnosis.
    • Lean injector(s). Perform Injector Balance Test.
    • Vacuum leaks. Check for disconnected or damaged vacuum hoses and for vacuum leaks at the intake manifold, throttle body, EGR system, and crankcase ventilation system.
    • Exhaust leaks. An exhaust leak may cause outside air to be pulled into the exhaust gas stream past the HO2S, causing the system to appear lean. Check for exhaust leaks that may cause a false lean condition to be indicated.
    • MAF sensor. Disconnect the MAF sensor and see if the lean condition is corrected. If so, replace MAF sensor.
    • Fuel contamination. Water, even in small amounts, can be delivered to the fuel injectors. The water can cause a lean exhaust to be indicated. Excessive alcohol in the fuel can also cause this condition. Refer to Fuel System Diagnosis for procedure to check for fuel contamination.

If none of the above conditions are present, replace the affected HO2S.

Test Description

The numbers below refer to the step numbers on the Diagnostic Table:

  1. DTC P0131 failing during power enrichment operation may indicate a condition described in the Diagnostic Aids above. If the DTC P0131 test passes while the Fail Records conditions are being duplicated, an intermittent condition is indicated. Reviewing the Fail Records vehicle mileage since the diagnostic test last failed may help determine how often the condition that caused the DTC to be set occurs. This may assist in diagnosing the condition.

  2. This vehicle is equipped with a PCM which utilizes an Electrically Erasable Programmable Read Only Memory (EEPROM). When the PCM is being replaced, the new PCM must be programmed. Refer to PCM Replacement and Programming Procedures in Powertrain Control Module (PCM) and Sensors.

Step

Action

Value(s)

Yes

No

1

Was the Powertrain On-Board Diagnostic Check performed?

--

Go to Step 2

Go to Powertrain On Board Diagnostic (OBD) System Check

2

  1. Engine at operating temperature, operate vehicle within parameters specified under Conditions for Setting the DTC criteria included in Diagnostic Support.
  2. Monitor HO2S 1 voltage display on the scan tool HO2S data list.

Does the HO2S 1 voltage remain below the specified value?

300 mV

Go to Step 4

Go to Step 3

3

  1. Ignition ON engine OFF, review and record scan tool Fail Records data and note parameters.
  2. Operate vehicle within Fail Records conditions as noted.
  3. Using a scan tool, monitor SPECIFIC DTC info for DTC P0131 until the DTC P0131 test runs.

Note test result does scan tool indicate DTC P0131 failed this ignition?

--

Go to Step 4

Refer to Diagnostic Aids

4

Disconnect HO2S 1 and jumper the HO2S 1 low circuit (PCM side) to ground.

Does scan tool indicate HO2S 1 voltage near the specified value?

450 mV

Refer to Diagnostic Aids

Go to Step 5

5

Turn off the ignition, disconnect the PCM, and check the HO2S 1 signal circuit for a short to ground or a short to the sensor ground circuit.

Is the HO2S 1 signal circuit shorted?

--

Go to Step 6

Go to Step 7

6

Repair the HO2S 1 signal circuit. Refer to Heated Oxygen Sensor (O2S) Repair in Repair Procedures Electrical Diagnosis section.

Is action complete?

--

Go to Step 8

--

7

Replace the PCM.

Important: Replacement PCM must be programmed. Refer to Powertrain Control Module Replacement/Programming .

Is action complete?

--

Go to Step 8

--

8

  1. Ignition ON engine OFF, review and record scan tool Fail Records data.
  2. Clear DTCs.
  3. Operate vehicle within Fail Records conditions as noted.
  4. Using a scan tool, monitor SPECIFIC DTC info for DTC P0131 until the DTC P0131 test runs.

Note test result does scan tool indicate DTC P0131 failed this ignition?

--

Go to Step 2

Repair complete