GM Service Manual Online
For 1990-2009 cars only

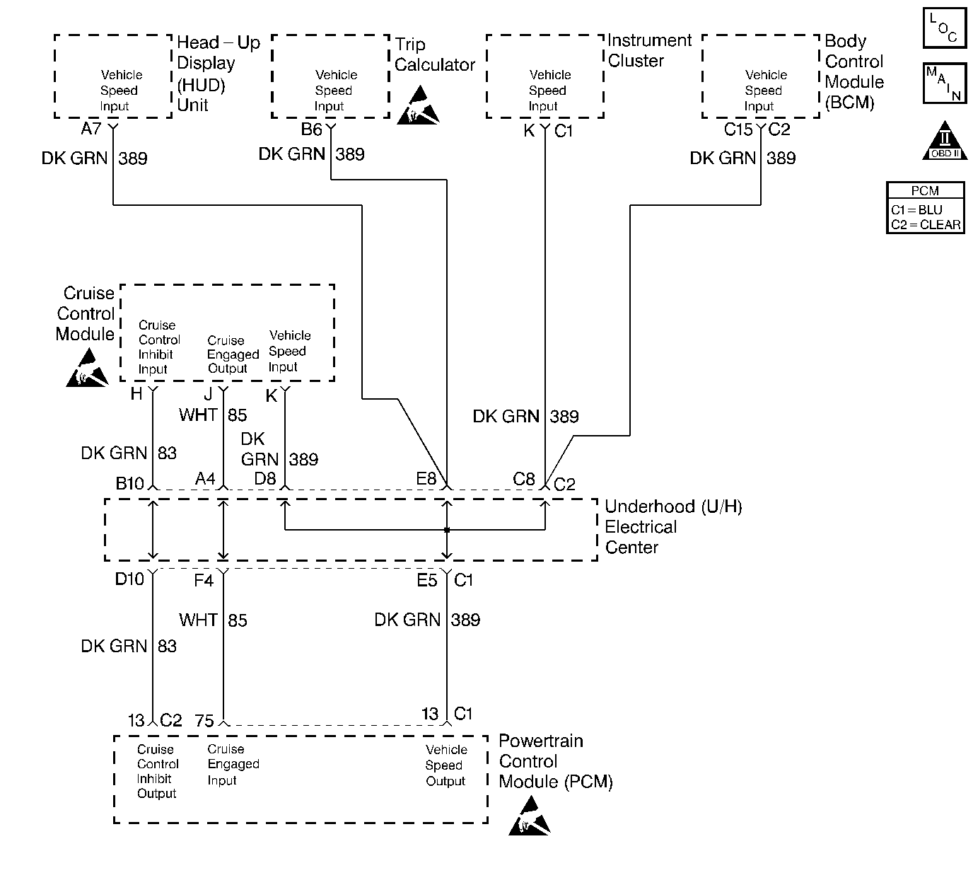
Object Number: 104963  Size: LF
Vehicle Speed Sensor, Cruise
OBD II Symbol Description Notice

Circuit Description

The PCM has the ability to disable cruise control if conditions are detected which would make cruise control operation undesirable. The following conditions may cause cruise control to be inhibited by the PCM:

    • Engine not running long enough for cruise control operation.
    • Transaxle range switch indicates park, neutral, low, or reverse gear selected.
    • Engine speed is too high or too low.
    • Vehicle speed is too high or too low.
    • ABS system is active for longer than 2 seconds.
    • Vehicle acceleration or deceleration rate is too high.

If any of these conditions are present, the PCM will interrupt the ground on the cruise inhibit circuit to request that cruise control be disengaged. If the cruise status signal indicates that cruise control is still engaged while the PCM is inhibiting cruise control operation, DTC P1554 will be set.

Conditions for Setting the DTC

    • The PCM is commanding the SMCC module to inhibit cruise control operation (Cruise Inhibit circuit not grounded).
    • The Cruise Status circuit signal indicates that cruise control is engaged.
    • The above conditions are present for longer than 1 second.

Action Taken When the DTC Sets

    • The PCM will not illuminate the Malfunction Indicator Lamp (MIL).
    • The PCM will store conditions which were present when the DTC set as Fail Records data only. This information will not be stored as Freeze Frame data.

Conditions for Clearing the MIL/DTC

    • A history DTC will clear after 40 consecutive warm-up cycles have occurred without a malfunction.
    • DTC can be cleared by using the scan tool Clear Info function or by disconnecting the PCM battery feed.

Diagnostic Aids

Check for the following conditions:

    • Poor connection at the PCM. Inspect harness connectors for backed out terminals, improper mating, broken locks, improperly formed or damaged terminals, and poor terminal to wire connection.
    • Damaged harness. Inspect the wiring harness for damage.
    • If the harness appears to be OK, observe the Cruise Status display on the scan tool while moving connectors and wiring harnesses related to the Stepper Motor Cruise Control module. A change in the display will indicate the location of the malfunction.

If DTC P1554 cannot be duplicated, the information included in the Failure records data can be useful in determining how many ignition cycles have passed since the DTC was last set.

Test Description

Number(s) below refer to the step number(s) on the Diagnostic Table.

  1. This vehicle is equipped with a PCM which utilizes an Electrically Erasable Programmable Read Only Memory (EEPROM). When the PCM is being replaced, the new PCM must be programmed.

DTC P1554 - Cruise Control Status Circuit

Step

Action

Value(s)

Yes

No

1

Was the Powertrain On-Board Diagnostic (OBD) System Check performed?

--

Go to Step 2

Go to the Powertrain On Board Diagnostic (OBD) System Check

2

Is DTC P1662 also set?

--

Go to DTC P1662 Cruise Control Inhibit Output Circuit

Go to Step 3

3

  1. Turn OFF the ignition switch.
  2. Disconnect the cruise control module.
  3. Turn ON the ignition switch.
  4. Using a J 39200 digital multimeter, measure voltage between the cruise status circuit at the cruise control module harness connector and ground.

Is voltage greater than the specified value?

7V

Go to Step 4

Go to Step 5

4

  1. Turn OFF the ignition switch.
  2. Reconnect the cruise control module.
  3. Disconnect the PCM.
  4. Turn ON the ignition switch.
  5. Probe the cruise engaged status circuit at the PCM harness connector with a test light to B+.

Is the test light ON?

--

Go to Step 6

Go to Step 7

5

  1. Check the cruise status circuit for an open or short to ground.
  2. If a problem is found, repair the cruise status circuit. Refer to Repair Procedures in Electrical Diagnosis.

Was a problem found?

--

Go to Step 8

Go to Step 7

6

Replace the cruise control module. Refer to On-Vehicle Service in Cruise Control.

Is action complete?

--

Go to Step 9

--

7

Replace the PCM.

Important:: The replacement PCM must be programmed. Refer to Powertrain Control Module Replacement/Programming .

Is action complete?

--

Go to Step 9

--

8

Locate and repair short to ground in the cruise engaged status circuit. Refer to Repair Procedures in Electrical Diagnosis.

Is action complete?

--

Go to Step 9

--

9

  1. Clear DTC P1554.
  2. Start the engine and observe DTC(s).

Did DTC P1554 set?

--

Go to Step 2

System OK