GM Service Manual Online
For 1990-2009 cars only

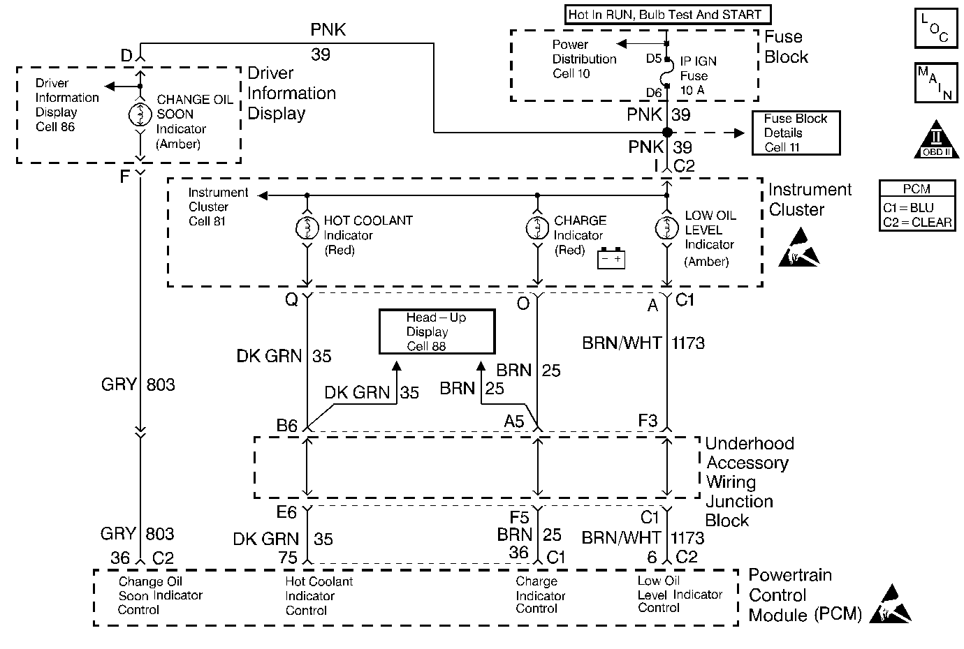
Powertrain Control Module Controlled Warning Lamps Diagnosis Pontiac


Object Number: 240272  Size: MF
Indicators and Gauges
Engine Controls Component Views
Handling ESD Sensitive Parts Notice
Handling ESD Sensitive Parts Notice
OBD II Symbol Description Notice

Circuit Description

The PCM controlled lamps are powered through the IGN 1 fuse. The PCM energizes the the bulb, LED, or driver information center indicator by supplying a path to ground through the PCM.

Conditions which will illuminate each lamp are as follows:

    •  Low Oil Level Lamp - When the ignition is first turned ON, the PCM commands the Low Oil Level Lamp ON for a brief period of time to test the bulb. The PCM also checks the engine oil level using the Engine Oil Level Switch input. The PCM determines whether or not to test for low oil level based on the difference between engine coolant temperature at the last shutdown and engine coolant temperature at startup. This is to ensure that the oil has drained back into the sump before testing. To test for low oil level at startup, one of the following conditions must be present:
       - If the engine coolant temperature was between 15°C (59°F) and 130°C (266°F) at the last key OFF, the engine coolant termperature at key ON must be at least 12°C (22°F) cooler than the engine coolant temperature at the last key OFF.
       - If the engine coolant termperature was higher than 82°C (180°F) at the last key OFF, the time between last key OFF and the present key ON must be sufficient to allow the oil to drain back to the sump. The PCM will remian powered up for 10 seconds to ensure that the oil has drained back to the sump. If the key is turned back ON while the PCM is still powered up, the oil level will not be tested.
    • Generator Lamp - The PCM supplies battery voltage to the generator's internal regulator (generator terminal L). When a fault in the Charging System occurs, the internal regulator grounds the L terminal voltage and the PCM commands the generator lamp ON. The PCM will command the generator lamp ON when the following condition(s) are present:
       - Engine speed is above 1200 RPM and system voltage is below 10 volts for at least 10 seconds.
       - The PCM detects a low voltage condition on the generator's L terminal for at least 10 seconds.
       - Engine speed is between 1000 and 1300 RPM and the generator's F terminal duty cycle remains above 95% for 60 seconds.
       - OR
       - Engine speed is between 1000 and 1300 RPM and the generator's F terminal duty cycle remains below 5% for 30 seconds.
    • Hot Coolant Lamp - The PCM will command the hot coolant lamp on when engine coolant temperature raises above 124°C (255°F). The PCM will turn the hot coolant lamp OFF when engine coolant temperature decreases to below 121°C (248°F).
    • Change Oil Lamp - The PCM commands the Oil Life Monitor lamp On when an oil change is required. The PCM calculates remaining oil life based on total engine revolutions and calculated engine oil temperature for each startup since the Oil Life monitor was reset.

Diagnostic Aids

A PCM controlled lamp ON at all times most likely indicates that a condition is present which requires the attention of the vehicle operator.

Check for the following conditions:

    • Poor connection at PCM. Inspect harness connectors for backed out terminals, improper mating, broken locks, improperly formed or damaged terminals, and poor terminal to wire connection.
    • Damaged harness. Inspect the wiring harness for damage. If the harness appears to be OK, disconnect the PCM and turn the ignition ON . Observe a voltmeter connected to the affected PCM output circuit while moving connectors and wiring harnesses related to the PCM output circuit. A change in voltage will indicate the location of the fault.
    • Engine Oil Level Switch circuit: Use the Engine Oil Level Sensor and/or Switch Diagnosis .

Test Description

Number(s) below refer to the step number(s) on the Diagnostic Chart.

  1. Normally, ignition feed voltage should be present on the output control circuit with the PCM disconnected and the ignition turned ON.

  2. Checks for a shorted component or a short to B+ on the output control circuit. Either condition would result in a measured current of over 1.5 amps. Also checks for a component that is going open while being operated, resulting in a measured current of 0 amps.

  3. Checks for a malfunctioning instrument cluster.

  4. This vehicle is equipped with a PCM which utilizes an Electrically Erasable Programmable Read Only Memory (EEPROM). When the PCM is being replaced, the new PCM must be programmed.

PCM Controlled Lamps

Step

Action

Value(s)

Yes

No

1

Was the Powertrain On-Board Diagnostic (OBD) System Check performed?

--

Go to Step 2

Go to the Powertrain On Board Diagnostic (OBD) System Check

2

Was the Instrument Cluster System check in Electrical Diagnosis performed?

--

Go to Step 3

Go to Instrument Cluster System Check in Instrument Panel, Gauges and Console

3

  1. Turn OFF the ignition switch.
  2. Disconnect the PCM.
  3. Turn ON the ignition switch.
  4. Using a J 39200 Digital Multimeter, measure voltage between the affected PCM output circuit at the PCM harness connector and ground.

Is voltage near the specified value?

B+

Go to Step 4

Go to Step 7

4

  1. Set the digital multimeter to the 10 amp scale and install the digital multimeter to measure current between the affected PCM output circuit and ground.
  2. Monitor the current reading on the digital multimeter for at least 2 minutes.

Does the current reading remain between the specified values?

0.05 Amp-1.5 Amps

Go to Step 12

Go to Step 5

5

  1. Disconnect the instrument panel cluster (Driver Information Center for the Change Oil Lamp).
  2. Leave the PCM disconnected.
  3. Measure voltage between the affected PCM output circuit and ground.

Is voltage at the specified value?

0V

Go to Step 15

Go to Step 6

6

Locate and repair the short to voltage in the affected PCM output circuit. Refer to Wiring Repairs in Wiring Systems.

Is action complete?

--

Go to Step 17

--

7

Check the ignition feed fuse for the instrument panel cluster/Driver Information Center indicator lamps.

Is the fuse blown?

--

Go to Step 8

Go to Step 9

8

  1. Locate and repair the short to ground in the ignition feed circuit for the instrument panel cluster/Driver Information Center indicator lamps. Refer to Fuse Block Schematics in Wiring Systems.
  2. Replace the fuse.

Is action complete?

--

Go to Step 17

--

9

  1. Disconnect the instrument panel cluster (Driver Information Center for the Change Oil Lamp).
  2. Turn ON the ignition switch.
  3. Measure voltage between the ignition feed circuit for the indicator lamps and ground.

Is voltage near the specified value?

B+

Go to Step 10

Go to Step 14

10

  1. Check the affected lamp control circuit for an open or a short to ground.
  2. If a problem is found repair as necessary. Refer to Wiring Repairs in Wiring Systems.

Was a problem found?

--

Go to Step 17

Go to Step 11

11

  1. Check the affected lamp control circuit and the ignition feed circuit for a poor connection at the instrument panel cluster/Driver Information Center or at the PCM.
  2. If a problem is found, replace the terminal(s). Refer to Wiring Repairs in Wiring Systems.

Was a problem found?

--

Go to Step 17

Go to Step 15

12

  1. Turn OFF the ignition switch.
  2. Reconnect the PCM and disconnect the instrument panel cluster (Driver Information Center for the Change Oil Lamp).
  3. Turn ON the ignition switch.
  4. Connect a test light between the affected PCM output circuit and the ignition feed circuit at the instrument panel cluster/Driver Information Center harness connector.
  5. Using the scan tool outputs test function, cycle the affected lamp ON and OFF.

Does the test light flash ON and OFF?

--

Go to Diagnostic Aids

Go to Step 13

13

  1. Check the affected lamp control circuit for a poor connection at the PCM.
  2. If a problem is found, replace the terminal. Refer to Wiring Repairs in Wiring Systems.

Was a problem found?

--

Go to Step 17

Go to Step 16

14

Locate and repair open in the ignition feed circuit to the indicator lamps. Refer to Wiring Repairs in Wiring Systems.

Is action complete?

--

Go to Step 17

--

15

Replace the instrument panel cluster (Driver Information Center for the Change Oil Lamp). Refer to Instrument Cluster Replacement in Instrument Panel, Gages and Console.

Is action complete?

--

Go to Step 17

--

16

Important: Replacement PCM must be programmed. Refer to Powertrain Control Module Replacement/Programming .

Replace the PCM. Refer to Powertrain Control Module Replacement/Programming

Is action complete?

--

Go to Step 17

--

17

Operate the affected lamp using the scan tool output tests function.

Does the affected lamp operate properly?

--

System OK

Go to Step 3