GM Service Manual Online
For 1990-2009 cars only
Figure 1:

Engine Composite View (3100 VIN M)


Object Number: 215896  Size: LF
(1)Fuel Injector 10-way Electrical Connector
(2)Upper Intake Manifold
(3)MAP Sensor
(4)Ignition Module/Coil Assembly
(5)EGR Valve
(6)Fuel Feed and Return Pipes
(7)Throttle Body Assembly
(8)ECT Sensor
(9)Engine Oil Pressure Switch
(10)Knock Sensor
(11)PCV Valve
(12)Fuel Pressure Regulator
Figure 2:

Engine Composite View (3100 VIN M)


Object Number: 215897  Size: LF
(1)Intake Manifold
(2)Secondary Ignition (Spark Plug) Wires
(3)Ignition Coils
(4)EVAP Purge Valve
(5)HO2S1
(6)EGR Valve
(7)Fuel Feed and Return Pipes
(8)TP Sensor
(9)Throttle Body
(10)IAC Valve
Figure 3:

Ignition Module, HO2S1, TP Sensor, EGR and IAC Valve


Object Number: 181125  Size: MF
(1)Ignition Wires
(2)Ignition Control Module
(3)Heated Oxygen Sensor 1 (HO2S1)
(4)Exhaust Gas Recirculation (EGR) Valve
(5)Throttle Position (TP) Sensor
(6)Idle Air Control (IAC) Valve
Figure 4:

IAT, MAF Sensor


Object Number: 181268  Size: SF
(1)Intake Air Temperature (IAT) Sensor
(2)Mass Air Flow (MAF) Sensor
Figure 5:

Heated Oxygen Sensor 1 (HO2S1)


Object Number: 181275  Size: SF
(1)Heated Oxygen Sensor 1 (HO2S1)
Figure 6:

Heated Oxygen Sensor 1 (HO2S1), Heated Oxygen Sensor 2 (HO2S2)


Object Number: 181276  Size: SF
(1)Heated Oxygen Sensor 1 (HO2S1)
(2)Heated Oxygen Sensor 2 (HO2S2)
Figure 7:

EVAP Canister


Object Number: 181317  Size: MF
(1)EVAP Canister Mounting Bracket
(2)EVAP Canister
Figure 8:

EVAP Canister and Vent Valve


Object Number: 181298  Size: MF
(1)EVAP Canister Vent Hose
(2)EVAP Vent Valve
(3)EVAP Canister
Figure 9:

Fuel Injector Harness 10-Way Connector, EVAP Purge Valve


Object Number: 181300  Size: MF
(1)Fuel Injector Harness 10-Way Connector
(2)EVAP Purge Valve
Figure 10:

Exhaust Gas Recirculation (EGR) Valve


Object Number: 181274  Size: SF
(1)Exhaust Gas Recirculation (EGR) Valve
Figure 11:

A/C Referigerant Pressure Sensor


Object Number: 181120  Size: SF
(1)A/C Referigerant Pressure Sensor
Figure 12:

Powertrain Control Module (PCM) Harness


Object Number: 181294  Size: SF
(1)Powertrain Control Module (PCM) Harness
Figure 13:

Powertrain Control Module (PCM)/Air Cleaner Assembly


Object Number: 181295  Size: MF
(1)Air Cleaner Cover
(2)Powertrain Control Module (PCM)/Air Cleaner Assembly
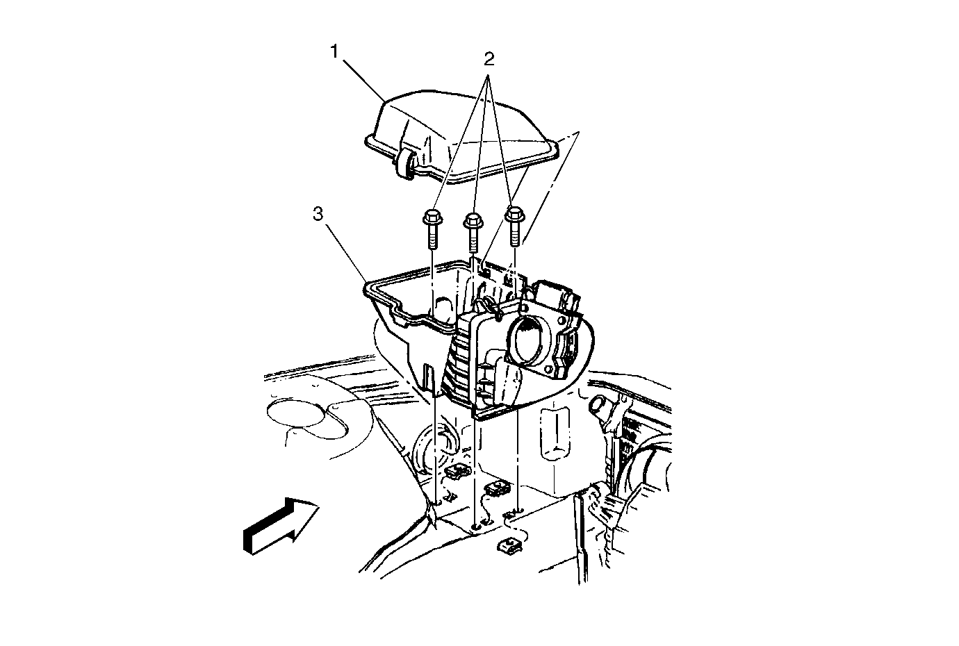
Figure 14:

Air Cleaner Assembly


Object Number: 181297  Size: MF
(1)Air Cleaner Cover
(2)Air Cleaner Assembly Retainer Bolts
(3)Air Cleaner Housing
Figure 15:

Engine Cooling Fans, Cooling Fans Harness


Object Number: 181273  Size: SF
(1)Engine Cooling Fans
(2)Engine Cooling Fan Jumper Harness
Figure 16:

Engine Oil Level Switch


Object Number: 181269  Size: SF
(1)Engine Oil Level Switch
Figure 17:

Engine Coolant Level Indicator Module


Object Number: 181272  Size: SF
(1)Engine Coolant Level Indicator Module
Figure 18:

Trans Range Switch


Object Number: 181277  Size: SF
(1)Trans Range Switch
Figure 19:

Vehicle Speed Sensor (VSS)


Object Number: 181271  Size: SF
(1)Vehicle Speed Sensor (VSS)