GM Service Manual Online
For 1990-2009 cars only

Removal Procedure

Tools Required

    • J 28467-B Engine Support Fixture
    • J 28467-90 Engine Support Fixture Adapters
    • J 36462 Engine Support Fixture Adapter Leg Set

    Caution: Unless directed otherwise, the ignition and start switch must be in the OFF or LOCK position, and all electrical loads must be OFF before servicing any electrical component. Disconnect the negative battery cable to prevent an electrical spark should a tool or equipment come in contact with an exposed electrical terminal. Failure to follow these precautions may result in personal injury and/or damage to the vehicle or its components.

  1. Disconnect the negative battery cable.
  2. Remove the front seats. Refer to Seat Replacement in Seats.
  3. Remove the center console, as equipped. Refer to Console Replacement - Front Floor in Instrument Panel, Gauges and Console.
  4. Remove the sound insulators.
  5. Peel back the following components from the repair area:
  6. • The carpet
    • The pad
  7. Remove the following components as needed:
  8. • The sealers
    • The sound deadening materials
    • The corrosion materials

    Object Number: 291409  Size: SH
  9. Locate the area where the frame crossmember nut will be moved.
  10. Important: Do not cut or damage the adjacent panels or reinforcements.

  11. Cut an access panel using a cutoff wheel.

  12. Object Number: 319200  Size: SH
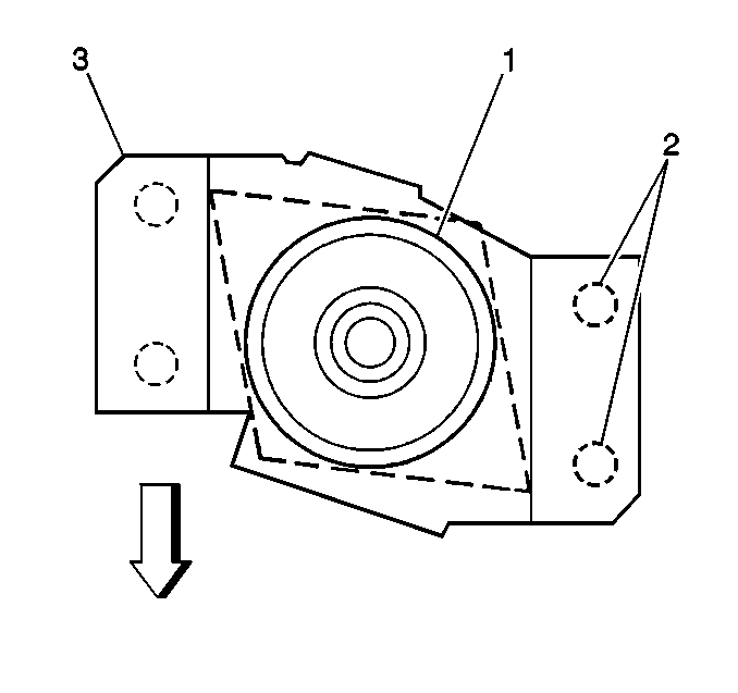
  13. Lift the panel upward in order to gain access to the frame crossmember nut (1).
  14. Remove the frame bolt from the damaged frame crossmember nut (1).

  15. Object Number: 319197  Size: SH

    Important: Do not damage the frame crossmember nut retainer. The retainer will be reused.

  16. Use an air chisel in order to break away the spot weld (2) on one side of the frame crossmember nut retainer.
  17. Lift one side of the frame crossmember nut retainer.
  18. Allow enough clearance in order to remove the frame crossmember nut (1).

  19. Remove the frame crossmember nut (1).

Installation Procedure


    Object Number: 319197  Size: SH
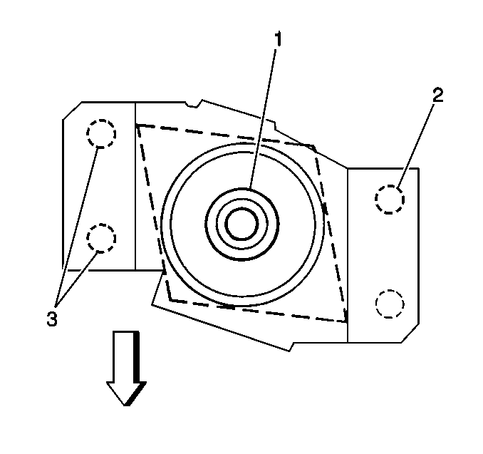
  1. Install the frame crossmember nut (1).
  2. Lower the frame crossmember nut retainer into place. Ensure that the following conditions exist:
  3. • Proper placement of the frame crossmember nut (1)
    • Proper working condition of the frame crossmember nut (1)
  4. Spot weld the frame crossmember nut retainer in the original location.
  5. Clean and prepare the welded surfaces.
  6. Apply corrosion protection.

  7. Object Number: 319200  Size: SH

    Notice: Use the correct fastener in the correct location. Replacement fasteners must be the correct part number for that application. Fasteners requiring replacement or fasteners requiring the use of thread locking compound or sealant are identified in the service procedure. Do not use paints, lubricants, or corrosion inhibitors on fasteners or fastener joint surfaces unless specified. These coatings affect fastener torque and joint clamping force and may damage the fastener. Use the correct tightening sequence and specifications when installing fasteners in order to avoid damage to parts and systems.

  8. Install the new frame bolt to the frame crossmember nut (1).
  9. Tighten
    Tighten the bolt to 180 N·m (133 lb ft).


    Object Number: 291409  Size: SH
  10. Reposition the access panel downward to the original position.
  11. Stitch weld the panel back to the original position using 25 mm welds along the seam. Use 25 mm gaps in between the welds. A solid joint with minimal heat distortion will result. Then continue to finish the stitch weld procedure.
  12. Use a small grinder in order to remove the excess material from the floor panel until the following conditions are met:
  13. • The floor panel is smooth.
    • The floor panel is free from rough edges.
  14. Clean and prepare the welded surfaces.
  15. Apply corrosion protection.
  16. Let the primer dry for approximately 30 minutes. Then apply Dominion Sure Seal P/N 110900 Sound Deadener or the equivalent to the repair area.
  17. Install the sound insulators.
  18. Reposition the carpeting into place.
  19. Install the center console, if equipped. Refer to Console Replacement - Front Floor in Instrument Panel, Gauges and Console.
  20. Install the front seats. Refer to Seat Replacement in Seats.
  21. Apply corrosion protection.
  22. Connect the negative battery cable.