GM Service Manual Online
For 1990-2009 cars only
Makes
🢒
Pontiac
🢒
1998
🢒
Grand Prix
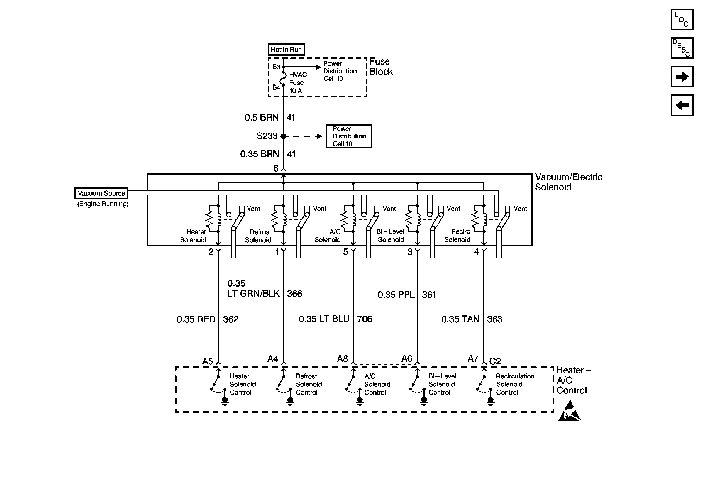
🢒 Cell 65: Vacuum/Electric Solenoid
Cell 65: Vacuum/Electric Solenoid
Cell 65: Vacuum/Electric Solenoid
HVAC Components
HVAC Air Delivery/Temperature Control Circuit Description
Cell 65: Air Delivery System
Cell 65: Heater A/C Control
Handling Electrostatic Discharge Sensitive Parts Notice