GM Service Manual Online
For 1990-2009 cars only

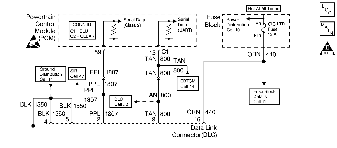
Object Number: 388494  Size: SF
Cell 20: Power, Ground, MIL, and DLC
OBD II Symbol Description Notice
Handling ESD Sensitive Parts Notice

Circuit Description

The Data Link Connector (DLC) allows the scan tool to interface with the PCM. The DLC provides the power and ground circuits to enable the scan tool. The Class II serial data circuit to the DLC allows bi-directional communication between the PCM and the scan tool. If communication between the scan tool and the PCM cannot be established, the procedure in the DLC Diagnosis table should be used to diagnose the condition.

Diagnostic Aids

Check the following items:

    •  For the PCM to establish communication with the scan tool, system voltage must be between 9.0 and 16.0V. If system voltage is not within this range, refer to Charging System Check .
    •  Ensure that the correct application (model year, carline, VIN code) has been selected on the scan tool, if communication still cannot be established try the scan tool on another vehicle to ensure that the scan tool, or cables are not the cause of the condition.

Important: :  Remove any debris from the connector surfaces before servicing a component. Inspect the connector gaskets when diagnosing or replacing a component. Ensure that the gaskets are installed correctly. The gaskets prevent contaminate intrusion.

    •  Poor terminal connection.
         Inspect the harness connectors for backed out terminals, improper mating, broken locks, improperly formed or damaged terminals, and faulty terminal to wire connection. Use a corresponding mating terminal to test for proper tension. Refer to Intermittents and Poor Connections Diagnosis , and Connector Repairs Wiring Systems.
    •  Damaged harness.
         Inspect the wiring harness for damage. If the harness appears to be OK, observe the sensor display on the scan tool while moving connectors and wiring harnesses related to the sensor. A change in the sensor display may indicate the location of the fault. Refer to Wiring Repairs in Wiring Systems.
    •  Inspect the PCM and the engine grounds for clean and secure connections.

If the DTC is determined to be intermittent, reviewing the Fail Records can be useful in determining when the DTC was last set.

Test Description

The number below refers to the step number on the Diagnostic Table:

  1. This vehicle is equipped with a PCM which utilizes an Electrically Erasable Programmable Read Only Memory (EEPROM). When the PCM is being replaced, the new PCM must be programmed.

Step

Action

Value(s)

Yes

No

1

Did you perform the Powertrain On Board Diagnostic (OBD) System Check?

--

Go to Step 2

Go to Powertrain On Board Diagnostic (OBD) System Check

2

  1. Turn the ignition on, and leave the engine off.
  2. Connect a J 35616-200 test lamp between the DLC battery feed and ground circuits.

Is the test lamp on?

--

Go to Step 4

Go to Step 3

3

Probe the DLC battery feed circuit with a J 35616-200 test lamp to chassis ground.

Is the test lamp on?

--

Go to Step 9

Go to Step 10

4

  1. Turn the ignition on, and leave the engine off.
  2. Probe the Class II serial data circuit at the DLC with a J 39200 DMM to ground.

Does the voltage measure the specified value?

0.0V

Go to Step 5

Go to Step 7

5

  1. Turn the ignition off.
  2. Disconnect the PCM.
  3. Turn the ignition on, and leave the engine off.
  4. Probe the Class II serial data circuit at the DLC with a J 39200 DMM connected to battery positive voltage.

Does the voltage measure the specified value?

0.0V

Go to Step 6

Go to Step 8

6

  1. Check the Class II serial data circuit for an open between the DLC and the PCM
  2. If a problem is found, repair as necessary.

Was a problem found?

--

Go to Powertrain On Board Diagnostic (OBD) System Check

Go to Step 11

7

  1. Check the Class II serial data circuit for a short to voltage.
  2. If a problem is found, repair as necessary.

Was a problem found?

--

Go to Powertrain On Board Diagnostic (OBD) System Check

Go to Step 11

8

Locate and repair short to ground in the Class II serial data circuit.

Is the action complete?

--

Go to Powertrain On Board Diagnostic (OBD) System Check

--

9

Locate and repair open in the DLC ground circuit(s).

Is the action complete?

--

Go to Powertrain On Board Diagnostic (OBD) System Check

--

10

Locate and repair open or short to ground in the DLC battery feed circuit.

Is the action complete?

--

Go to Powertrain On Board Diagnostic (OBD) System Check

--

11

Replace the PCM.

Important: :  Replacement PCM must be programmed. Refer to Powertrain Control Module Replacement/Programming .

Is the action complete?

--

Go to Powertrain On Board Diagnostic (OBD) System Check

--