GM Service Manual Online
For 1990-2009 cars only

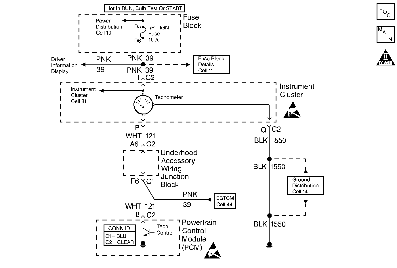
Object Number: 388541  Size: MF
Cell 20: Power, Ground, MIL, and DLC
OBD II Symbol Description Notice
Handling ESD Sensitive Parts Notice
Handling ESD Sensitive Parts Notice

Circuit Description

The PCM supplies the ground to energize the Instrument Cluster tachometer. When the ignition switch is first turned ON the PCM grounds the tachometer circuit. The circuit will remain grounded until the PCM receives the first 24X reference pulse. Once the 24X reference pulse is received, the PCM controls the pulse frequency in relationship to engine RPM. The tachometer is controlled at a rate of two pulses per crankshaft revolution.

Diagnostic Aids

Refer to Instrument Cluster System Check for additional diagnostic information.

Check for the following conditions:

    •  Poor connection at the PCM or instrument cluster. Inspect the harness connectors for backed out terminals, improper mating, broken locks, improperly formed or damaged terminals, and poor terminal to wire connection. Refer to Intermittents and Poor Connections Diagnosis and Connector Repairs and Wiring Repairs .
    •  Damaged harness. Inspect the wiring harness for damage. If the harness appears to be OK, disconnect the PCM, turn the ignition ON and observe voltmeter connected to the tachometer control circuit at the PCM harness connector while moving connectors and wiring harnesses related to the tachometer control circuit. A change in voltage will indicate the location of the fault. Refer to Intermittents and Poor Connections Diagnosis and Connector Repairs and Wiring Repairs .

Test Description

Number(s) below refer to the step number(s) on the Diagnostic Table:

  1. Normally, ignition feed voltage should be present on the output driver circuit with the PCM disconnected and the ignition turned on.

  2. Checks for a shorted component or a short to battery positive voltage on the output driver circuit. Either condition would result in a measured current of over 0.5 amps.

  3. Checks for a faulty instrument cluster.

  4. This vehicle is equipped with a PCM which utilizes an Electrically Erasable Programmable Read Only Memory (EEPROM). When the PCM is being replaced, the new PCM must be programmed. Refer to Powertrain Control Module Replacement/Programming .

PCM Controlled Tachometer Diagnosis

Step

Action

Value(s)

Yes

No

1

Was Instrument Cluster diagnosis in Electrical Diagnosis performed?

--

Go to Step 2

Go to Instrument Cluster System Check

2

Did you perform the Powertrain On Board Diagnostic (OBD) System Check?

--

Go to Step 3

Go to the Powertrain On Board Diagnostic (OBD) System Check

3

  1. Turn off the ignition switch.
  2. Disconnect the PCM.
  3. Turn on the ignition switch.
  4. Using J 39200 DMM, measure voltage between the tachometer control circuit at the PCM harness connector and ground.

Is the voltage near the specified value?

B+

Go to Step 4

Go to Step 7

4

  1. Set up J 39200 DMM to measure 10 amp range.
  2. Measure current between the tachometer control circuit and ground.
  3. Monitor the current reading on the J 39200 DMM for at least 2 minutes.

Does the current reading remain less than the specified value?

0.5 Amp

Go to Step 12

Go to Step 5

5

  1. Disconnect the instrument cluster (leave the PCM disconnected). Refer to Instrument Cluster System Check .
  2. Using J 39200 DMM, measure voltage between the tachometer control circuit and ground.

Is the voltage at the specified value?

0.0V

Go to Step 15

Go to Step 6

6

Locate and repair short to voltage in the tachometer control circuit. Refer to Wiring Repairs .

Is the action complete?

--

Go to Step 17

--

7

Check the ignition feed fuse for the instrument cluster.

Is the fuse blown?

--

Go to Step 8

Go to Step 9

8

  1. Locate and repair the following short condition:
  2. •  Short to ground in ignition feed circuit.
    •  Shorted component. Refer to Wiring Repairs .
  3. Replace the fuse.

Is the action complete?

--

Go to Step 17

--

9

  1. Turn off the ignition switch.
  2. Disconnect the instrument cluster. Refer to Instrument Cluster System Check .
  3. Turn on the ignition switch.
  4. Using J 39200 DMM, measure voltage between the ignition feed circuit for the instrument cluster and ground.

Is the voltage near the specified value?

B+

Go to Step 10

Go to Step 14

10

  1. Check the tachometer control circuit for an open or a short to ground.
  2. If a problem is found, repair the tachometer control circuit. Refer to Wiring Repairs .

Was a problem found?

--

Go to Step 17

Go to Step 11

11

  1. Check the tachometer control circuit and the ignition feed circuit for a poor connection at the instrument cluster and at the PCM.
  2. If a problem is found, replace faulty terminal(s). Refer to Testing for Continuity , Intermittents and Poor Connections Diagnosis , Repairing Connector Terminals , and Connector Repairs .

Was a problem found?

--

Go to Step 17

Go to Step 15

12

  1. Check for poor connections at the PCM.
  2. If a problem is found, repair as necessary. Refer to Testing for Continuity , Intermittents and Poor Connections Diagnosis , Repairing Connector Terminals , and Connector Repairs .

Was a problem found?

--

Go to Step 17

Go to Step 16

13

  1. Check the tachometer control circuit for a poor connection at the PCM.
  2. If a problem is found, replace faulty terminal. Refer to Testing for Continuity , Intermittents and Poor Connections Diagnosis , Repairing Connector Terminals , and Connector Repairs .

Was a problem found?

--

Go to Step 17

Go to Step 16

14

Locate and repair open in ignition feed circuit to the instrument cluster. Refer to Wiring Repairs .

Is the action complete?

--

Go to Step 17

--

15

Replace the instrument cluster. Refer to Instrument Cluster System Check .

Is the action complete?

--

Go to Step 17

--

16

Important: :  Replacement PCM must be programmed. Refer to Powertrain Control Module Replacement/Programming .

Replace the PCM.

Is the action complete?

--

Go to Step 17

--

17

Operate the vehicle while observing the I/P tachometer.

Does the I/P tachometer operate properly?

--

System OK

Go to Instrument Cluster System Check