GM Service Manual Online
For 1990-2009 cars only
Figure 1:

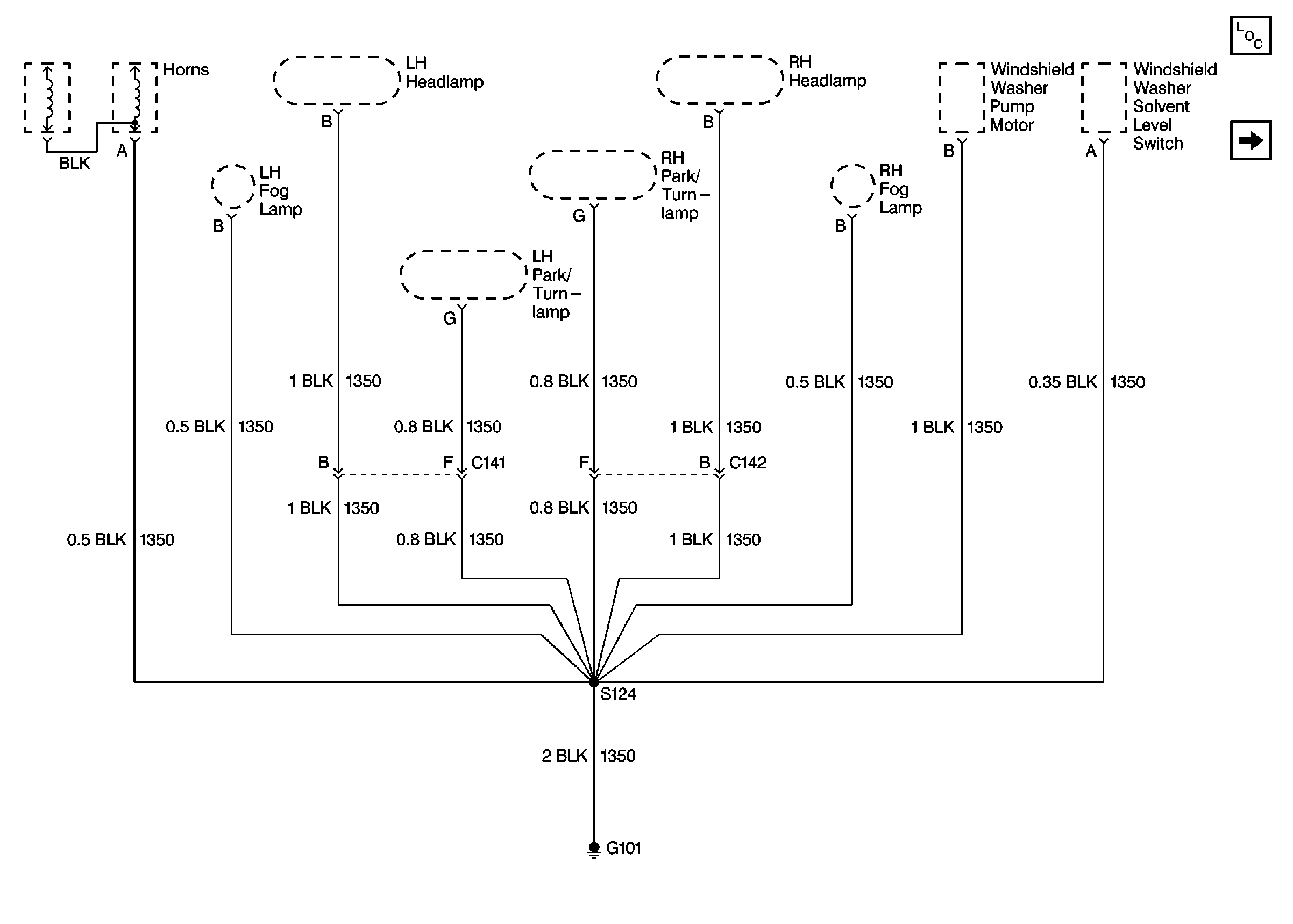
Cell 14: Forward Lamp Grounds G101


Object Number: 325839  Size: FS
Power and Grounding Components
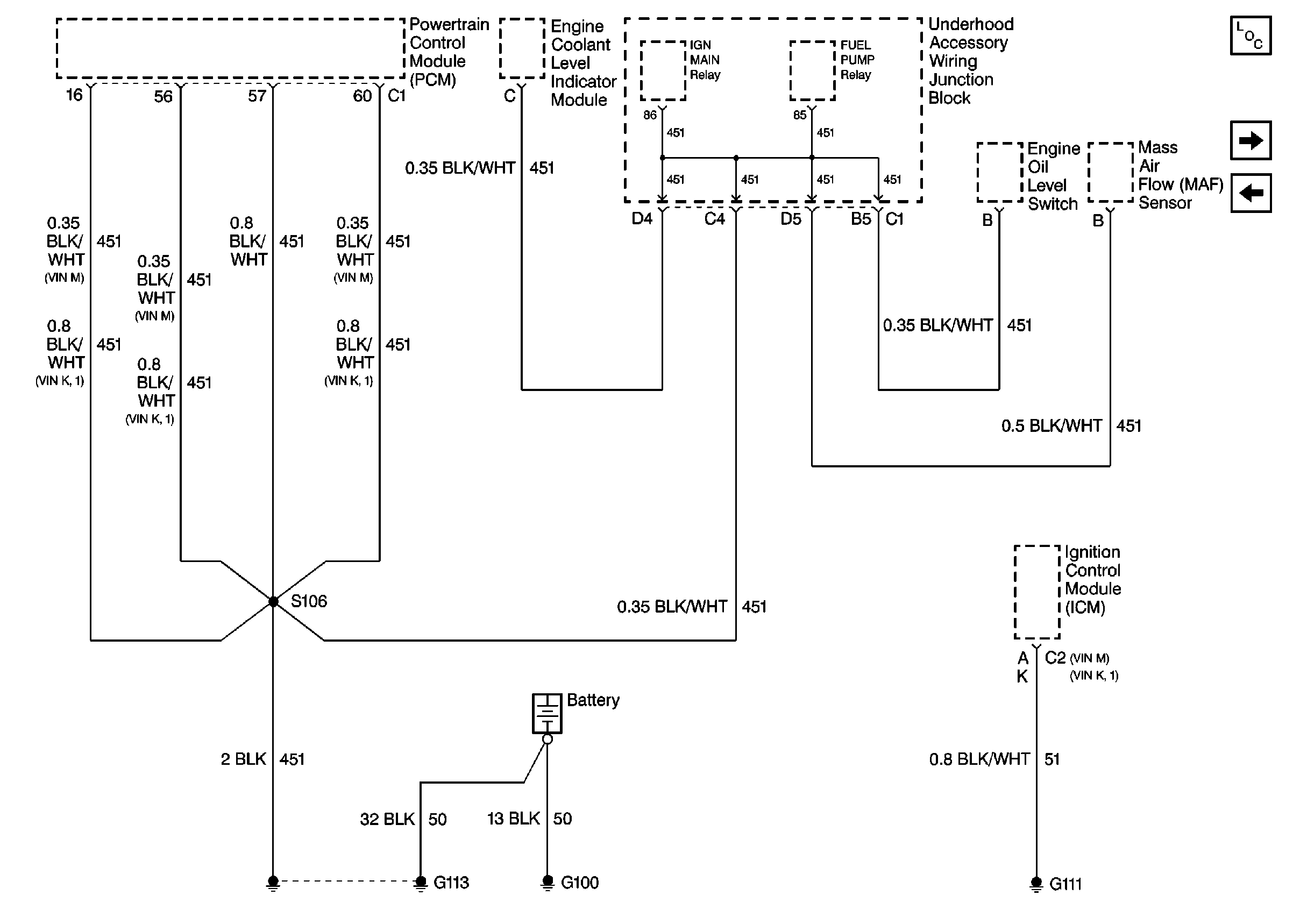
Cell 14: Engine Grounds G100, G111 and G113
Figure 2:

Cell 14: Engine Grounds G100, G111 and G113


Object Number: 325841  Size: FS
Power and Grounding Components
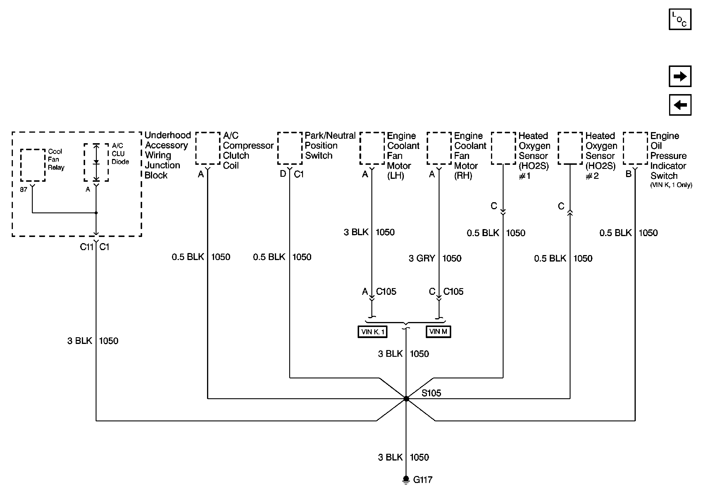
Cell 14: Engine Ground G117
Cell 14: Forward Lamp Grounds G101
Figure 3:

Cell 14: Engine Ground G117


Object Number: 325844  Size: FS
Power and Grounding Components
Cell 14: Engine Compartment Ground G119
Cell 14: Engine Grounds G100, G111 and G113
Figure 4:

Cell 14: Engine Compartment Ground G119


Object Number: 325846  Size: FS
Power and Grounding Components
Cell 14: RH I/P Ground G200 (1 of 4)
Cell 14: Engine Ground G117
Figure 5:

Cell 14: RH I/P Ground G200 (1 of 4)


Object Number: 325847  Size: FS
Power and Grounding Components
Cell 14: RH/IP Ground G200 (2 of 4)
Cell 14: Engine Compartment Ground G119
Cell 14: RH/IP Ground G200 (2 of 4)
Figure 6:

Cell 14: RH/IP Ground G200 (2 of 4)


Object Number: 325848  Size: FS
Power and Grounding Components
Cell 14: RH/IP Ground G200 (3 of 4)
Cell 14: RH I/P Ground G200 (1 of 4)
Cell 14: RH I/P Ground G200 (1 of 4)
Figure 7:

Cell 14: RH/IP Ground G200 (3 of 4)


Object Number: 325849  Size: FS
Power and Grounding Components
Cell 14: RH/IP Ground G200 (4 of 4)
Cell 14: RH/IP Ground G200 (2 of 4)
Cell 14: RH/IP Ground G200 (4 of 4)
Figure 8:

Cell 14: RH/IP Ground G200 (4 of 4)


Object Number: 325850  Size: FS
Power and Grounding Components
Cell 14: LH I/P Ground G201
Cell 14: RH/IP Ground G200 (3 of 4)
Cell 14: RH/IP Ground G200 (3 of 4)
Figure 9:

Cell 14: LH I/P Ground G201


Object Number: 364174  Size: FS
Power and Grounding Components
Cell 14: LH I/P Ground G205
Cell 14: RH/IP Ground G200 (4 of 4)
Figure 10:

Cell 14: LH I/P Ground G205


Object Number: 325851  Size: FS
Power and Grounding Components
Cell 14: Left Body Harness Ground G301
Cell 14: LH I/P Ground G201
Figure 11:

Cell 14: Left Body Harness Ground G301


Object Number: 325855  Size: FS
Power and Grounding Components
Cell 14: Left Rear Compartment Ground G302 (1 of 2)
Cell 14: LH I/P Ground G205
Figure 12:

Cell 14: Left Rear Compartment Ground G302 (1 of 2)


Object Number: 325856  Size: FS
Power and Grounding Components
Cell 14: Left Rear Compartment Ground G302 (2 of 2)
Cell 14: Left Body Harness Ground G301
Cell 14: Left Rear Compartment Ground G302 (2 of 2)
Cell 14: Left Rear Compartment Ground G302 (2 of 2)
Figure 13:

Cell 14: Left Rear Compartment Ground G302 (2 of 2)


Object Number: 325858  Size: FS
Power and Grounding Components
Cell 14: Left Rear Compartment Ground G302 (1 of 2)
Cell 14: Left Rear Compartment Ground G302 (1 of 2)
Cell 14: Left Rear Compartment Ground G302 (1 of 2)