GM Service Manual Online
For 1990-2009 cars only
Makes
🢒
Pontiac
🢒
1999
🢒
Grand Prix
🢒
Steering
🢒
Steering Wheel and Column - Tilt
🢒 Column/Ignition Lock Schematics
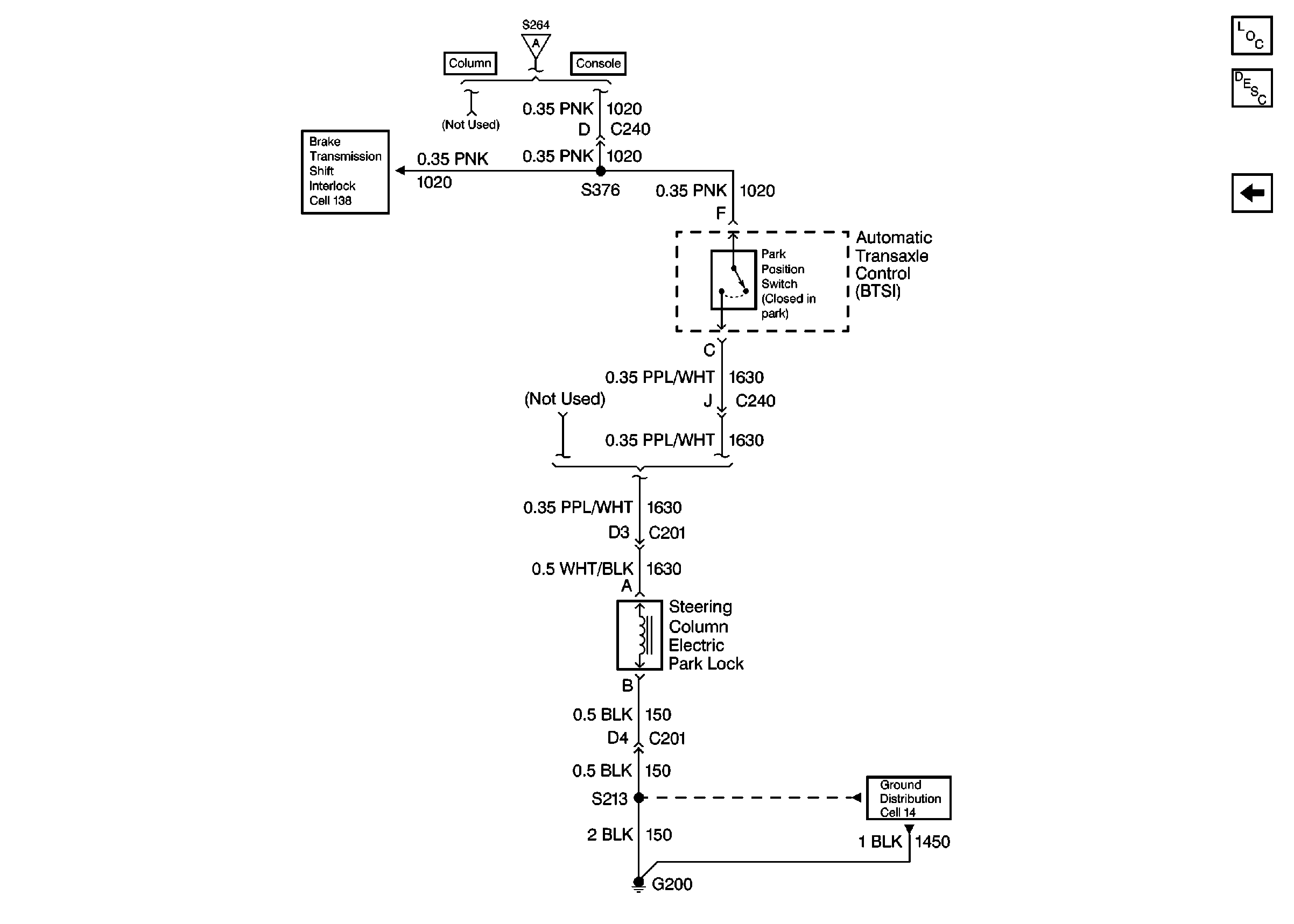
Figure
1:
Cell 139: 1 of 2
Tilt Wheel/Column Components
Cell 139: 2 of 2
Cell 11: BTSI, RADIO, SUNROOF, STR WHL CTRL, STR WHL ILUM, WIPER, MALLAND MALL PGM Fuses
Cell 138: 1 of 2
Cell 10
Cell 139: 2 of 2
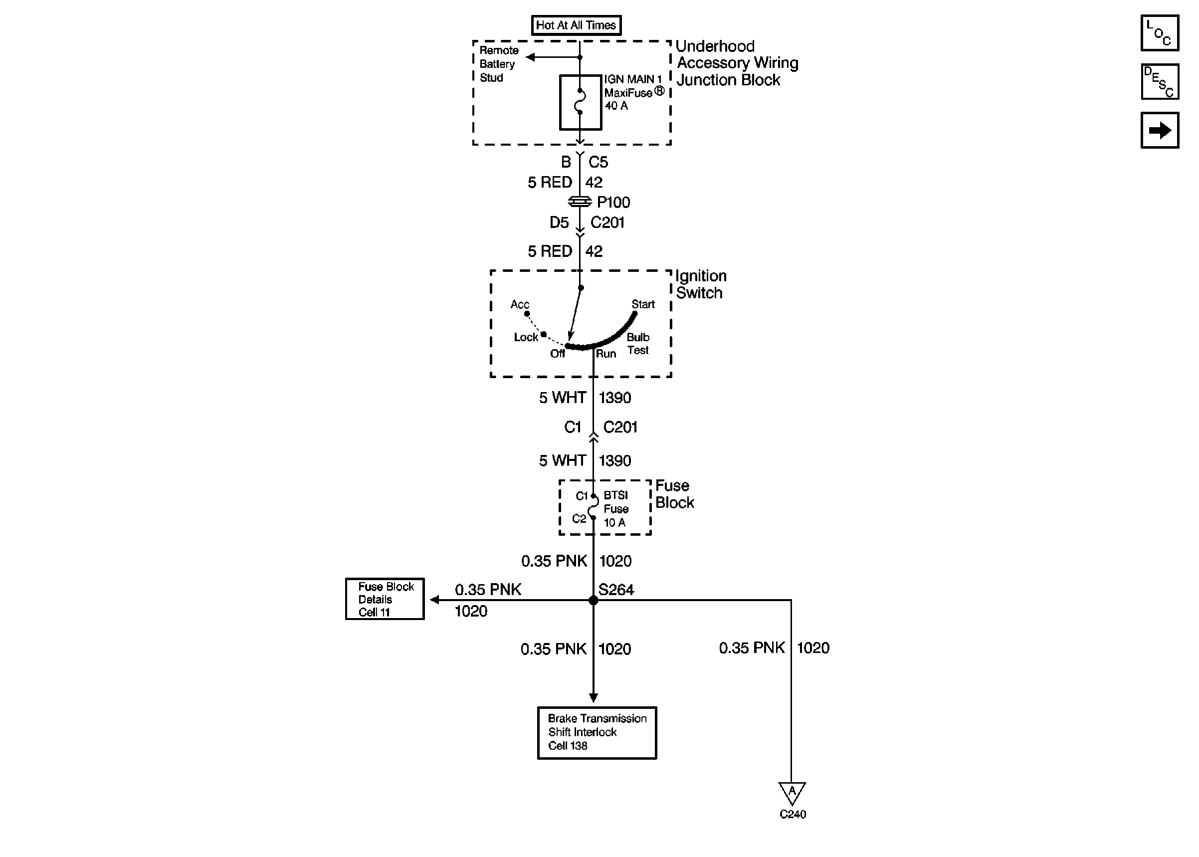
Figure
2:
Cell 139: 2 of 2
Tilt Wheel/Column Components
Cell 139: 1 of 2
Cell 138: 2 of 2
Cell 14: RH I/P Ground G200 (1 of 4)
Cell 139: 1 of 2