GM Service Manual Online
For 1990-2009 cars only
Makes
🢒
Pontiac
🢒
1999
🢒
Grand Prix
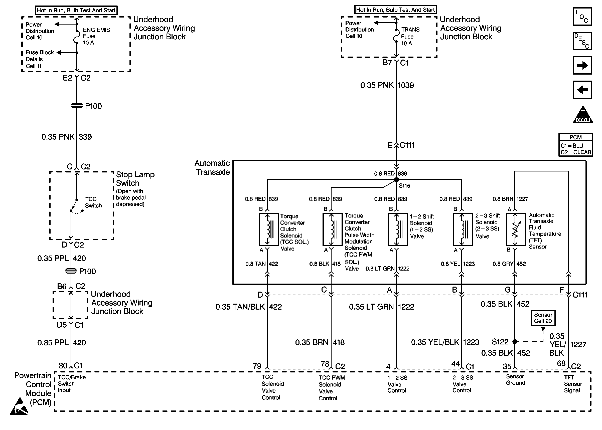
🢒 Automatic Transaxle, TCC Switch
Automatic Transaxle, TCC Switch
Automatic Transaxle, TCC Switch
Engine Controls Components
Information Sensors/Switches Description
A/C Compressor Controls
VSS, Cruise
OBD II Symbol Description Notice
Powertrain Control Module Connector End Views