GM Service Manual Online
For 1990-2009 cars only

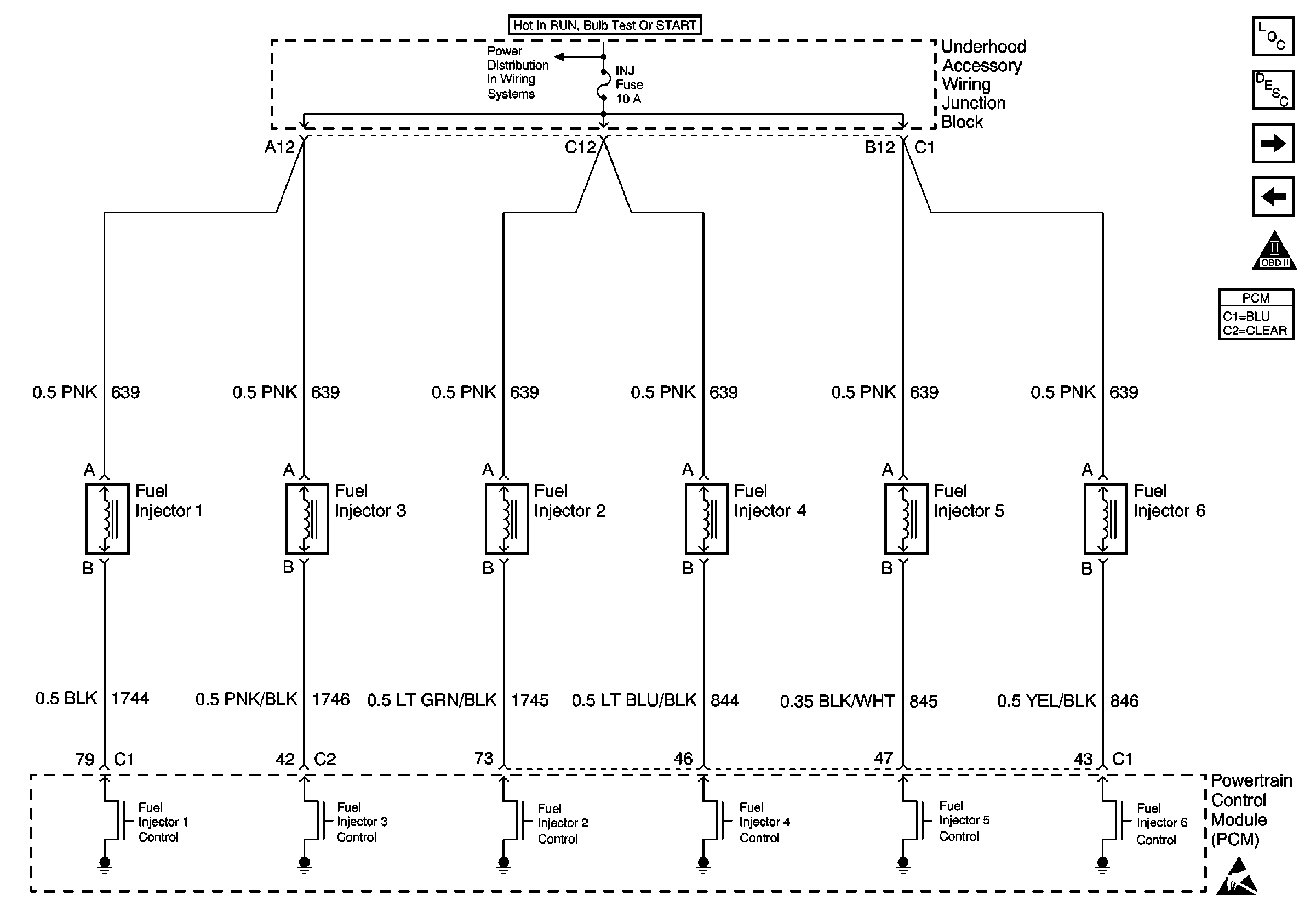
Refer to Engine Controls Schematics

Fuel Injectors


Object Number: 588125  Size: FS
Fuel Injectors (3.8 L)
Handling ESD Sensitive Parts Notice
Engine Controls Components
Powertrain Control Module Description
A/C Refrigerant Pressure Sensor, TP, MAP, ECT and IAT Sensor
Fuel Tank and Fuel Pump Resistor
OBD II Symbol Description Notice

Circuit Description

The PCM controls the fuel injectors by using an ignition feed driver and ground circuit within the PCM. The driver has the ability to detect an electrical malfunction in the ignition feed or in the ground circuit. If an electrical malfunction occurs in the fuel injector circuit for engine cylinder 5, DTC P0205 will set.

Conditions for Running the DTC

The engine is running.

Conditions for Setting the DTC

    • The PCM detects an electrical malfunction on the injector circuit for engine cylinder 5.
    • The condition is present for at least 30 seconds.

Action Taken When the DTC Sets

    • The PCM will illuminate the malfunction indicator lamp (MIL) during the second consecutive trip in which the diagnostic test has been run and failed.
    • The PCM will store conditions which were present when the DTC set as Freeze Frame/Failure Records data.

Conditions for Clearing the MIL/DTC

    • The PCM will turn OFF the malfunction indicator lamp (MIL) during the third consecutive trip in which the diagnostic has run and passed.
    • The history DTC will clear after 40 consecutive warm-up cycles have occurred without a malfunction.
    • The DTC can be cleared by using a scan tool.

Diagnostic Aids

The misfire history counter can help to determine which injector circuit is malfunctioning. If DTC P0300 was set, look at the Misfire History display for each cylinder. The largest value stored in the misfire history counters will indicate the location of the malfunctioning injector circuit or injector.

Many situations may lead to an intermittent condition. Perform each inspection or test as directed.

Important: :  Remove any debris from the connector surfaces before servicing a component. Inspect the connector gaskets when diagnosing or replacing a component. Ensure that the gaskets are installed correctly. The gaskets prevent contaminate intrusion.

    • Loose terminal connection
       -  Use a corresponding mating terminal to test for proper tension. Refer to Testing for Intermittent Conditions and Poor Connections , and to Connector Repairs in Wiring Systems for diagnosis and repair.
       -  Inspect the harness connectors for backed out terminals, improper mating, broken locks, improperly formed or damaged terminals, and faulty terminal to wire connection. Refer to Testing for Intermittent Conditions and Poor Connections , and to Connector Repairs in Wiring Systems for diagnosis and repair.
    • Damaged harness--Inspect the wiring harness for damage. If the harness inspection does not reveal a problem, observe the display on the scan tool while moving connectors and wiring harnesses related to the sensor. A change in the scan tool display may indicate the location of the fault. Refer to Wiring Repairs in Wiring Systems for diagnosis and repair.
    •  Inspect the powertrain control module (PCM) and the engine grounds for clean and secure connections. Refer to Wiring Repairs in Wiring Systems for diagnosis and repair.

If the condition is determined to be intermittent, reviewing the Snapshot or Freeze Frame/Failure Records may be useful in determining when the DTC or condition was identified.

Test Description

The numbers below refer to the step numbers on the diagnostic table.

  1. This step tests for a malfunctioning fuel injector control circuit or for malfunctioning ignition feed wiring.

  2. This step tests for a malfunction in the fuel injector ignition feed circuit.

  3. This step tests for a short to ground in the injector control circuit.

  4. This step tests for an open in the fuel injector control circuit.

  5. When you replace the PCM, you must program the new PCM.

DTC P0205 - Cylinder 5 Fuel Injector Control Circuit

Step

Action

Values

Yes

No

1

Did you perform the Powertrain On Board Diagnostic (OBD) System Check?

--

Go to Step 2

Go to Powertrain On Board Diagnostic (OBD) System Check

2

With the engine idling, monitor Specific DTC info for DTC P0205 with a scan tool.

Does the DTC reset?

--

Go to Step 4

Go to Step 3

3

  1. Turn ON the ignition, with the engine OFF.
  2. Review and record the scan tool Fail Records data.
  3. Operate the vehicle within the Fail Records conditions.
  4. Use a scan tool in order to monitor Specific DTC info for DTC P0205.

Does the DTC reset?

--

Go to Step 4

Go to Diagnostic Aids

4

  1. Turn OFF the ignition.
  2. Disconnect the PCM.
  3. Turn ON the ignition, with the engine OFF.
  4. Use a DMM in order to measure the voltage between the cylinder 5 fuel injector control circuit at the PCM connector and ground.

Is the voltage near the specified value?

B+

Go to Step 5

Go to Step 9

5

Test the fuel injectors. Refer to Fuel Injector Solenoid Coil Test - Engine Coolant Temperature Between 10-35 Degrees C (50-95 Degrees F) or to Fuel Injector Solenoid Coil Test - Engine Coolant Temperature Outside 10-35 Degrees C (50-95 Degrees F) .

Did all the injectors pass?

--

Go to Step 6

Go to Step 17

6

  1. Turn OFF the ignition.
  2. Disconnect the cylinder 5 fuel injector.
  3. Turn ON the ignition, with the engine OFF.
  4. Measure the voltage between the cylinder 5 fuel injector control circuit at the PCM connector and ground.

Is the voltage near the specified value?

0V

Go to Step 7

Go to Step 16

7

  1. Test for the following conditions:
  2. • An intermittent open at the ignition feed circuit in the wire harness between the fuse and the cylinder 5 fuel injector.
    • An intermittent open or a short to ground at the cylinder 5 fuel injector control circuit between the PCM and the injector.
  3. Repair the condition as necessary. Refer to Wiring Repairs in Wiring Systems.

Did you find and correct the condition?

--

Go to Step 19

Go to Step 8

8

  1. Inspect for poor terminal connections at the cylinder 5 fuel injector connector.
  2. Inspect the cylinder 5 fuel injector control circuit for poor terminal connections at the PCM connector.
  3. Repair the condition as necessary. Refer to Wiring Repairs in Wiring Systems.

Did you find and correct the condition?

--

Go to Step 19

Go to Step 18

9

  1. Turn OFF the ignition.
  2. Disconnect the cylinder 5 fuel injector connector.
  3. Turn ON the ignition, with the engine OFF.
  4. Measure the voltage between the ignition feed circuit at the cylinder 5 fuel injector connector and ground.

Is the voltage near the specified value?

B+

Go to Step 10

Go to Step 14

10

Probe the cylinder 5 fuel injector control circuit at the cylinder 5 fuel injector harness connector with a test lamp to B+.

Does the test lamp illuminate?

--

Go to Step 15

Go to Step 11

11

  1. Turn OFF the ignition.
  2. Install a fused jumper between the cylinder 5 fuel injector control circuit and the ignition feed circuit at the cylinder 5 fuel injector harness connector.
  3. Turn ON the ignition, with the engine OFF.
  4. Probe the cylinder 5 fuel injector control circuit at the PCM connector with a test lamp to ground.

Does the test lamp illuminate?

--

Go to Step 12

Go to Step 13

12

  1. Inspect for poor terminal connections at the cylinder 5 fuel injector connector.
  2. Repair the condition as necessary. Refer to Wiring Repairs in Wiring Systems.

Did you find and correct the condition?

--

Go to Step 19

Go to Step 17

13

Locate and repair the open in the cylinder 5 fuel injector control circuit. Refer to Wiring Repairs in Wiring Systems.

Did you find and correct the condition?

--

Go to Step 19

--

14

Locate and repair the open or the short to ground in the cylinder 5 fuel injector ignition feed circuit. Refer to Wiring Repairs in Wiring Systems.

Did you find and correct the condition?

--

Go to Step 19

--

15

Locate and repair the short to ground in the cylinder 5 fuel injector control circuit. Refer to Wiring Repairs in Wiring Systems.

Did you find and correct the condition?

--

Go to Step 19

--

16

Locate and repair the short to voltage in the cylinder 5 fuel injector control circuit. Refer to Wiring Repairs in Wiring Systems.

Did you find and correct the condition?

--

Go to Step 19

--

17

Replace any malfunctioning fuel injectors. Refer to Fuel Injection Fuel Rail Assembly Replacement .

Did you complete the replacement?

--

Go to Step 19

--

18

Important: The replacement PCM must be programmed.

Replace the PCM. Refer to Powertrain Control Module Replacement/Programming .

Did you complete the replacement?

--

Go to Step 19

--

19

  1. Use a scan tool in order to clear the DTCs.
  2. Operate the vehicle within the Conditions for Running the DTC, as specified in the supporting text.

Does the DTC reset?

--

Go to Step 2

System OK