GM Service Manual Online
For 1990-2009 cars only

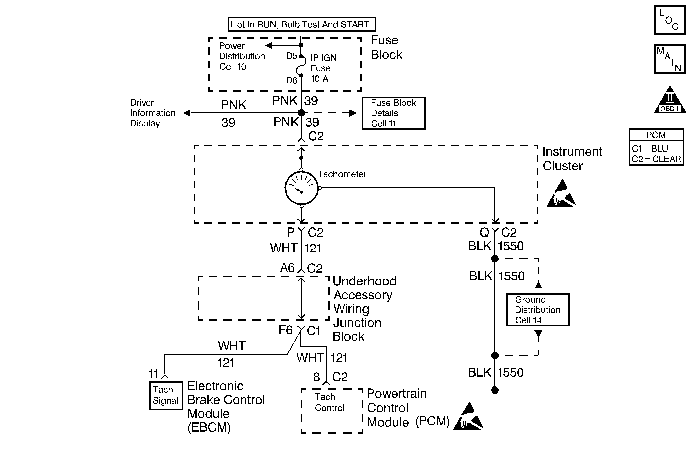
Object Number: 240273  Size: MF
Indicators and Gauges
OBD II Symbol Description Notice
Handling ESD Sensitive Parts Notice
Handling ESD Sensitive Parts Notice

Circuit Description

The powertrain control module (PCM) supplies the ground in order to energize the instrument cluster tachometer. When the ignition switch is first turned ON, the PCM grounds the tachometer circuit. The circuit will remain grounded until the PCM receives the first 18X reference pulse. Once the 18X reference pulse is received, the PCM controls the pulse frequency in relationship to the engine RPM. The tachometer is controlled at a rate of two pulses per crankshaft revolution.

Diagnostic Aids

Check for the following conditions:

    • A poor connection at the PCM or at the instrument cluster--Inspect the harness connectors for the following conditions:
      • Backed-out terminals
      • Improper mating
      • Broken locks
      • Improperly-formed terminals
      • Damaged terminals
      • Poor terminal-to-wire connection
    • A damaged harness--Inspect the wiring harness for damage. If the harness appears OK, disconnect the PCM, turn the ignition ON, and observe a Digital Multimeter (DMM) that is connected to the tachometer control circuit at the PCM harness connector while moving connectors and the wiring harnesses that are related to the tachometer control circuit. A change in voltage will indicate the location of the fault.

Test Description

The numbers below refer to the step numbers on the Diagnostic Table.

  1. Normally, ignition feed voltage should be present on the output driver circuit with the PCM disconnected and with the ignition turned ON.

  2. This step tests for a shorted component, or for a short to B+ on the output driver circuit. Either condition will result in a measured current of more than 0.5 amps.

  3. This step tests for a faulty instrument cluster.

  4. This vehicle is equipped with a PCM which utilizes an electrically erasable programmable read-only memory (EEPROM). When you replace the PCM, you must program the new PCM.

PCM Controlled Tachometer Diagnosis

Step

Action

Value(s)

Yes

No

1

Did you perform the Instrument Cluster diagnosis in Instrument Panel, Gauges, and Console?

--

Go to Step 2

Go to Instrument Cluster System Check in Instrument Panel, Gauges and Console

2

Did you perform the Powertrain On-Board Diagnostic System Check?

--

Go to Step 3

Go to Powertrain On Board Diagnostic (OBD) System Check

3

  1. Turn OFF the ignition, leaving the PCM disconnected.
  2. Turn ON the ignition, leaving the engine OFF.
  3. Use a DMM in order to measure the voltage between the tachometer control circuit at the PCM harness connector and ground.

Is the voltage near the specified value?

B+

Go to Step 4

Go to Step 7

4

  1. Set the DMM to measure 10-amp range.
  2. Measure the current between the tachometer control circuit and ground.
  3. Monitor the current reading for at least 2 minutes.

Does the current measurement remain less than the specified value?

0.5 Amp

Go to Step 12

Go to Step 5

5

  1. Disconnect the Instrument Cluster, and leave the PCM disconnected.
  2. Use a DMM in order to measure the voltage between the tachometer control circuit and ground.

Is the voltage at the specified value?

0V

Go to Step 15

Go to Step 6

6

Locate and repair the short to voltage in the tachometer control circuit. Refer to Wiring Repairs in Wiring Systems.

Did you complete the repair?

--

Go to Step 17

--

7

Inspect the ignition feed fuse for the instrument cluster.

Is the fuse open?

--

Go to Step 8

Go to Step 9

8

  1. Locate and repair the following short conditions:
  2. • A short to ground in the ignition feed circuit
    • A shorted component--Refer to Fuse Block Details in Electrical Diagnosis.
  3. Replace the fuse.

Did you complete the repair?

--

Go to Step 17

--

9

  1. Disconnect the instrument cluster.
  2. With the ignition ON, and with the engine OFF, measure the voltage between the ignition feed circuit for the instrument cluster and ground.

Is the voltage measure near the specified value?

B+

Go to Step 10

Go to Step 14

10

  1. Test the tachometer control circuit for an open or for a short to ground.
  2. If you find a problem, repair the circuit as necessary. Refer to Wiring Repairs in Wiring Systems.

Did you find and correct the condition?

--

Go to Step 17

Go to Step 11

11

  1. Inspect the tachometer control circuit and the ignition feed circuit for a poor connection at the instrument cluster and at the PCM.
  2. If you find a problem, repair the condition as necessary. Refer to Wiring Repairs in Wiring Systems.

Did you find and correct the condition?

--

Go to Step 17

Go to Step 15

12

  1. Inspect for improper connections at the PCM.
  2. If you find a problem, repair the condition as necessary. Refer to Wiring Repairs in Wiring Systems.

Did you find and correct the condition?

--

Go to Step 17

Go to Step 16

13

  1. Inspect the tachometer control circuit for a poor connection at the PCM.
  2. If you find a problem, repair the condition as necessary. Refer to Wiring Repairs in Wiring Systems.

Did you find and correct the condition?

--

Go to Step 17

Go to Step 16

14

Locate and repair any open in the ignition feed circuit to the instrument cluster. Refer to Wiring Repairs in Wiring Systems.

Did you complete the repair?

--

Go to Step 17

--

15

Replace the instrument cluster.

Did you complete the repair?

--

Go to Step 17

--

16

Important: Replacement PCM must be programmed. Refer to Powertrain Control Module Replacement/Programming

Replace the PCM.

Did you complete the replacement?

--

Go to Step 17

--

17

Operate the vehicle while observing the instrument panel tachometer.

Does the tachometer operate properly?

--

System OK

Go to Powertrain On Board Diagnostic (OBD) System Check