GM Service Manual Online
For 1990-2009 cars only

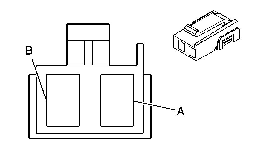
Center High Mount Stoplamp (CHMSL)


Object Number: 405580  Size: CH

Connector Part Information

    • 08911772
    • 2-Way F Metric-Pack PAC/CON (BLK)

Pin

Wire Color

Circuit No.

Function

A

WHT

17

Stoplamp Switch Feed

B

BLK

350

Ground

Daytime Running Lamp (DRL) Ambient Light Sensor


Object Number: 82383  Size: CH

Connector Part Information

    • 12047662
    • 2-Way F Metric-Pack 150 Series (BLK)

Pin

Wire Color

Circuit No.

Function

A

YEL/BLK

1138

DRL Photocell Return

B

LT GRN/BLK

1137

DRL Photocell Signal

Daytime Running Lamp (DRL) Control Module, C1


Object Number: 62469  Size: CH

Connector Part Information

    • 12064998
    • 8-Way F Metric-Pack 280 Series (BLK)

Pin

Wire Color

Circuit No.

Function

A

LT BLU

1872

Parklamp OFF Signal

B-C

--

--

Not Used

D

DK GRN

306

Headlamp Switch OFF Output-Daytime Running Lamps (DRL)

E

DK BLU

593

DRL High Beam Headlamp Feed

F

YEL

10

Headlamp Switch Output

G

YEL

307

Headlamp Switch Output-Flash To Pass

H

BRN

9

Parklamp Feed

Daytime Running Lamp (DRL) Control Module, C2


Object Number: 62463  Size: CH

Connector Part Information

    • 12064766
    • 8-Way F Metric-Pack 150 Series (BLU)

Pin

Wire Color

Circuit No.

Function

A

BLK

1550

Ground

B

--

--

Not Used

C

PNK

1239

Fused IGN 1 Feed

D

TAN/WHT

33

Brake Warning Indicator Lamp Feed

E

LT BLU

1134

Park Brake Input

F

BRN

541

Fused Output-IGN 1

G

LT GRN/BLK

1137

DRL Ambient Light Sensor Input

H

YEL/BLK

1138

DRL Ambient Light Sensor Ground

Daytime Running Lamp (DRL) Diode


Object Number: 35456  Size: CH

Connector Part Information

    • 12064749
    • 2-Way F Metric-Pack 480 Series (BLK)

Pin

Wire Color

Circuit No.

Function

A

DK BLU

593

High Beam Headlamp Feed - Daytime Running Lamps

B

GRY

120

Fuel Pump Motor Feed

Right Door and Left Door Courtesy Warning Lamp


Object Number: 82383  Size: CH

Connector Part Information

    • 12047662
    • 2-Way F Metri-Pack 150 Series (BLK)

Pin

Wire Color

Circuit No.

Function

A

DK BLU

1393

Protected Battery Output Courtesy Lights

B

GRY/BLK

690

Courtesy Lamp Relay Output-Coil

Fog Lamp, Left


Object Number: 35430  Size: CH

Connector Part Information

    • 12020599
    • 2-Way F Metric-Pack 280 Series Sealed (BLK)

Pin

Wire Color

Circuit No.

Function

A

PPL

34

Fog Lamp Feed

B

BLK

1350

Ground

Fog Lamp, Right


Object Number: 35430  Size: CH

Connector Part Information

    • 12020599
    • 2-Way F Metric-Pack 280 Series Sealed (BLK)

Pin

Wire Color

Circuit No.

Function

A

PPL

34

Fog Lamp Feed

B

BLK

1350

Ground

Fog Lamp Switch


Object Number: 40422  Size: CH

Connector Part Information

    • 120654762
    • 6-Way F Metric-Pack 150 Series (GRY)

Pin

Wire Color

Circuit No.

Function

A

LT GRN

11

High Beam Headlamp Feed

B

BLK

1450

Ground

C

GRY

8

Interior Lamp Dim Signal

D

--

--

Not Used

E

BRN

9

Parklamp Feed

F

YEL

317

Fog Lamp Relay Feed-Coil

Hazard Lamp/Turn Signal Lamp Flasher


Object Number: 281201  Size: CH

Connector Part Information

    • 12110541
    • 6-Way F Metric-Pack 280 Series Flexlock (BLK)

Pin

Wire Color

Circuit No.

Function

A1

LT BLU

1508

Turn Signal Lamp/Hazard Lamp Flasher Feed

A2-B1

--

--

Not Used

B2

BLK

1450

Ground

C1

PPL

16

Turn Signal Flasher Output

C2

--

--

Not Used

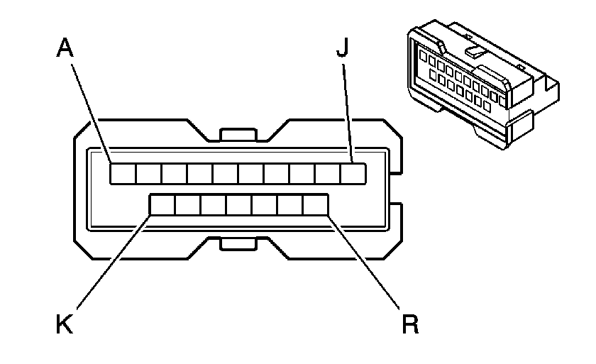
Headlamp Switch


Object Number: 73149  Size: CH

Connector Part Information

    • 12059993
    • 17-Way F Metric-Pack Mixed Series (BLK)

Pin

Wire Color

Circuit No.

Function

A

BLK

1450

Ground

B

WHT

156

Interior Lights ON Switch Input

C-F

--

--

Not Used

G

BRN/WHT

230

Radio Dimmer Feed

H

GRY

8

Instrument Panel Lamp Feed

I

GRY/BLK

308

Parklamp Switch Signal-Parklamps ON

J

--

--

Not Used

K

DK GRN

306

Headlamp Switch OFF Output-Daytime Running Lamps (DRL)

L

YEL

10

Headlamp Switch Output

M

--

--

Not Used

N

ORN

2440

Fused Battery Feed

O

ORN

1340

Fused Battery Feed

P

LT BLU

1872

Parking Lamp OFF Signal

R

BRN

9

Parklamp Feed

Instrument Cluster Head-Up Display (HUD) Dimmer Switch (w/RPO UV6)


Object Number: 62463  Size: CH

Connector Part Information

    • 12064766
    • 8-Way F Metric-Pack 150 Series (BLU)

Pin

Wire Color

Circuit No.

Function

A

PNK

39

Fuse Output - Ignition 1

B

GRY

8

Instrument Panel Lamp Feed

C

WHT

717

Illuminated Display Signal

D

--

--

Not Used

E

YEL

621

Head-Up Display Motor Feed - Up

F

BRN

622

Head-Up Display Switch Output

G

BLK

1550

Ground

H

BRN

620

Head-Up Display Motor Feed - Down

Instrument Panel Compartment Lamp Switch


Object Number: 258297  Size: CH

Connector Part Information

    • 12015197
    • 2-Way F Metri-Pack 280 Series (BLU)

Pin

Wire Color

Circuit No.

Function

A

DK BLU/

WHT

148

Instrument Panel (IP) Compartment Lamp Feed

B

DK BLU

1393

Interior Lamp Relay Output-Coil

Rear Compartment Courtesy Lamp


Object Number: 82383  Size: CH

Connector Part Information

    • 12047662
    • 2-Way F Metric-Pack 150 Series (BLK)

Pin

Wire Color

Circuit No.

Function

A

ORN/BLK

737

Trunk Lamp Output

B

RED/BLK

744

Trunk Ajar Switch Signal

Rear Compartment Courtesy Lamp Switch


Object Number: 333035  Size: CH

Connector Part Information

    • 12047781
    • 3-Way F Metric-Pack 150 Series (BLK)

Pin

Wire Color

Circuit No.

Function

A

RED/BLK

744

Trunk Ajar Switch Signal

B

BLK

350

Ground

C

--

--

Not Used

Roof Rail Courtesy/Reading Lamp, Left (w/RPO TR9)


Object Number: 333035  Size: CH

Connector Part Information

    • 12047781
    • 3-Way F Metric-Pack 150 Series (BLK)

Pin

Wire Color

Circuit No.

Function

A

DK BLU

1393

Interior Lamp Relay Output-Coil

B

GRY/BLK

690

Courtesy Lamp Relay Output-Coil

C

BLK

350

Ground

Roof Rail Courtesy/Reading Lamp, Right (w/RPO TR9)


Object Number: 333035  Size: CH

Connector Part Information

    • 12047781
    • 3-Way F Metric-Pack 150 Series (BLK)

Pin

Wire Color

Circuit No.

Function

A

DK BLU

1393

Interior Lamp Relay Output - Coil

B

GRY/BLK

670

Courtesy Lamp Relay Output - Coil

C

BLK

350

Ground

Security Indicator Lamp


Object Number: 35451  Size: CH

Connector Part Information

    • 12059251
    • 2-Way F Metri-Pack 150 Series (RED)

Pin

Wire Color

Circuit No.

Function

A

YEL

749

Security Indicator Lamp Output

B

ORN

640

Fuse Output - Battery

Stoplamp Switch, C1


Object Number: 73251  Size: CH

Connector Part Information

    • 12033701
    • 2-Way F Metric-Pack 480 Series (GRY)

Pin

Wire Color

Circuit No.

Function

A

ORN

140

Fused Battery Feed

B

WHT

17

Stoplamp Switch Output

Stoplamp Switch, C2


Object Number: 40397  Size: CH

Connector Part Information

    • 12033706
    • 4-Way F Metric-Pack 280 Series (BLU)

Pin

Wire Color

Circuit No.

Function

A

PNK

1020

Fused Output IGN 0

B

DK GRN/

WHT

1135

Stoplamp Switched BTSI Feed

C

PNK

1339

Fused IGN 1 Feed

D

PPL

420

Stoplamp Switched Torque Converter Clutch (TCC) Control

Sunshade Illuminated Mirror


Object Number: 82383  Size: CH

Connector Part Information

    • 12047663
    • 2-Way F Metri-Pack 150 Series (BLK)

Pin

Wire Color

Circuit No.

Function

A

DK BLU

1393

Interior Lamp Relay Output-Coil

B

BLK

350

Ground

Windshield Header Courtesy Reading Lamp


Object Number: 333035  Size: CH

Connector Part Information

    • 12047781
    • 3-Way F Metri-Pack 150 Series (BLK)

Pin

Wire Color

Circuit No.

Function

A

DK BLU

1393

Interior Lamp Relay Output - Coil

B

GRY/BLK

690

Courtesy Lamp Relay Output - Coil

C

BLK

350

Ground