GM Service Manual Online
For 1990-2009 cars only
Figure 1:

Power, Ground, MIL and Data Link


Object Number: 588210  Size: FS
Underhood Accessory Wiring Junction Block, Park/Neutral Position Switch, PCM and Generator
DRL, Canister, PWR DROP, TURN, SIR, IP-IGN, CRUISE, and ECM Fuse
Underhood Accessory Wiring Junction Block, Park/Neutral Position Switch, PCM and Generator
Underhood Accessory Wiring Junction Block, Park/Neutral Position Switch, PCM and Generator
Underhood Accessory Wiring Junction Block, Park/Neutral Position Switch, PCM and Generator
G100, G111 and G113
PCM, Engine Coolant Level Indicator Module, Windshield Washer Solvent Level Switch
G200 (3 of 4)
DLC Schematic 1 of 4
Handling ESD Sensitive Parts Notice
DLC Schematic 1 of 4
CD CHG, STOP LAMP, INT LAMP and CGR LTR Fuse
CD CHG, STOP LAMP, INT LAMP and CGR LTR Fuse
Handling ESD Sensitive Parts Notice
Power, Ground, Serial Data and EBCM
Engine Controls Components
Powertrain Control Module Description
CKP, CMP, ICM and Knock Sensor
OBD II Symbol Description Notice
Figure 2:

CKP, CMP, ICM and Knock Sensor


Object Number: 588213  Size: FS
Handling ESD Sensitive Parts Notice
Underhood Accessory Wiring Junction Block, ICM, Automatic Transaxle, Stop Lamp Switch and EBCM
Handling ESD Sensitive Parts Notice
Engine Controls Components
Powertrain Control Module Description
Fuel Tank
Power, Ground, MIL and Data Link
OBD II Symbol Description Notice
Figure 3:

Fuel Tank


Object Number: 588215  Size: FS
A/C Refrigerant Pressure Sensor, TP, MAP, ECT and IAT Sensor
Handling ESD Sensitive Parts Notice
Underhood Accessory Wiring Junction Block
G302 (1 of 2)
G100, G111 and G113
G100, G111 and G113
Handling ESD Sensitive Parts Notice
Engine Controls Components
Powertrain Control Module Description
Fuel Injectors
CKP, CMP, ICM and Knock Sensor
OBD II Symbol Description Notice
Figure 4:

Fuel Injectors


Object Number: 588216  Size: FS
Fuel Injectors (3.1 L)
Handling ESD Sensitive Parts Notice
Engine Controls Components
Powertrain Control Module Description
A/C Refrigerant Pressure Sensor, TP, MAP, ECT and IAT Sensor
Fuel Tank
OBD II Symbol Description Notice
Figure 5:

A/C Refrigerant Pressure Sensor, TP, MAP, ECT and IAT Sensor


Object Number: 588217  Size: FS
Handling ESD Sensitive Parts Notice
Fuel Tank
Handling ESD Sensitive Parts Notice
Engine Controls Components
Powertrain Control Module Description
HO2S #1 and HO2S #2
Fuel Injectors
OBD II Symbol Description Notice
Figure 6:

HO2S #1 and HO2S #2


Object Number: 588220  Size: FS
Underhood Accessory Wiring Junction Block, Secondary Air Injection PUmp Relay, Secondary Air Injection Valve Solenoid, Supercharger Bypass Valve, Heated Oxygen Sensors, MAF and EVAP
G117
Handling ESD Sensitive Parts Notice
Engine Controls Components
Powertrain Control Module Description
AIR Motor, AIR Valve, AIR Relay and Theft Deterrent Module
A/C Refrigerant Pressure Sensor, TP, MAP, ECT and IAT Sensor
OBD II Symbol Description Notice
Figure 7:

AIR Motor, AIR Valve, AIR Relay and Theft Deterant Module


Object Number: 588221  Size: FS
Underhood Accessory Wiring Junction Block, Secondary Air Injection PUmp Relay, Secondary Air Injection Valve Solenoid, Supercharger Bypass Valve, Heated Oxygen Sensors, MAF and EVAP
Underhood Accessory Wiring Junction Block, Secondary Air Injection PUmp Relay, Secondary Air Injection Valve Solenoid, Supercharger Bypass Valve, Heated Oxygen Sensors, MAF and EVAP
G101
Handling ESD Sensitive Parts Notice
Handling ESD Sensitive Parts Notice
Engine Controls Components
Powertrain Control Module Description
HUD, Trip Calculator, I/P, BCM, CCM and VSS
HO2S #1 and HO2S #2
OBD II Symbol Description Notice
Figure 8:

HUD, Trip Calculator, I/P, BCM, CCM and VSS


Object Number: 588223  Size: FS
Engine Controls Components
Powertrain Control Module Description
MAF, EGR, EVAP Purge and EVAP Canister Valve
AIR Motor, AIR Valve, AIR Relay and Theft Deterrent Module
OBD II Symbol Description Notice
Handling ESD Sensitive Parts Notice
Figure 9:

MAF, EGR, EVAP Purge and EVAP Canister Valve


Object Number: 588225  Size: FS
Underhood Accessory Wiring Junction Block, Secondary Air Injection PUmp Relay, Secondary Air Injection Valve Solenoid, Supercharger Bypass Valve, Heated Oxygen Sensors, MAF and EVAP
G100, G111 and G113
G100, G111 and G113
Handling ESD Sensitive Parts Notice
DRL, Canister, PWR DROP, TURN, SIR, IP-IGN, CRUISE, and ECM Fuse
Engine Controls Components
Powertrain Control Module Description
I/P, Generator and Driver Information Display
HUD, Trip Calculator, I/P, BCM, CCM and VSS
OBD II Symbol Description Notice
Figure 10:

I/P, Generator and Driver Information Display


Object Number: 588226  Size: FS
Power, Ground and Door Locks
Power/Ground Distribution, Instrument Cluster and DID
Turn Signal Switch, PCM, IPC and Engine Oil Pressure Switch
DRL, Canister, PWR DROP, TURN, SIR, IP-IGN, CRUISE, and ECM Fuse
DRL, Canister, PWR DROP, TURN, SIR, IP-IGN, CRUISE, and ECM Fuse
Handling ESD Sensitive Parts Notice
G200 (4 of 4)
G200 (3 of 4)
Instrument Cluster Indicators, MSVA and Stop Lamp Switch
Handling ESD Sensitive Parts Notice
Engine Controls Components
Powertrain Control Module Description
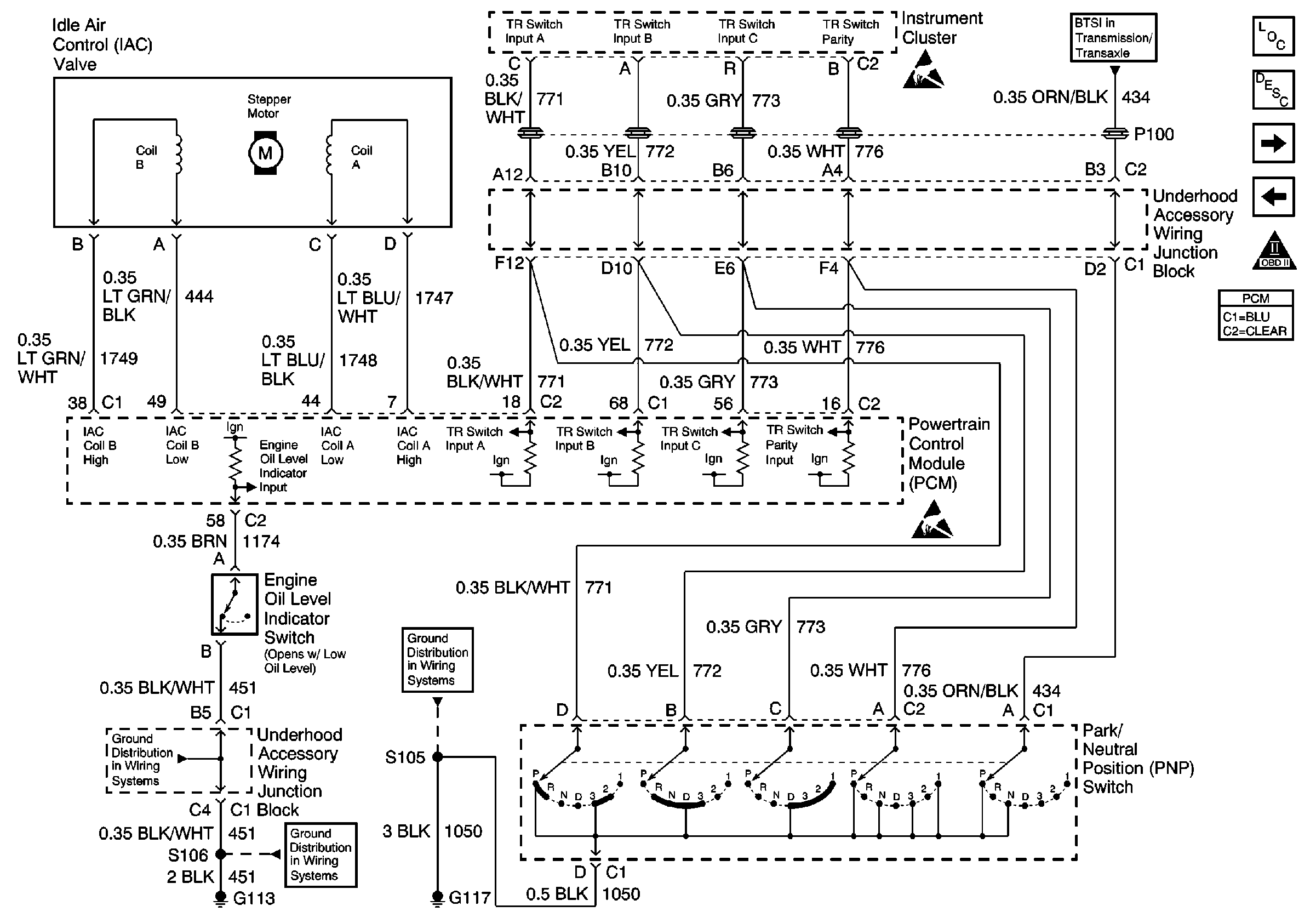
IAC, I/P, Engine Oil Level Indicator Switch and PNP
MAF, EGR, EVAP Purge and EVAP Canister Valve
OBD II Symbol Description Notice
Figure 11:

IAC, I/P, Engine Oil Level Indicator Switch and PNP


Object Number: 588228  Size: FS
G100, G111 and G113
G100, G111 and G113
G117
Handling ESD Sensitive Parts Notice
Handling ESD Sensitive Parts Notice
Actuator and Ground Feed
Engine Controls Components
Powertrain Control Module Description
Automatic Transaxle and Stop Lamp Switch
I/P, Generator and Driver Information Display
OBD II Symbol Description Notice
Figure 12:

Automatic Transaxle and Stop Lamp Switch


Object Number: 588230  Size: FS
Underhood Accessory Wiring Junction Block, ICM, Automatic Transaxle, Stop Lamp Switch and EBCM
Handling ESD Sensitive Parts Notice
Engine Controls Components
Powertrain Control Module Description
Heater A/C Control and A/C Compressor Clutch Coil
Heater A/C Control and A/C Compressor Clutch Coil
OBD II Symbol Description Notice
Figure 13:

Heater A/C Control and A/C Compressor Clutch Coil


Object Number: 588236  Size: FS
DIC/HVAC and HVAC CTRL Fuse
DIC/HVAC and HVAC CTRL Fuse
Handling ESD Sensitive Parts Notice
Underhood Accessory Wiring Junction Block, ICM, Automatic Transaxle, Stop Lamp Switch and EBCM
G117
G117
Engine Controls Components
Powertrain Control Module Description
Coolant Fan Motor #1 and Coolant Fan Motor #2
Automatic Transaxle and Stop Lamp Switch
OBD II Symbol Description Notice
Figure 14:

Coolant Fan Motor #1 and Coolant Fan Motor #2


Object Number: 588239  Size: FS
G117
G117
Underhood Accessory Wiring Junction Block
Handling ESD Sensitive Parts Notice
Engine Controls Components
Powertrain Control Module Description
Heater A/C Control and A/C Compressor Clutch Coil
OBD II Symbol Description Notice