GM Service Manual Online
For 1990-2009 cars only

Refer to Engine Controls Schematic

Power, Ground, MIL and Data Link


Object Number: 588210  Size: FS
Underhood Accessory Wiring Junction Block, Park/Neutral Position Switch, PCM and Generator
DRL, Canister, PWR DROP, TURN, SIR, IP-IGN, CRUISE, and ECM Fuse
Underhood Accessory Wiring Junction Block, Park/Neutral Position Switch, PCM and Generator
Underhood Accessory Wiring Junction Block, Park/Neutral Position Switch, PCM and Generator
Underhood Accessory Wiring Junction Block, Park/Neutral Position Switch, PCM and Generator
G100, G111 and G113
PCM, Engine Coolant Level Indicator Module, Windshield Washer Solvent Level Switch
G200 (3 of 4)
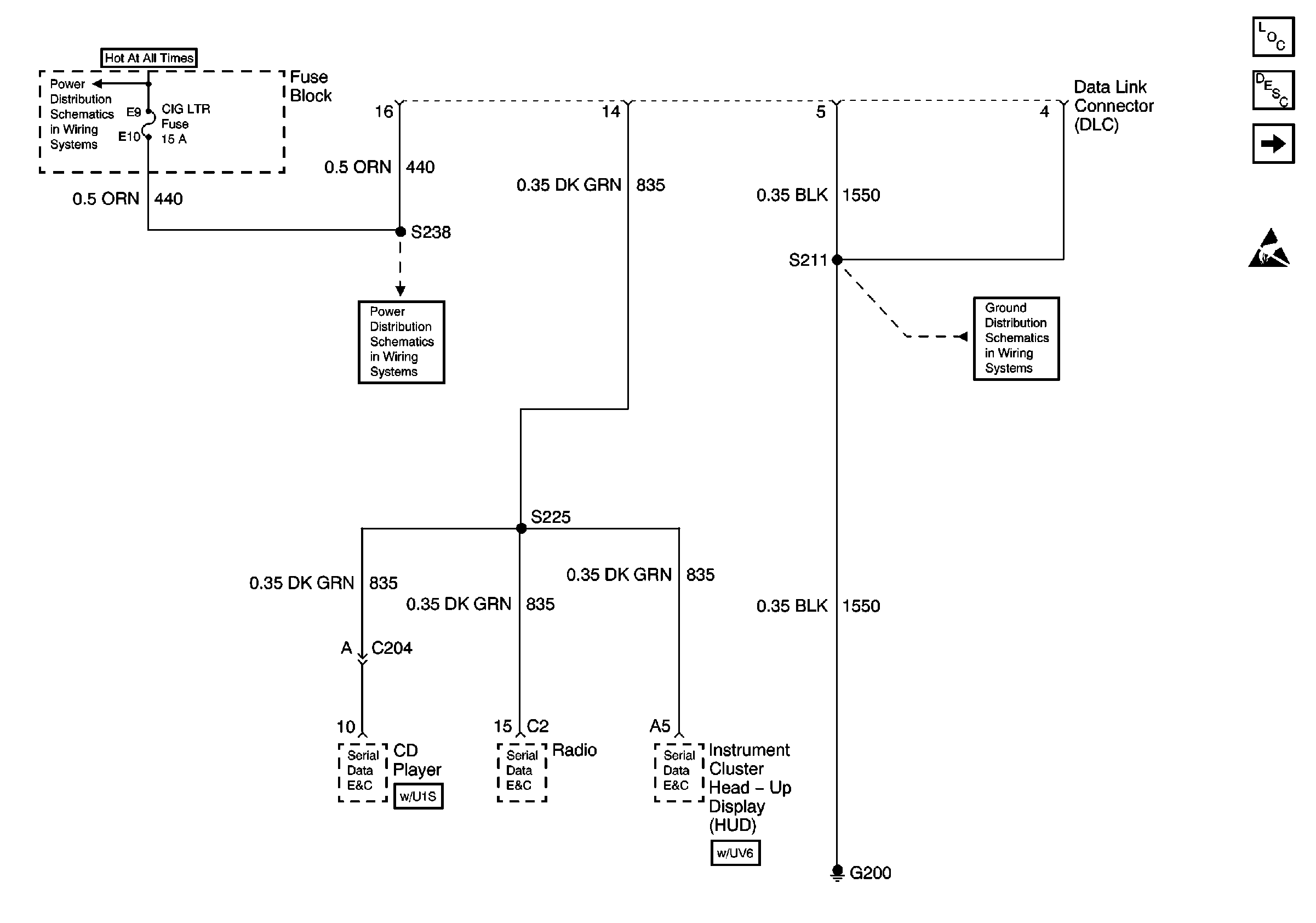
DLC Schematic 1 of 4
Handling ESD Sensitive Parts Notice
DLC Schematic 1 of 4
CD CHG, STOP LAMP, INT LAMP and CGR LTR Fuse
CD CHG, STOP LAMP, INT LAMP and CGR LTR Fuse
Handling ESD Sensitive Parts Notice
Power, Ground, Serial Data and EBCM
Engine Controls Components
Powertrain Control Module Description
CKP, CMP, ICM and Knock Sensor
OBD II Symbol Description Notice
, and

Power/Grounds, and E&C


Object Number: 594148  Size: FS
Battery, Starter, Generator, EBCM, Underhood Accessory Wiring JuncTion Block and Fuse Block
CD CHG, STOP LAMP, INT LAMP and CGR LTR Fuse
G200 (3 of 4)
Data Link Communications Components
Data Link Communications Circuit Description
UART
Handling ESD Sensitive Parts Notice
,

UART


Object Number: 594149  Size: FS
Data Link Communications Components
Data Link Communications Circuit Description
Class 2
Power/Grounds, and E&C
Handling ESD Sensitive Parts Notice
, and

Class 2


Object Number: 594150  Size: FS
SIR Handling Caution
Data Link Communications Components
Data Link Communications Circuit Description
UART
Handling ESD Sensitive Parts Notice
in Data Link Communications.

Circuit Description

The Serial Data circuit to the DLC allows bi-directional communication between the PCM and the scan tool. If communication between the scan tool and the PCM cannot be established, the procedure in the DLC Diagnosis table should be used to diagnose the condition.

Diagnostic Aids

Inspect for the following:

Many situations may lead to an intermittent condition. Perform each inspection or test as directed.

Important: :  Remove any debris from the connector surfaces before servicing a component. Inspect the connector gaskets when diagnosing or replacing a component. Ensure that the gaskets are installed correctly. The gaskets prevent contaminate intrusion.

    • Loose terminal connection
       -  Use a corresponding mating terminal to test for proper tension. Refer to Testing for Intermittent Conditions and Poor Connections , and to Connector Repairs in Wiring Systems for diagnosis and repair.
       -  Inspect the harness connectors for backed out terminals, improper mating, broken locks, improperly formed or damaged terminals, and faulty terminal to wire connection. Refer to Testing for Intermittent Conditions and Poor Connections , and to Connector Repairs in Wiring Systems for diagnosis and repair.
    • Damaged harness--Inspect the wiring harness for damage. If the harness inspection does not reveal a problem, observe the display on the scan tool while moving connectors and wiring harnesses related to the sensor. A change in the scan tool display may indicate the location of the fault. Refer to Wiring Repairs in Wiring Systems for diagnosis and repair.
    •  Inspect the powertrain control module (PCM) and the engine grounds for clean and secure connections. Refer to Wiring Repairs in Wiring Systems for diagnosis and repair.

If the condition is determined to be intermittent, reviewing the Snapshot or Freeze Frame/Failure Records may be useful in determining when the DTC or condition was identified.

DLC Diagnosis

Step

Action

Values

Yes

No

1

Did you perform the Powertrain On Board Diagnostic (OBD) System Check?

--

Go to Step 2

Go to Powertrain On Board Diagnostic (OBD) System Check

2

Does the scan tool power up?

--

Go to Step 3

Go to Scan Tool Does Not Power Up in Data Link Communications

3

  1. Turn the ignition ON, leaving the engine OFF.
  2. Attempt to communicate with PCM.

Does the scan tool communicate with the PCM?

--

Go to Diagnostic Aids

Go to Scan Tool Does Not Communicate with UART Data Line in Data Link Communications