GM Service Manual Online
For 1990-2009 cars only
Makes
🢒
Pontiac
🢒
2000
🢒
Grand Prix
🢒
Body and Accessories
🢒
Doors
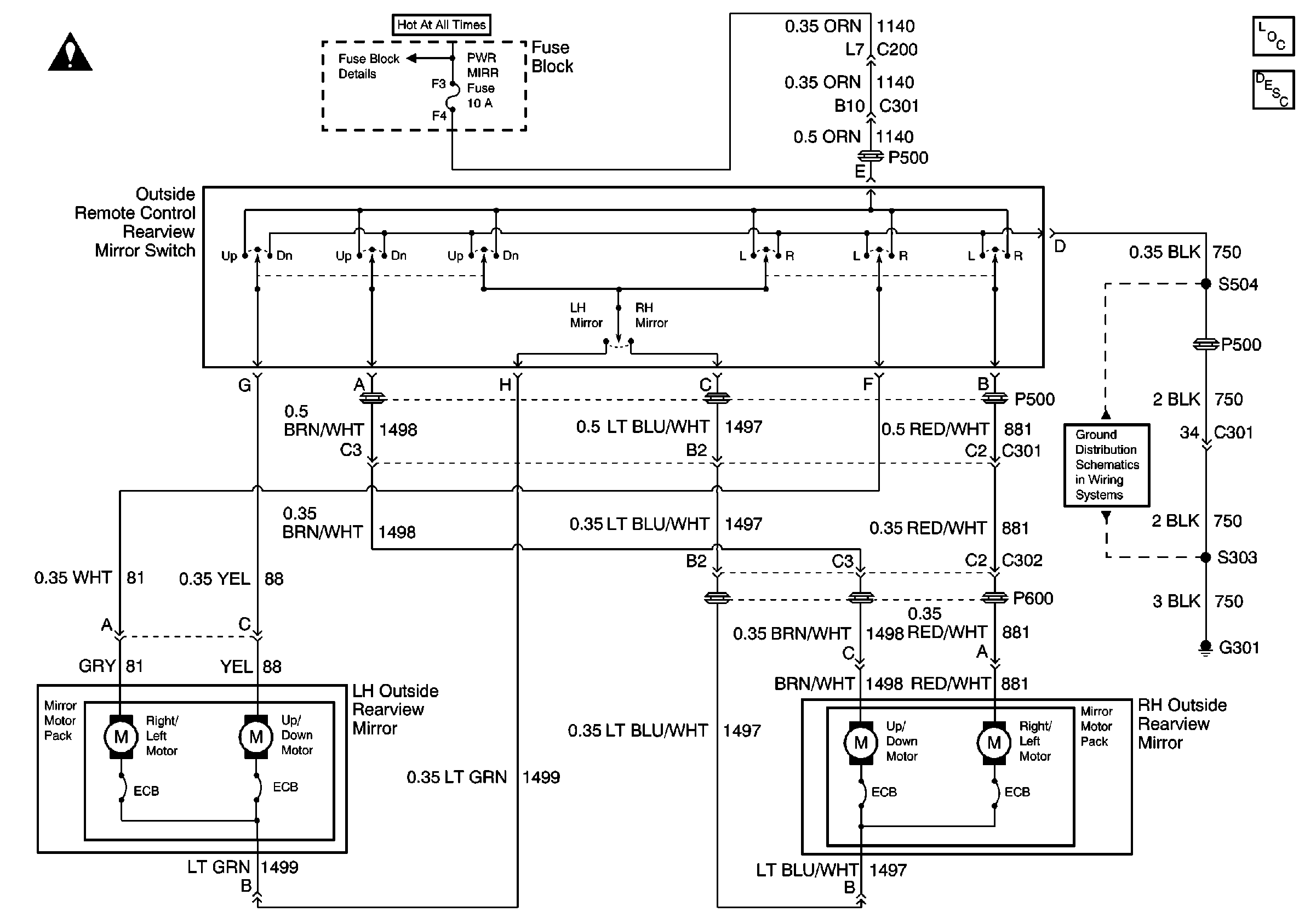
🢒 Outside Rearview Mirror Schematics
Battery, Starter, Generator, EBCM, Underhood Accessory Wiring JuncTion Block and Fuse Block
G301
Power Door Systems Components
Door Outside Rearview Mirrors Description