GM Service Manual Online
For 1990-2009 cars only
Makes
🢒
Pontiac
🢒
2000
🢒
Grand Prix
🢒 Cell 152
Cell 152
Cell 152
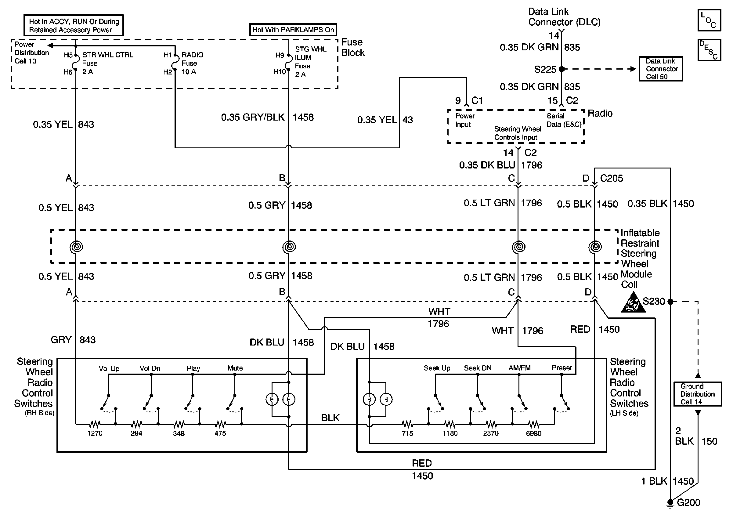
Entertainment Components
Steering Wheel Controls System Circuit Description
Cell 50
Cell 14: RH/IP Ground G200 (2 of 4)
SIR Handling Caution
Cell 11: BTSI, RADIO, SUNROOF, STR WHL CTRL, STR WHL ILUM, WIPER, MALLAND MALL PGM Fuses