GM Service Manual Online
For 1990-2009 cars only

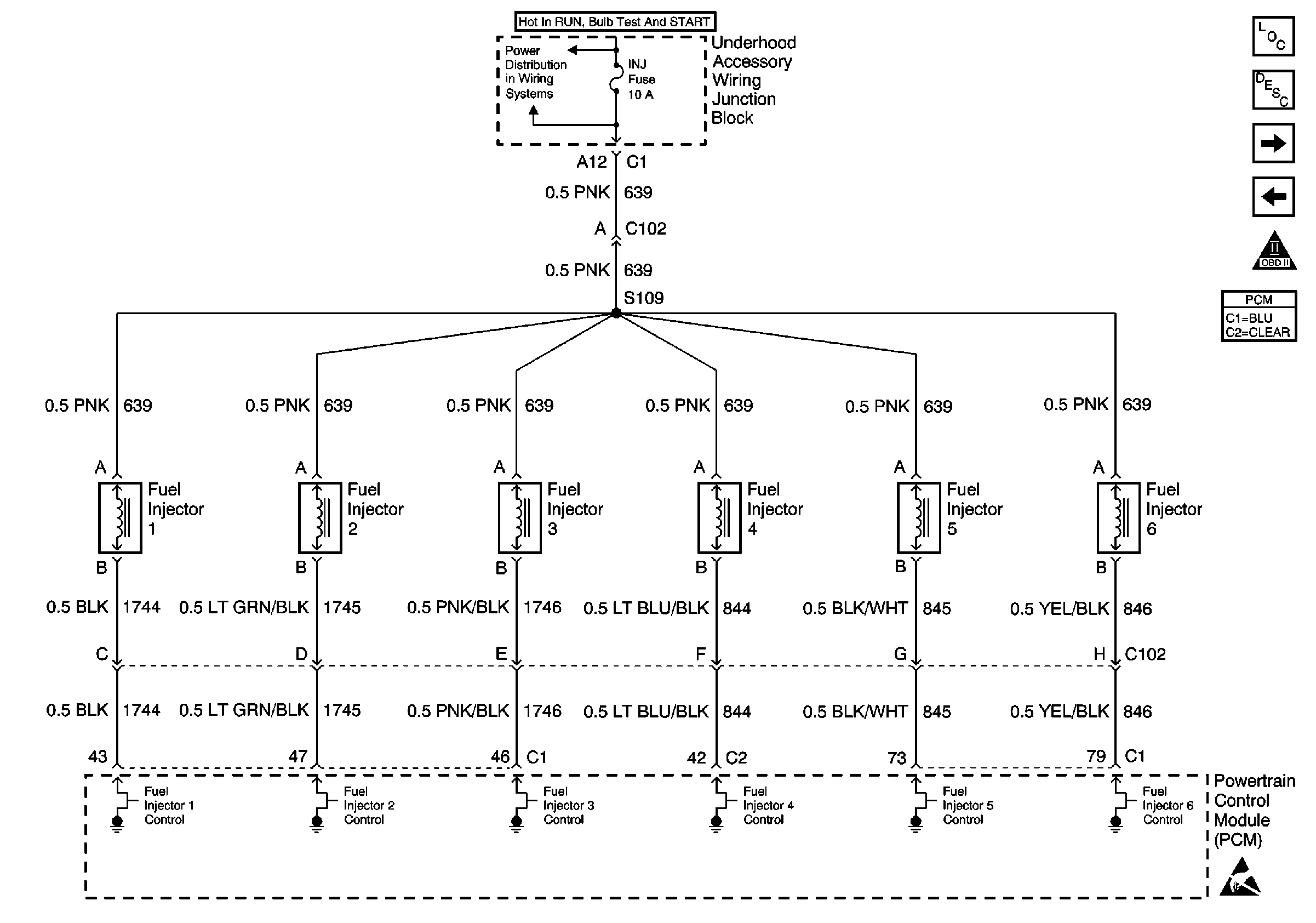
Refer to Engine Controls Schematic

Fuel Injectors


Object Number: 588216  Size: FS
Fuel Injectors (3.1 L)
Handling ESD Sensitive Parts Notice
Engine Controls Components
Powertrain Control Module Description
A/C Refrigerant Pressure Sensor, TP, MAP, ECT and IAT Sensor
Fuel Tank
OBD II Symbol Description Notice
.

Circuit Description

The PCM controls the fuel injector control circuit using a Multi Function Driver (MFD). The MFD has the ability to detect an electrical malfunction. If an electrical malfunction is detected, the MFD signals the PCM to set this DTC.

Conditions for Running the DTC

The ignition is on.

Conditions for Setting the DTC

    •  An incorrect voltage level is being detected on an injector driver circuit.
    •  Above condition for over 30 seconds.

Action Taken When the DTC Sets

    • The PCM will illuminate the malfunction indicator lamp (MIL) during the second consecutive trip in which the diagnostic test has been run and failed.
    • The PCM will store conditions which were present when the DTC set as Freeze Frame/Failure Records data.

Conditions for Clearing the MIL/DTC

    • The PCM will turn OFF the malfunction indicator lamp (MIL) during the third consecutive trip in which the diagnostic has run and passed.
    • The history DTC will clear after 40 consecutive warm-up cycles have occurred without a malfunction.
    • The DTC can be cleared by using a scan tool.

Diagnostic Aids

Inspect for the following conditions:

Many situations may lead to an intermittent condition. Perform each inspection or test as directed.

Important: :  Remove any debris from the connector surfaces before servicing a component. Inspect the connector gaskets when diagnosing or replacing a component. Ensure that the gaskets are installed correctly. The gaskets prevent contaminate intrusion.

    • Loose terminal connection
       -  Use a corresponding mating terminal to test for proper tension. Refer to Testing for Intermittent Conditions and Poor Connections , and to Connector Repairs in Wiring Systems for diagnosis and repair.
       -  Inspect the harness connectors for backed out terminals, improper mating, broken locks, improperly formed or damaged terminals, and faulty terminal to wire connection. Refer to Testing for Intermittent Conditions and Poor Connections , and to Connector Repairs in Wiring Systems for diagnosis and repair.
    • Damaged harness--Inspect the wiring harness for damage. If the harness inspection does not reveal a problem, observe the display on the scan tool while moving connectors and wiring harnesses related to the sensor. A change in the scan tool display may indicate the location of the fault. Refer to Wiring Repairs in Wiring Systems for diagnosis and repair.
    •  Inspect the powertrain control module (PCM) and the engine grounds for clean and secure connections. Refer to Wiring Repairs in Wiring Systems for diagnosis and repair.

If the condition is determined to be intermittent, reviewing the Snapshot or Freeze Frame/Failure Records may be useful in determining when the DTC or condition was identified.

Test Description

The number(s) below refer to the step number(s) on the diagnostic table:

  1. If the scan tool indicates STUCK HIGH there is a short to battery positive voltage on the fuel injector control circuit.

  2. If the scan tool indicates STUCK LOW there is an open or a short to ground on the fuel injector control circuit.

  3. When the multiple-way connector is disconnected, other DTCs will be set. These DTCs should be disregarded.

    If the scan tool indicates a STUCK HIGH while cranking, the short to battery positive voltage is between the multiple-way connector and the PCM. If the scan tool indicates STUCK LOW while cranking the short to battery positive voltage is between the multiple-way connector and the fuel injector.

    Important: :  While cranking the engine with the multiple-way connector disconnected, all of the other injector circuits should indicate STUCK LOW, this is a fault induced by disconnecting this connector. They will resume correct operation when the connector is reconnected.

  4. This step is testing for a short to ground in the circuit.

  5. The fuel injector in this circuit will need to be tested after the short to ground is repaired or after the PCM is replaced.

  6. This step is testing the function of the PCM. If the test lamp flashes then the PCM is able to supply the ground.

  7. This vehicle is equipped with a PCM which utilizes an Electronically Erasable Programmable Read Only Memory (EEPROM). When the PCM is replaced, the new PCM must be programmed.

Step

Action

Value(s)

Yes

No

1

Did you perform the Powertrain On Board Diagnostic (OBD) System Check?

--

Go to Step 2

Go to Powertrain On Board Diagnostic (OBD) System Check

2

Start and idle the engine.

Does scan tool indicate this DTC failed this ignition?

--

Go to Step 4

Go to Step 3

3

  1. Turn ON the ignition.
  2. Operate the vehicle within Fail Record conditions.

Does scan tool indicate this DTC failed this ignition?

--

Go to Step 4

Go to Diagnostic Aids

4

With a scan tool, observe the Cyl. Injector Ckt. Status parameter for this injector.

Does scan tool indicate this parameter STUCK HIGH?

--

Go to Step 6

Go to Step 5

5

Does the scan tool indicate this parameter STUCK LOW?

--

Go to Step 9

Go to Diagnostic Aids

6

Important: :  While cranking the engine with the multiple-way connector disconnected, all of the other injector circuits should indicate STUCK LOW, this is a fault induced by disconnecting this connector. They will resume correct operation when the connector is reconnected.

  1. Turn OFF the ignition.
  2. Disconnect the multiple-way fuel injector connector.
  3. With a scan tool, observe the Cyl. Injector Ckt. Status parameter for this injector while cranking the engine.

Does the scan tool indicate this parameter STUCK HIGH when the engine is cranking?

--

Go to Step 7

Go to Step 8

7

Test for a short to voltage on the control circuit for this injector. Refer to Circuit Testing and Wiring Repairs .

Did you find and correct the condition?

--

Go to Step 15

Go to Step 14

8

Does the scan tool indicate this parameter STUCK LOW while cranking the engine?

--

Go to Fuel Injector Solenoid Coil Test - Engine Coolant Temperature Between 10-35 Degrees C (50-95 Degrees F) or Fuel Injector Solenoid Coil Test - Engine Coolant Temperature Outside 10-35 Degrees C (50-95 Degrees F)

--

9

  1. Disconnect the multiple way fuel injector connector.
  2. Probe the control circuit of this injector (PCM side of multiple way connector) using a J 35616-200 Test Lamp that is connected to battery positive voltage.

Does the test lamp illuminate?

--

Go to Step 10

Go to Step 11

10

Test for a short to ground on this injector control circuit. Refer to Circuit Testing and Wiring Repairs

Did you find and correct the conditions?

--

Go to Step 15

Go to Step 14

11

  1. Leave the test lamp connected.
  2. Crank the engine.

Does the test lamp flash?

--

Go to Fuel Injector Solenoid Coil Test - Engine Coolant Temperature Between 10-35 Degrees C (50-95 Degrees F) or Fuel Injector Solenoid Coil Test - Engine Coolant Temperature Outside 10-35 Degrees C (50-95 Degrees F)

Go to Step 12

12

Test for an open on this injector control circuit between the multiple-way connector and the PCM. Refer to Circuit Testing and Wiring Repairs .

Did you find and correct the condition?

--

Go to Step 15

Go to Step 13

13

Inspect the injector control circuit for a poor connection at the PCM. Refer to Testing for Intermittent Conditions and Poor Connections and Connector Repairs .

Did you find and correct the condition?

--

Go to step 15

Go to step 14

14

Important: :  The replacement PCM must be programmed.

Replace the PCM. Refer to Powertrain Control Module Replacement/Programming .

Did you complete the replacement?

--

Go to step 15

--

15

  1. Turn ON the ignition, with the engine OFF.
  2. Use the scan tool in order to clear the DTCs.
  3. Operate the vehicle within the Fail Records conditions.

Does the DTC reset.

--

Go to Step 2

System OK