GM Service Manual Online
For 1990-2009 cars only

Object Number: 605074  Size: MF

Circuit Description

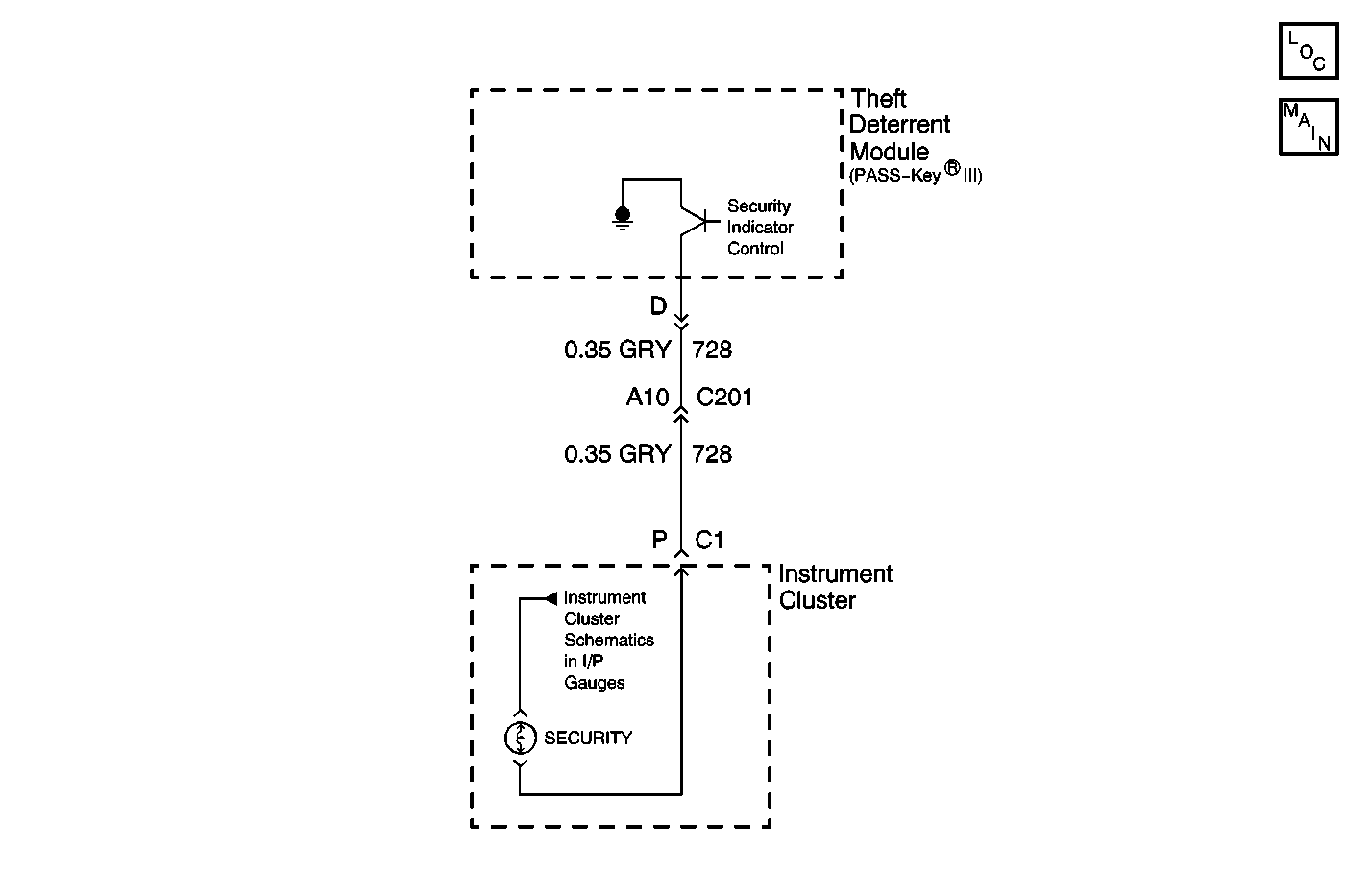
The SECURITY indicator lamp notifies the driver of the theft deterrent system status. The theft deterrent module controls the operation of the SECURITY indicator lamp. The SECURITY indicator lamp is part of the instrument panel cluster. The instrument panel cluster provides positive voltage to the SECURITY indicator lamp bulb when the ignition switch is in RUN, Bulb Test, or CRANK position. A control circuit is wired between the instrument panel cluster and the theft deterrent module. This control circuit allows the theft deterrent module to provide a path to ground to the SECURITY indicator lamp bulb causing it to remain off, turn on, or flash based on system status. Refer to system operation for indicator statues.

Conditions for Running the DTC

The ignition switch must be in the RUN, Bulb Test or START position.

Conditions for Setting the DTC

The theft deterrent module detects a short to ground in the SECURITY indicator lamp control circuit for one second.

Action Taken When the DTC Sets

    • DTC B0687 and DTC B0689 cycle as current DTCs every five seconds in the theft deterrent module.
    • DTC B0687 is set as a history DTC in the theft deterrent module's non-volatile memory.

Conditions for Clearing the MIL/DTC

    • The theft deterrent module no longer detects a short to ground condition in the SECURITY indicator lamp control circuit during the ignition cycle.
    •  A history DTC will clear after 100 consecutive fault-free ignition cycles. An ignition cycle consists of an ignition switch transition from LOCK/OFF to RUN.
    • Using a scan tool.

Diagnostic Aids

    • Check if the SECURITY indicator lamp remains on when the ignition switch is in RUN. This indicates a short to ground in the SECURITY indicator lamp control circuit.
    • A poor or intermittent connection may cause this DTC to set. Refer to Testing for Intermittent Conditions and Poor Connections in Wiring Systems.

Test Description

  1. Determines whether the condition is currently present or intermittent.

  2. Checks for an intermittent short to ground in the SECURITY indicator control circuit.

  3. Checks the SECURITY indicator control circuit for a short to ground.

  4. Determines whether the short to ground is in the instrument panel cluster or in the theft deterrent module.

Step

Action

Yes

No

1

Did you perform the diagnostic system check for the theft deterrent module?

Go to Step 2

Go to Diagnostic System Check - Theft Deterrent

2

  1. Turn the ignition switch to RUN.
  2. Observe the SECURITY indicator.

Does the SECURITY indicator stay ON for over two seconds?

Go to Step 4

Go to Step 3

3

  1. Use the scan tool in order to clear the DTC.
  2. Cycle the ignition switch from RUN to OFF/LOCK, then back to RUN.
  3. Use a scan tool in order to check for current DTCs.

Does this DTC reset?

Go to Step 4

Go to Diagnostic Aids

4

Test the control circuit of the SECURITY indicator lamp for a short to ground. Refer to Circuit Testing and Wiring Repairs in Wiring Systems.

Did you find and correct the condition?

Go to Step 8

Go to Step 5

5

  1. Turn the ignition switch to LOCK.
  2. Disconnect the theft deterrent module harness connector.
  3. Turn the ignition switch to RUN.
  4. Observe the SECURITY indicator.

Does the SECURITY indicator stay on?

Go to Step 6

Go to Step 7

6

Replace the instrument panel cluster. Refer to Instrument Cluster Replacement in Instrument Panel, Gauges and Console.

Did you complete the replacement?

Go to Step 8

--

7

  1. Replace the theft deterrent module.
  2. Perform the PASSKey programming procedure. Refer to Programming Theft Deterrent System Components .

Did you complete the replacement?

Go to Step 8

--

8

  1. Use the scan tool in order to clear the DTC.
  2. Operate the vehicle within the Conditions for Running the DTC as specified in the supporting test.

Does the DTC reset?

Go to Step 2

System OK