GM Service Manual Online
For 1990-2009 cars only

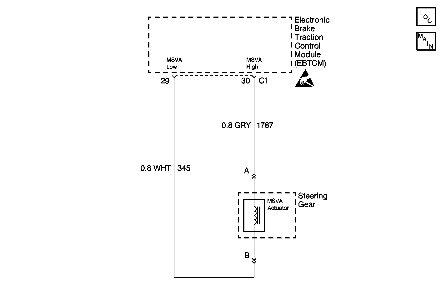
Object Number: 410640  Size: MF

Circuit Description

The Magnetic Steering Variable Assist (MSVA), also known as MAGNASTEER® incorporates its controller into the Electronic Brake Control Module (EBCM). The EBCM controls the amount of current supplied to the MAGNASTEER® actuator based on input from the Antilock Brake System (ABS) wheel speed sensors.

Conditions for Setting the DTC

The MAGNASTEER® actuator open or shorted .

Action Taken When the DTC Sets

    • A Malfunction DTC is stored.
    • No Antilock Brake System (ABS)/Traction Control System (TCS) indicator lamps are turned ON.
    • The MAGNASTEER® is disabled.

The ABS/TCS remains functional.

Conditions for Clearing the MIL/DTC

  1. A history DTC will clear after 100 consecutive ignition cycles if the condition for the malfunction is no longer present.
  2. You may use a scan tool in order to clear the DTC.

Diagnostic Aids

  1. The following conditions may cause an intermittent malfunction to occur:
  2. • A poor connection
    • A rubbed-through wire insulation
    • A broken wire inside the insulation
  3. Inspect the frequency of the malfunction by using the enhanced diagnostic function of the scan tool. Refer to Enhanced Diagnostics .
  4. Inspect any circuitry that may cause the intermittent complaint for the following conditions:
  5. • Backed out terminals
    • Improper mating
    • Broken locks
    • Improperly formed terminals
    • Damaged terminals
    • Poor terminal to wiring connections
    • Physical damage to the wiring harness

Test Description

The number(s) below refer to the step number(s) on the diagnostic table.

  1. This step checks for an open or high resistance in the Magnasteer® circuit.

  2. This step determines if the open or high resistance is in the Magnasteer® actuator, or the wiring harness.

  3. This step checks if the Magnasteer® actuator is shorted to the steering gear case.

DTC C0450 Steering Assist Control Actuator Circuit Malfunction

Step

Action

Value(s)

Yes

No

1

Was the Variable Effort Steering System Check performed?

--

Go to Step 2

Go to Diagnostic System Check - Variable Effort Steering

2

  1. Turn the ignition switch to the OFF position.
  2. Disconnect the Electronic Brake and Traction Control Module (EBTCM) harness connector.
  3. Install the J 39700 Universal Pinout Box using the J 39700-530 cable adaptor to the EBTCM harness connector only.
  4. Use the J 39200 DMM in order to measure the resistance between the following components:
  5. • J 39700 terminal 29
    • J 39700 terminal 30

Is the resistance within the specified range?

1.6-3.1ohms

Go to Step 11

Go to Step 3

3

  1. Disconnect the two-way MAGNASTEER® actuator connector.
  2. Using J 39200 DMM, measure the resistance between the following components:
  3. • MAGNASTEER® actuator pin A
    • MAGNASTEER® actuator pin B

Is the resistance within the specified range?

1.6-3.1ohms

Go to Step 5

Go to Step 4

4

Replace the MAGNASTEER® actuator. Refer to Steering Gear Replacement in Power Steering System.

Is the repair complete?

--

Go to Diagnostic System Check - Variable Effort Steering

--

5

Using J 39200 DMM, measure the resistance between the following components:

    • The J 39700 terminal 29
    • The MAGNASTEER® actuator harness connector terminal B

Is the resistance within the specified range?

0-2ohms

Go to Step 7

Go to Step 6

6

Repair the open or high resistance in CKT 345. Refer to Wiring Repairs in Wiring Systems.

Is the repair complete?

--

Go to Diagnostic System Check - Variable Effort Steering

--

7

Using J 39200 DMM, measure the resistance between the following components:

    • The J 39700 terminal 30
    • The MAGNASTEER® actuator harness connector terminal A

Is the resistance within the specified range?

0-2ohms

Go to Step 9

Go to Step 8

8

Repair the open or high resistance in CKT 1787. Refer to Wiring Repairs in Wiring Systems.

Is the repair complete?

--

Go to Diagnostic System Check - Variable Effort Steering

--

9

Using J 39200 DMM, measure the resistance between the following components:

    • The J 39700 terminal 29
    • The J 39700 terminal 30

Is the resistance within the specified range?

OL (Infinite)

Go to Step 22

Go to Step 10

10

Repair the short between CKT 345 and CKT 1787. Refer to Wiring Repairs in Wiring Systems.

Is the repair complete?

--

Go to Diagnostic System Check - Variable Effort Steering

--

11

Using J 39200 DMM, measure the resistance between the following components:

    • The J 39700 terminal 15
    • The J 39700 terminal 29

Is the resistance within the specified range?

OL (Infinite)

Go to Step 17

Go to Step 12

12

  1. Disconnect the two-way MAGNASTEER® actuator connector.
  2. Using J 39200 DMM, measure the resistance between the following components:
  3. • The J 39700 terminal 15
    • The J 39700 terminal 29

Is the resistance within the specified range?

OL (Infinite)

Go to Step 14

Go to Step 13

13

Repair the short to ground in CKT 345. Refer to Wiring Repairs in Wiring Systems.

Is the repair complete?

--

Go to Diagnostic System Check - Variable Effort Steering

--

14

Using J 39200 DMM, measure the resistance between the following components:

    • The J 39700 terminal 15
    • The J 39700 terminal 30

Is the resistance within the specified range?

OL (Infinite)

Go to Step 16

Go to Step 15

15

Repair the short to ground in CKT 1787. Refer to Wiring Repairs in Wiring Systems.

Is the repair complete?

--

Go to Diagnostic System Check - Variable Effort Steering

--

16

Using J 39200 DMM, measure the resistance between the following components:

    • The MAGNASTEER® actuator pin A
    • The steering gear case

Is the resistance within the specified range?

OL (Infinite)

Go to Step 22

Go to Step 4

17

  1. Turn the ignition switch to the RUN position with the engine OFF.
  2. Using J 39200 DMM, measure the voltage between the following components:
  3. • The J 39700 terminal 15
    • The J 39700 terminal 29

Is the voltage within the specified range?

0-1V

Go to Step 22

Go to Step 18

18

  1. Disconnect the two-way MAGNASTEER® actuator connector.
  2. Using J 39200 DMM, measure the voltage between the following components:
  3. • The J 39700 terminal 15
    • The J 39700 terminal 29.

Is the voltage within the specified range?

0-1V

Go to Step 20

Go to Step 19

19

Repair the short to voltage in CKT 345. Refer to Wiring Repairs in Wiring Systems.

Is the repair complete?

--

Go to Diagnostic System Check - Variable Effort Steering

--

20

Using J 39200 DMM, measure the voltage between the following components:

    • The J 39700 terminal 15
    • The J 39700 terminal 30

Is the voltage within the specified range?

0-1V

Go to Step 22

Go to Step 21

21

Repair the short to voltage in CKT 1787. Refer to Wiring Repairs in Wiring Systems.

Is the repair complete?

--

Go to Diagnostic System Check - Variable Effort Steering

--

22

  1. Turn the ignition switch to the OFF position.
  2. Important: Damage or corrosion may result in an open or short with all of the connectors connected.

  3. Inspect the EBTCM harness connectors for the following conditions:
  4. • Damage
    • Corrosion

    Important: Damage or corrosion may result in an open or short with all of the connectors connected.

  5. Inspect the two-way MAGNASTEER® actuator harness connector for the following conditions:
  6. • Damage
    • Corrosion

Do the connectors exhibit signs of corrosion or damage?

--

Go to Step 23

Go to Step 24

23

  1. Repair the damaged or corroded harness connectors in the EBTCM.
  2. Repair the damaged or corroded two-way MAGNASTEER® actuator harness connector.

Refer to Wiring Repairs in Wiring Systems.

Is the repair complete?

--

Go to Diagnostic System Check - Variable Effort Steering

--

24

  1. Reconnect all of the connectors.
  2. Test drive the vehicle to a speed greater than 40 km/h (25 mph).

Did the DTC C0450 reset?

--

Go to Step 25

Go to Diagnostic System Check - Variable Effort Steering

25

Replace the EBTCM. Refer to Electronic Brake and Traction Control Module Replacement in Antilock Brake System.

Is the repair complete?

--

Go to Diagnostic System Check - Variable Effort Steering

--