GM Service Manual Online
For 1990-2009 cars only
Makes
🢒
Pontiac
🢒
2001
🢒
Grand Prix
🢒 Power and Ground
Power and Ground
Power and Ground
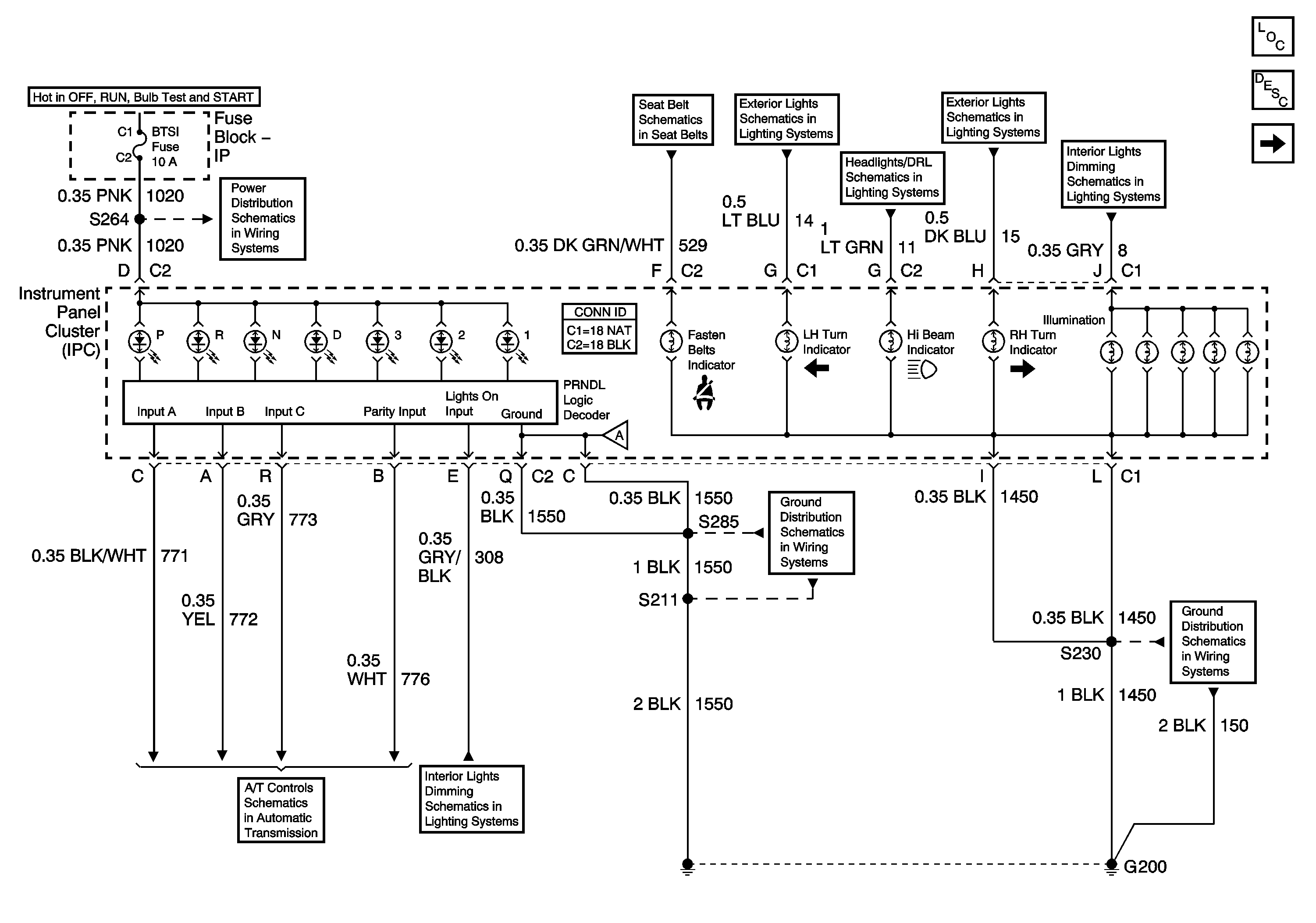
Master Electrical Component List
Gauges
IGN MAIN 1, BTSI, DRL, CANISTER VENT, PWR DROP, TURN, SIR Fuses
Seat Belts Schematics
Front Park and Turn Signal Lamps
Daytime Running Lamps (DRL) Control Module Outputs
Front Park and Turn Signal Lamps
Headlamp Switch and Instrument Panel Lighting
A/T Controls 3 of 3
Headlamp Switch and Instrument Panel Lighting
G200, S211, S285
G200, S213, S375