GM Service Manual Online
For 1990-2009 cars only
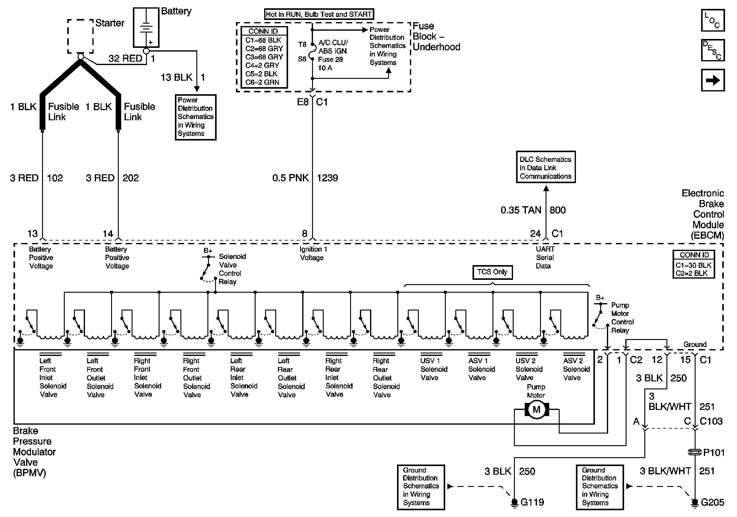
Figure 1:

Power, Ground, Brake Pressure Modulator Valves


Object Number: 794881  Size: FS
Master Electrical Component List
ABS Description and Operation
ABS Indicator, Torque Signals, and Steering
BATT-MAIN 1-2, IGN-MAIN 1-2, HEADLAMPS, PARK LP, RADIO, AIR, ECM SENSE, ALT SENSE, B/U LAMP, COOL FAN 1-2, FUEL PUMP, FOG LP, HORN, INJ, IGN 1-UH, ELEK IGN, TCC,
TCC, ELEK IGN, and A/C CLU/ABS IGN Fuses
Data Link Communications
G119
G205
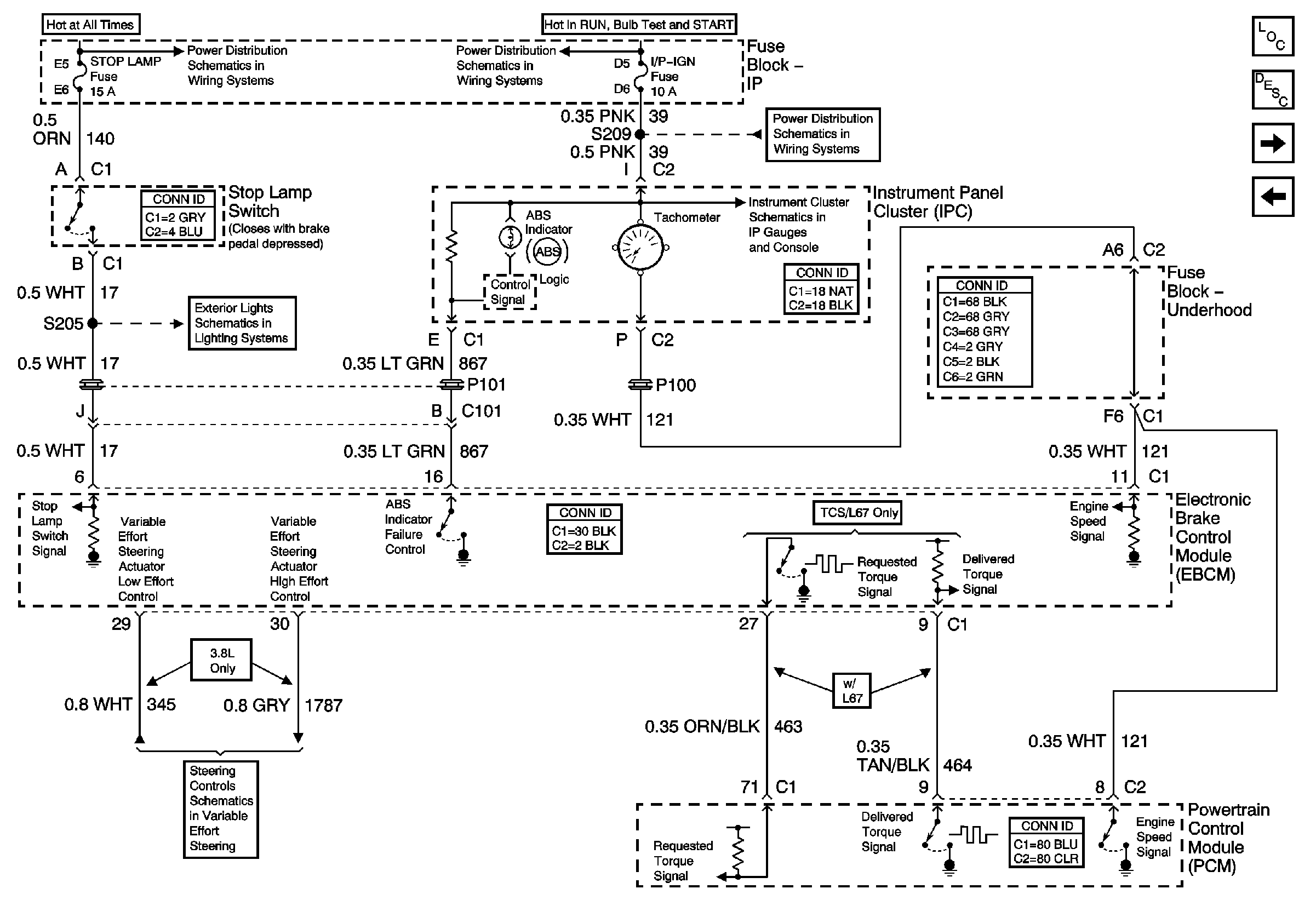
Figure 2:

ABS Indicator, Torque Signals, and Steering


Object Number: 794885  Size: FS
Master Electrical Component List
ABS Description and Operation
Traction Control
Power, Ground, Brake Pressure Modulator Valves
BATT-MAIN 1, ONSTAR, STOP LAMP, INT LAMP, CIG LTR Fuses
IP-IGN, CRUISE, ECM Fuses
IP-IGN, CRUISE, ECM Fuses
Gauges
Rear Turn Signals and Stop Lamps
Steering Controls
Figure 3:

Traction Control


Object Number: 794888  Size: FS
Master Electrical Component List
ABS Description and Operation
Wheel Speed Sensors
ABS Indicator, Torque Signals, and Steering
Driver Information Center (DIC) (W/U40)
Driver Information Center (DIC) (W/O U40)
G200, S211, S285
G200, S213, S375
Figure 4:

Wheel Speed Sensors


Object Number: 794890  Size: FS
Master Electrical Component List
ABS Description and Operation
Traction Control
Antilock Brake System Schematic Icons
Antilock Brake System Schematic Icons
Antilock Brake System Schematic Icons
Antilock Brake System Schematic Icons
Antilock Brake System Schematic Icons
Antilock Brake System Schematic Icons
Antilock Brake System Schematic Icons
Antilock Brake System Schematic Icons
Antilock Brake System Schematic Icons
Antilock Brake System Schematic Icons