GM Service Manual Online
For 1990-2009 cars only
Figure 1:

Floor Console


Object Number: 787110  Size: LF
(1)Automatic Transmission Shift Lock Actuator, Connector
(2)Automatic Transmission Shift Lock Actuator
(3)C325
(4)Automatic Transaxle Shift Lever Position Indicator
(5)S374
(6)A/T Shift Lock Control Solenoid, Connector
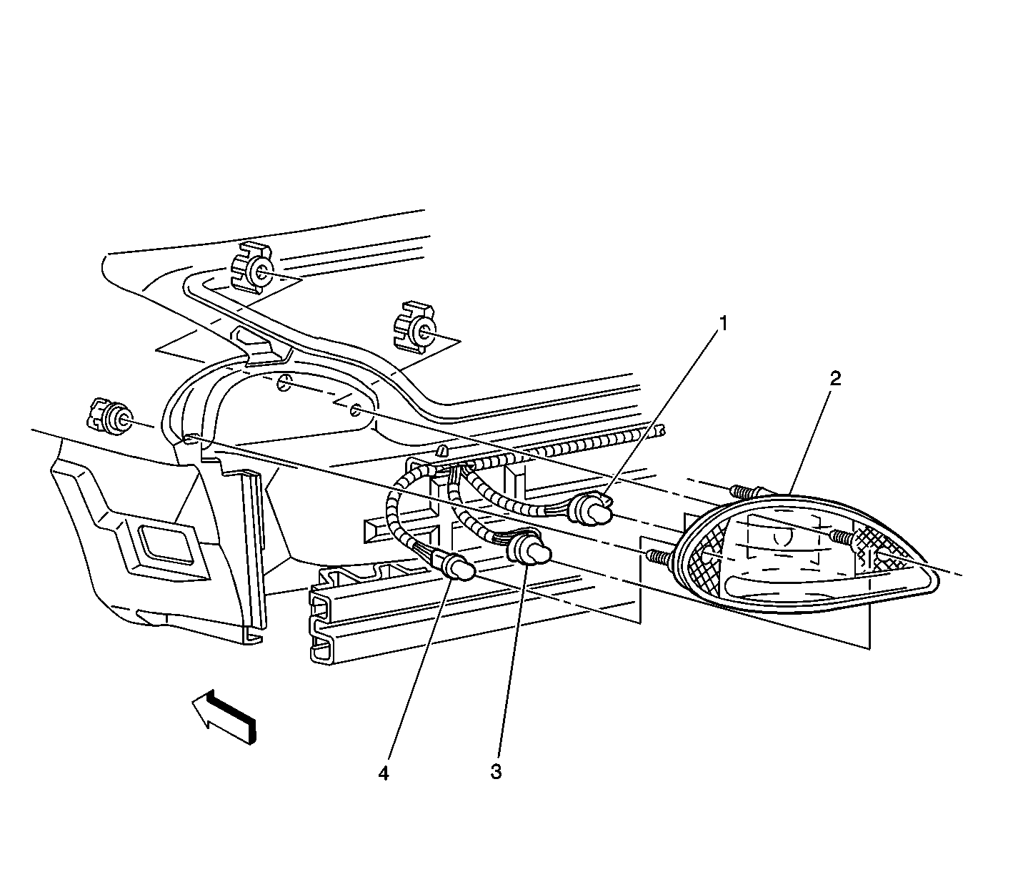
(7)C240
(8)Heated Seat Switch - Driver, Connector
(9)Auxiliary Power Outlet - Console, Connector
Figure 2:

Tail Lamp Assembly - Left (Right Similar)


Object Number: 588145  Size: LF
(1)Backup Lamp - Left
(2)Tail Lamp Assembly
(3)Tail/Stop and Turn Signal Lamp - Left
(4)Marker Lamp - LR
Figure 3:

LH Lower Side of I/P


Object Number: 588206  Size: LF
(1)Turn Signal/Hazard Flasher Module
(2)Theft Deterrent Relay
(3)Rear Compartment Lid Release Relay
(4)Daytime Running Lamps (DRL) Control Module
(5)Daytime Running Lamps (DRL) Control Module, C1
(6)Daytime Running Lamps (DRL) Control Module, C2
(7)I/P Courtesy Lamp -- Left
(8)Daytime Running Lamps (DRL) Diode
Figure 4:

Inside I/P Compartment


Object Number: 588202  Size: LF
(1)I/P Compartment Lamp Switch
Figure 5:

RH Side of I/P


Object Number: 588205  Size: LF
(1)I/P Compartment Lamp
Figure 6:

LH Side of I/P


Object Number: 588743  Size: LF
(1)Daytime Running Lamps (DRL) Control Module, C2
(2)Daytime Running Lamps (DRL) Control Module, C1
(3)Footwell Courtesy Lamp - Left
(4)Theft Deterrent Relay
(5)Rear Compartment Lid Release Relay
(6)Headlamp Switch, Connector
(7)Turn Signal/Hazard Flasher Module
Figure 7:

Top of Rear Window Deck


Object Number: 374764  Size: LF
(1)Center High Mounted Stop Lamp (CHMSL)
(2)Center High Mounted Stop Lamp (CHMSL), Bulbs
Figure 8:

Top Center of Instrument Panel


Object Number: 786758  Size: LF
(1)Instrument Panel (IP) Upper Trim Pad
(2)Theft LED
(3)Daytime Running Lamps (DRL) Ambient Light Sensor
Figure 9:

LH Side of I/P


Object Number: 588197  Size: LF
(1)Daytime Running Lamps (DRL) Diode
Figure 10:

Inside Left Front Door, Right Similar


Object Number: 374815  Size: LF
(1)Door Lock - Driver, C1
(2)Door Lock - Driver, C2
Figure 11:

Front Fascia


Object Number: 588152  Size: LF
(1)Fog Lamp - LF (Fog Lamp - RF Similar)
Figure 12:

LH Upper Side of I/P


Object Number: 588155  Size: LF
(1)Fog Lamp Switch
(2)Instrument Panel Cluster (IPC), C1
(3)Instrument Panel Cluster (IPC), C2
(4)Headlamp Switch
Figure 13:

Front LH Side of Vehicle (Right Front Similar)


Object Number: 588159  Size: LF
(1)C141 (Left Front), C142 (Right Front)
(2)Marker Lamp - LF, (Marker Lamp - RF Similar)
(3)Park/Turn Signal Lamp - LF (Park/Turn Signal Lamp - RF Similar)
(4)Headlamp - Left (Headlamp - Right Similar)
Figure 14:

LH Side of I/P


Object Number: 588162  Size: LF
(1)Headlamp Switch
Figure 15:

Below IP Compartment


Object Number: 374725  Size: LF
(1)Footwell Courtesy Lamp - Right
Figure 16:

Below Steering Column


Object Number: 374705  Size: LF
(1)Footwell Courtesy Lamp - Left
Figure 17:

Forward Center of Interior Compartment


Object Number: 374791  Size: LF
(1)Inside Rearview Mirror Connector
(2)Inside Rearview Mirror
Figure 18:

Inside Rear Compartment, Under Package Shelf


Object Number: 588186  Size: LF
(1)Rear Compartment Courtesy Lamp
Figure 19:

Inside Rear Compartment Lid


Object Number: 752824  Size: LF
(1)Rear Compartment Courtesy Lamp Switch, Connector
(2)Rear Compartment Lid Lock Release Actuator, Connector
(3)Rear Compartment Key Cylinder Lock Switch, Connector (W/UA6)
(4)Rear Deck Lid Harness
(5)C430
Figure 20:

RH Side of Headliner (2-Door)


Object Number: 588166  Size: LF
(1)Roof Rail Courtesy/Reading Lamp
Figure 21:

RH Side of Headliner (4-Door)


Object Number: 588171  Size: LF
(1)Roof Rail Reading/Courtesy Lamp
Figure 22:

RH Side of Headliner


Object Number: 588189  Size: LF
(1)Roof Rail Reading/Courtesy Lamp Harness Connector
(2)Roof Rail Reading/Courtesy Lamp
Figure 23:

Above Brake Pedal


Object Number: 589035  Size: LF
(1)Cruise Control Release Switch
(2)Stop Lamp Switch C2
(3)Stop Lamp Switch C1
(4)Stop Lamp Switch
Figure 24:

Interior Roof


Object Number: 374790  Size: LF
(1)Vanity Mirror Lamp -- Right, Connector (Left Side Similar)
Figure 25:

Multifunction Turn Signal Lever


Object Number: 786885  Size: LF
(1)Multifunction Turn Signal Lever
Figure 26:

Front Center of Roof


Object Number: 787121  Size: LF
(1)Courtesy/Reading Lamps -- Front
(2)Roof Harness
(3)Sunroof Switch (W/CF5)
(4)RH Courtesy/Reading Lamp
(5)LH Courtesy/Reading Lamp
Figure 27:

Rear Fascia


Object Number: 588200  Size: LF
(1)License Lamp