GM Service Manual Online
For 1990-2009 cars only
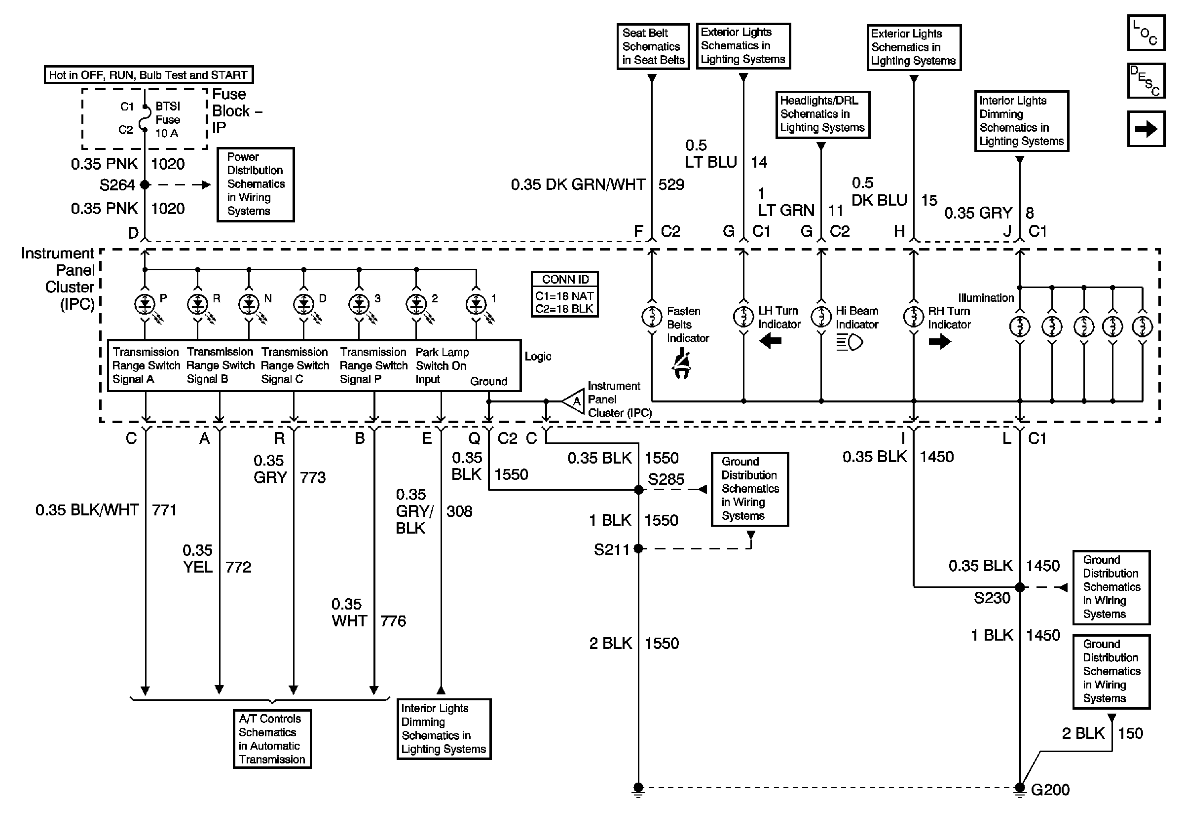
Figure 1:

Power, Ground, Illumination, and Seat Belt, Turn Signal, and Hi Beam Indicators


Object Number: 792275  Size: FS
Master Electrical Component List
Instrument Cluster Description and Operation
Gauges
IGN MAIN 1, BTSI, DRL, CANISTER VENT, PWR DROP, TURN, SIR Fuses
Seat Belt Schematics
Front Park and Turn Signal Lamps
Daytime Running Lamps (DRL) Control Module Outputs
Front Park and Turn Signal Lamps
Headlamp Switch and Instrument Panel Lighting
Gauges
PRNDL
Headlamp Switch and Instrument Panel Lighting
G200, S211, S285
G200, S230
G200, S213, S375
Figure 2:

Tachometer and Speedometer Gages


Object Number: 789411  Size: FS
Master Electrical Component List
Instrument Cluster Description and Operation
Engine Coolant Temperature Gauge, Fuel Gauge, and Low Fuel Indicator
Power, Ground, Illumination, and Seat Belt, Turn Signal, and Hi Beam Indicators
IP-IGN, CRUISE, ECM Fuses
IP-IGN, CRUISE, ECM Fuses
Engine Coolant Temperature Gauge, Fuel Gauge, and Low Fuel Indicator
Power, Ground, Illumination, and Seat Belt, Turn Signal, and Hi Beam Indicators
Engine Coolant Temperature Gauge, Fuel Gauge, and Low Fuel Indicator
Figure 3:

Engine Coolant Temperature Gage, Fuel Gage, and Low Fuel Indicator


Object Number: 789431  Size: FS
Master Electrical Component List
Instrument Cluster Description and Operation
Indicators
Gauges
Gauges
Gauges
Indicators
Indicators
5 Volt and Low Reference Bussing
5 Volt and Low Reference Bussing
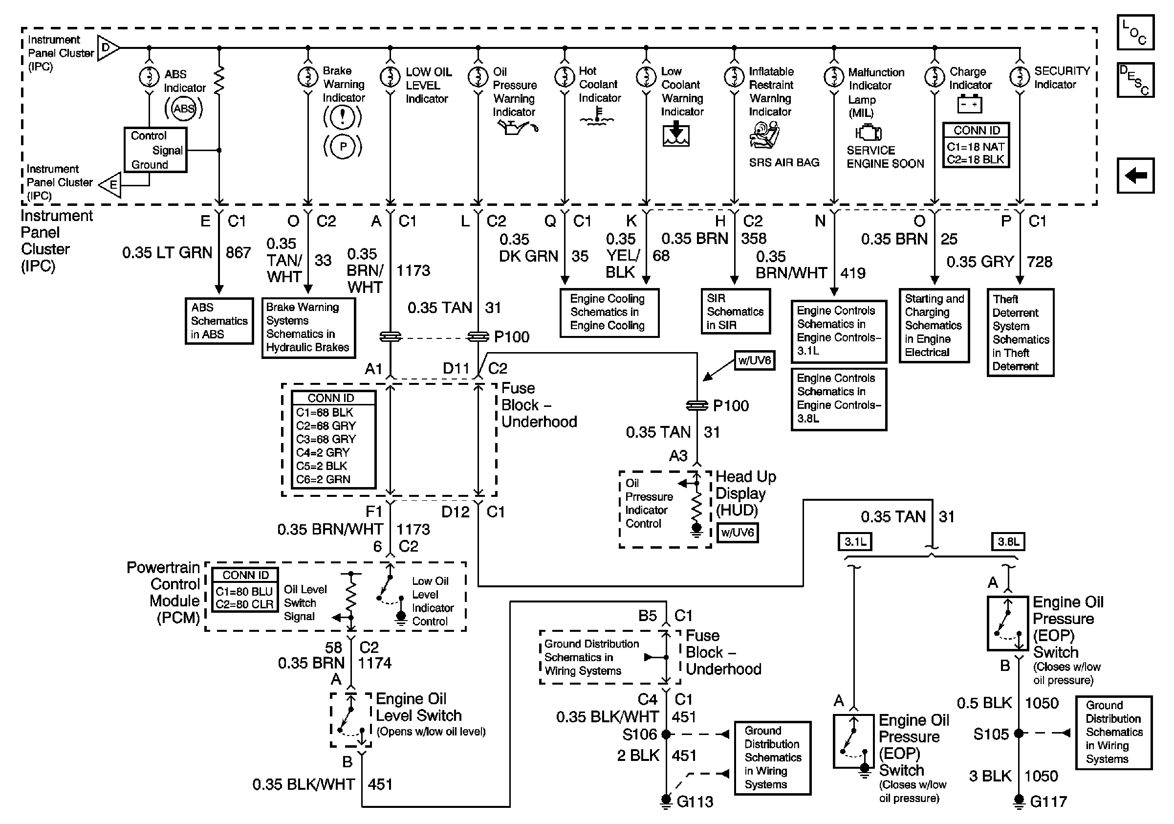
Figure 4:

Indicators


Object Number: 792282  Size: FS
Master Electrical Component List
Instrument Cluster Description and Operation
Engine Coolant Temperature Gauge, Fuel Gauge, and Low Fuel Indicator
Engine Coolant Temperature Gauge, Fuel Gauge, and Low Fuel Indicator
Engine Coolant Temperature Gauge, Fuel Gauge, and Low Fuel Indicator
ABS Indicator, Torque Signals, and Steering
Brake Warning
Indicators
SIR Schematics
PCM Power, Ground, Serial Data, and MIL
PCM Power, Ground, MIL, and Serial Data
Generator
Theft Deterrent Control Module
G100, G111, G113
G100, G111, G113
G117