|
| ||||||||||||||
|---|---|---|---|---|---|---|---|---|---|---|---|---|---|---|---|
Connector Part Information |
| Connector Part Information |
| ||||||||||||
Pin | Wire Color | Circuit No. | Function | Pin | Wire Color | Circuit No. | Function | ||||||||
A | LT GRN | 24 | Backup Lamp Supply Voltage | A | LT GRN | 24 | Backup Lamp Supply Voltage | ||||||||
B | LT GRN | 867 | ABS Indicator Failure Control (JL9) | B | LT GRN | 867 | ABS Indicator Failure Control | ||||||||
C | WHT | 1310 | EVAP Canister Vent Solenoid Control | C | WHT | 1310 | EVAP Canister Vent Solenoid Control | ||||||||
D | DK GRN | 389 | Vehicle Speed Signal | D | DK GRN | 389 | Vehicle Speed Signal | ||||||||
E | BRN/WHT | 1571 | Traction Control Switch Signal (JL9) | E | BRN/WHT | 1571 | Traction Control Switch Signal | ||||||||
F | -- | -- | Not Used | F | -- | -- | Not Used | ||||||||
G | LT GRN | 1656 | Traction Active Indicator Control (JL9) | G | LT GRN | 1656 | Traction Active Indicator Control | ||||||||
H | TAN | 800 | UART Serial Data | H | TAN | 800 | UART Serial Data | ||||||||
J | WHT | 17 | Stop Lamp Switch Signal (JL9) | J | WHT | 17 | Stop Lamp Switch Signal | ||||||||
K | GRY | 2709 | 5 Volt Reference | K | GRY | 2700 | 5 Volt Reference | ||||||||
L | BLK | 884 | Left Rear Wheel Speed Sensor Signal (JL9) | L | BLK | 884 | Left Rear Wheel Speed Sensor Signal | ||||||||
M | RED | 885 | Left Rear Wheel Speed Sensor Low Reference (JL9) | M | RED | 885 | Left Rear Wheel Speed Sensor Low Reference | ||||||||
N | BRN | 882 | Right Rear Wheel Speed Sensor Signal (JL9) | N | BRN | 882 | Right Rear Wheel Speed Sensor Signal | ||||||||
P | WHT | 883 | Right Rear Wheel Speed Sensor Low Reference (JL9) | P | WHT | 883 | Right Rear Wheel Speed Sensor Low Reference | ||||||||
R | PPL/WHT | 1572 | Traction Indicator Control (JL9) | R | PPL/WHT | 1572 | Traction Indicator Control | ||||||||
S | PPL | 1807 | Class 2 Serial Data | S | PPL | 1807 | Class 2 Serial Data | ||||||||
T | DK BLU | 229 | Fuel Enable Control | T | DK BLU | 229 | Fuel Enable Control | ||||||||
U | -- | -- | Not Used | U | -- | -- | Not Used | ||||||||
V | DK GRN/ WHT | 762 | A/C Request Signal | V | DK GRN/ WHT | 762 | A/C Request Signal | ||||||||
W | GRY | 803 | Change Engine Oil Indicator Control (w/o U40) | W | GRY | 803 | Change Engine Oil Indicator Control (w/o U40) | ||||||||
|
| ||||||||||||||
|---|---|---|---|---|---|---|---|---|---|---|---|---|---|---|---|
Connector Part Information |
| Connector Part Information |
| ||||||||||||
Pin | Wire Color | Circuit No. | Function | Pin | Wire Color | Circuit No. | Function | ||||||||
A | PNK | 639 | Ignition 1 Voltage | A | PNK | 639 | Ignition 1 Voltage | ||||||||
B | YEL | 410 | ECT Sensor Signal | B | YEL | 410 | ECT Sensor Signal | ||||||||
C | BLK | 1744 | Fuel Injector 1 Control | C | BLK | 1744 | Fuel Injector 1 Control | ||||||||
D | LT GRN/BLK | 1745 | Fuel Injector 2 Control | D | LT GRN/BLK | 1745 | Fuel Injector 2 Control | ||||||||
E | PNK/BLK | 1746 | Fuel Injector 3 Control | E | PNK/BLK | 1746 | Fuel Injector 3 Control | ||||||||
F | LT BLU/BLK | 844 | Fuel Injector 4 Control | F | LT BLU/BLK | 844 | Fuel Injector 4 Control | ||||||||
G | BLK/WHT | 845 | Fuel Injector 5 Control | G | BLK/WHT | 845 | Fuel Injector 5 Control | ||||||||
H | YEL/BLK | 846 | Fuel Injector 6 Control | H | YEL/BLK | 846 | Fuel Injector 6 Control | ||||||||
J | DK GRN | 135 | ECT Sensor Gage Signal | J | -- | -- | Not Used | ||||||||
K | GRY | 2704 | 5 Volt Reference | K | GRY | 2704 | 5 Volt Reference | ||||||||
L | ORN/BLK | 469 | Low Reference | L | ORN/BLK | 469 | Low Reference | ||||||||
M | LT GRN | 432 | MAP Sensor Signal | M | LT GRN | 432 | MAP Sensor Signal | ||||||||
N | RED/WHT | 812 | 12 Volt Reference | N | RED/WHT | 812 | 12 Volt Reference | ||||||||
P | BLK | 808 | Low Reference | P | BLK | 407 | Low Reference | ||||||||
R | BLK/WHT | 630 | Camshaft Position Signal | R | BRN/WHT | 633 | Camshaft Position Signal | ||||||||
S | -- | -- | Not Used | S | -- | -- | Not Used | ||||||||
|
| ||||||||||||||
|---|---|---|---|---|---|---|---|---|---|---|---|---|---|---|---|
Connector Part Information |
| Connector Part Information |
| ||||||||||||
Pin | Wire Color | Circuit No. | Function | Pin | Wire Color | Circuit No. | Function | ||||||||
A | BLK | 250 | Ground | A | BLK | 250 | Ground (JL9) | ||||||||
B | YEL | 5 | Crank Voltage | B | YEL | 5 | Crank Voltage | ||||||||
C | BLK/WHT | 251 | Ground | C | BLK/WHT | 251 | Ground (JL9) | ||||||||
|
| ||||||||||||||
|---|---|---|---|---|---|---|---|---|---|---|---|---|---|---|---|
Connector Part Information |
| Connector Part Information |
| ||||||||||||
Pin | Wire Color | Circuit No. | Function | Pin | Wire Color | Circuit No. | Function | ||||||||
A | GRY | 532 | Cooling Fan Motor Ground | A | BLK | 1050 | Cooling Fan Motor Ground | ||||||||
B | WHT | 504 | Cooling Fan Motor Supply Voltage | B | LT BLU | 409 | Cooling Fan Motor Supply Voltage | ||||||||
C | BLK | 1050 | Ground | C | GRY | 532 | Ground | ||||||||
D | LT BLU | 409 | Cooling Fan Motor Supply Voltage | D | WHT | 504 | Cooling Fan Motor Supply Voltage | ||||||||
|
| ||||||||||||||
|---|---|---|---|---|---|---|---|---|---|---|---|---|---|---|---|
Connector Part Information |
| Connector Part Information |
| ||||||||||||
Pin | Wire Color | Circuit No. | Function | Pin | Wire Color | Circuit No. | Function | ||||||||
A | BLK | 1050 | Ground | A | BLK | 1050 | Ground | ||||||||
B | LT BLU | 409 | Cooling Fan Motor Supply Voltage | B | LT BLU | 409 | Cooling Fan Motor Supply Voltage | ||||||||
C | GRY | 532 | Cooling Fan Motor Ground | C | GRY | 532 | Cooling Fan Motor Ground | ||||||||
D | WHT | 504 | Cooling Fan Motor Supply Voltage | D | WHT | 504 | Cooling Fan Motor Supply Voltage | ||||||||
|
| ||||||||||||||
|---|---|---|---|---|---|---|---|---|---|---|---|---|---|---|---|
Connector Part Information |
| Connector Part Information |
| ||||||||||||
Pin | Wire Color | Circuit No. | Function | Pin | Wire Color | Circuit No. | Function | ||||||||
A | WHT | 423 | IC Timing Control | A | WHT | 423 | IC Timing Control | ||||||||
B | TAN/BLK | 424 | IC Timing Signal | B | TAN/BLK | 424 | IC Timing Signal | ||||||||
C | LT BLU/BLK | 647 | Medium Resolution Engine Speed Signal | C | LT BLU/BLK | 647 | Medium Resolution Engine Speed Signal | ||||||||
D | PPL/WHT | 430 | Low Resolution Engine Speed Signal | D | PPL/WHT | 430 | Low Resolution Engine Speed Signal | ||||||||
E | -- | -- | Not Used | E | WHT | 121 | Engine Speed Signal | ||||||||
F | BLK | 630 | Camshaft Position Signal | F | BLK | 630 | Camshaft Position Signal | ||||||||
G | RED/BLK | 453 | Low Reference | G | RED/BLK | 453 | Low Reference | ||||||||
H | PNK | 239 | Ignition 1 Voltage | H | PNK | 239 | Ignition 1 Voltage | ||||||||
|
| ||||||||||||||
|---|---|---|---|---|---|---|---|---|---|---|---|---|---|---|---|
Connector Part Information |
| Connector Part Information |
| ||||||||||||
Pin | Wire Color | Circuit No. | Function | Pin | Wire Color | Circuit No. | Function | ||||||||
A | LT GRN | 1222 | 1-2 Shift Solenoid Valve Control | A | LT GRN | 1222 | 1-2 Shift Solenoid Valve Control | ||||||||
B | YEL/BLK | 1223 | 2-3 Shift Solenoid Valve Control | B | YEL | 1223 | 2-3 Shift Solenoid Valve Control | ||||||||
C | RED/BLK | 1228 | PC Solenoid Valve High Control (Sol. A) | C | PPL | 1228 | PC Solenoid Valve High Control (Sol. A) | ||||||||
D | LT BLU/WHT | 1229 | PC Solenoid Valve Low Control (Sol. A) | D | LT BLU | 1229 | PC Solenoid Valve Low Control (Sol. A) | ||||||||
E | PNK | 1339 | Ignition 1 Voltage | E | RED | 839 | Ignition 1 Voltage | ||||||||
F | BLK/WHT | 771 | Transmission Range Switch Signal A | F | RED/BLK | 771 | Transmission Range Switch Signal A | ||||||||
G | YEL | 772 | Transmission Range Switch Signal B | G | DK GRN /WHT | 772 | Transmission Range Switch Signal B | ||||||||
H | GRY | 773 | Transmission Range Switch Signal C | H | YEL/BLK | 773 | Transmission Range Switch Signal C | ||||||||
J | WHT | 776 | Transmission Range Switch Signal P | J | GRY/WHT | 776 | Transmission Range Switch Signal P | ||||||||
K | BLK/WHT | 451 | Ground | K | BLK/WHT | 1050 | Ground | ||||||||
L | YEL/BLK | 1227 | TFT Sensor Signal | L | BRN | 1227 | TFT Sensor Signal | ||||||||
M | BLK | 2762 | Low Reference | M | GRY | 452 | Low Reference | ||||||||
N-R | -- | -- | Unavailable | N-R | -- | -- | Unavailable | ||||||||
S | RED/BLK | 1230 | AT ISS High Signal | S | BLK | 1230 | AT ISS High Signal | ||||||||
T | BRN | 418 | TCC PWM Solenoid Valve Control | T | TAN | 418 | TCC PWM Solenoid Valve Control | ||||||||
U | YEL | 657 | TCC Release Switch Signal | U | WHT | 1804 | TCC Release Switch Signal | ||||||||
V | DK BLU/ WHT | 1231 | AT ISS Low Signal | V | DK GRN | 1231 | AT ISS Low Signal | ||||||||
W | -- | -- | Unavailable | W | -- | -- | Unavailable | ||||||||
|
| ||||||||||||||
|---|---|---|---|---|---|---|---|---|---|---|---|---|---|---|---|
Connector Part Information |
| Connector Part Information |
| ||||||||||||
Pin | Wire Color | Circuit No. | Function | Pin | Wire Color | Circuit No. | Function | ||||||||
A | BRN | 718 | Low Reference | A | YEL | 61 | Low Reference | ||||||||
B | LT GRN/BLK | 735 | Ambient Air Temperature Sensor Signal | B | LT GRN/BLK | 735 | Ambient Air Temperature Sensor Signal | ||||||||
C | -- | -- | Not Used | C | -- | -- | Not Used | ||||||||
|
| ||||||||||||||
|---|---|---|---|---|---|---|---|---|---|---|---|---|---|---|---|
Connector Part Information |
| Connector Part Information |
| ||||||||||||
Pin | Wire Color | Circuit No. | Function | Pin | Wire Color | Circuit No. | Function | ||||||||
A | BLK | 452 | Low Reference | A | BLK | 2761 | Low Reference | ||||||||
B | YEL | 410 | ECT Sensor Signal | B | YEL | 410 | ECT Sensor Signal | ||||||||
C | DK GRN | 135 | ECT Sensor Gage Signal | C | DK GRN | 135 | ECT Sensor Gage Signal | ||||||||
|
| ||||||||||||||
|---|---|---|---|---|---|---|---|---|---|---|---|---|---|---|---|
Connector Part Information |
| Connector Part Information |
| ||||||||||||
Pin | Wire Color | Circuit No. | Function | Pin | Wire Color | Circuit No. | Function | ||||||||
A | TAN | 12 | Low Beam Headlamp Feed | A | TAN | 12 | Low Beam Headlamp Feed | ||||||||
B | BLK | 1350 | Ground | B | BLK | 1250 | Ground | ||||||||
C | LT GRN | 11 | Headlamp High Beam Supply Voltage | C | LT GRN | 11 | Headlamp High Beam Supply Voltage | ||||||||
D | LT BLU/BLK | 14 | Left Turn Signal Lamps Supply Voltage | D | DK BLU | 15 | Left Turn Signal Lamps Supply Voltage | ||||||||
E | BRN | 9 | Park Lamp Supply Voltage | E | BRN | 9 | Park Lamp Supply Voltage | ||||||||
F | BLK/WHT | 1350 | Ground | F | BLK | 1250 | Ground | ||||||||
G | LT BLU | 14 | Left Turn Signal Lamps Supply Voltage | G | DK BLU | 15 | Left Turn Signal Lamps Supply Voltage | ||||||||
H | BRN/WHT | 9 | Park Lamp Supply Voltage | H | BRN | 9 | Park Lamp Supply Voltage | ||||||||
|
| ||||||||||||||
|---|---|---|---|---|---|---|---|---|---|---|---|---|---|---|---|
Connector Part Information |
| Connector Part Information |
| ||||||||||||
Pin | Wire Color | Circuit No. | Function | Pin | Wire Color | Circuit No. | Function | ||||||||
A | TAN | 12 | Headlamp Low Beam Supply Voltage | A | TAN | 12 | Headlamp Low Beam Supply Voltage | ||||||||
B | BLK | 1350 | Ground | B | BLK | 1250 | Ground | ||||||||
C | LT GRN | 11 | Headlamp High Beam Supply Voltage | C | LT GRN | 11 | Headlamp High Beam Supply Voltage | ||||||||
D | DK BLU/ WHT | 15 | Right Turn Signal Lamps Supply Voltage | D | DK BLU | 15 | Right Turn Signal Lamps Supply Voltage | ||||||||
E | BRN | 9 | Park Lamp Supply Voltage | E | BRN | 9 | Park Lamp Supply Voltage | ||||||||
F | BLK/WHT | 1350 | Ground | F | BLK | 1250 | Ground | ||||||||
G | DK BLU | 15 | Right Turn Signal Lamps Supply Voltage | G | DK BLU | 15 | Right Turn Signal Lamps Supply Voltage | ||||||||
H | BRN/WHT | 9 | Park Lamp Supply Voltage | H | BRN | 9 | Park Lamp Supply Voltage | ||||||||
|
| ||||||||||||||
|---|---|---|---|---|---|---|---|---|---|---|---|---|---|---|---|
Connector Part Information |
| Connector Part Information |
| ||||||||||||
Pin | Wire Color | Circuit No. | Function | Pin | Wire Color | Circuit No. | Function | ||||||||
A | PPL | 1589 | Fuel Level Sensor Signal | A | PPL | 1589 | Fuel Level Sensor Signal | ||||||||
B | BLK | 2759 | Low Reference | B | BLK | 2759 | Low Reference | ||||||||
C | ORN | 55 | Fuel Gage Signal | C | ORN | 55 | Fuel Gage Signal | ||||||||
D | DK GRN | 890 | Fuel Tank Pressure Sensor Signal | D | DK GRN | 890 | Fuel Tank Pressure Sensor Signal | ||||||||
E-H | -- | -- | Not Used | E-H | -- | -- | Not Used | ||||||||
J | DK GRN | 83 | Cruise Control Inhibit Signal | J | DK GRN | 83 | Cruise Control Inhibit Signal | ||||||||
K | WHT | 85 | Cruise Control Engaged Signal | K | WHT | 85 | Cruise Control Engaged Signal | ||||||||
|
| ||||||||||||||
|---|---|---|---|---|---|---|---|---|---|---|---|---|---|---|---|
Connector Part Information |
| Connector Part Information |
| ||||||||||||
Pin | Wire Color | Circuit No. | Function | Pin | Wire Color | Circuit No. | Function | ||||||||
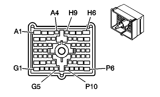
A1 | WHT | 1310 | EVAP Canister Vent Solenoid Control | A1 | WHT | 1310 | EVAP Canister Vent Solenoid Control | ||||||||
A2 | GRY | 120 | Fuel Pump Supply Voltage | A2 | GRY | 120 | Fuel Pump Supply Voltage | ||||||||
A3 | PPL | 293 | Rear Defog Element Supply Voltage | A3 | PPL | 293 | Rear Defog Element Supply Voltage | ||||||||
A4 | GRY | 8 | Instrument Panel Lamp Supply Voltage | A4 | GRY | 8 | Instrument Panel Lamp Supply Voltage | ||||||||
GRY | 8 | Instrument Panel Lamp Supply Voltage | |||||||||||||
B1 | PNK | 1639 | Ignition 1 Voltage | B1 | PNK | 1639 | Ignition 1 Voltage | ||||||||
B2 | ORN | 340 | Battery Positive Voltage | B2 | ORN | 340 | Battery Positive Voltage | ||||||||
B3 | -- | -- | Not Used | B3 | -- | -- | Not Used | ||||||||
B4 | PPL | 1589 | Fuel Level Sensor Signal | B4 | PPL | 1589 | Fuel Level Sensor Signal | ||||||||
C1 | DK BLU | 46 | Right Rear Speaker Output (+) (UW6) | C1 | DK BLU | 46 | Right Rear Speaker Output (+) (UW6) | ||||||||
PNK | 314 | Radio On Signal (U85) | PNK | 314 | Radio On Signal (U85) | ||||||||||
C2 | DK GRN | 117 | Right Front Speaker Output (-) (UW6) | C2 | DK GRN | 117 | Right Front Speaker Output (-) (UW6) | ||||||||
ORN | 740 | Battery Positive Voltage (U85) | ORN | 740 | Battery Positive Voltage (U85) | ||||||||||
C3 | LT BLU | 115 | Right Rear Speaker Output (-) (UW6) | C3 | LT BLU | 115 | Right Rear Speaker Output (-) (UW6) | ||||||||
C4 | GRY | 118 | Left Front Speaker Output (-) (UW6) | C4 | GRY | 118 | Left Front Speaker Output (-) (UW6) | ||||||||
D1 | YEL | 116 | Left Rear Speaker Output (-) (UW6) | D1 | YEL | 116 | Left Rear Speaker Output (-) (UW6) | ||||||||
D2 | TAN | 201 | Left Front Speaker Output (+) (UW6) | D2 | TAN | 201 | Left Front Speaker Output (+) (UW6) | ||||||||
D3 | LT GRN | 200 | Right Front Speaker Output (+) (UW6) | D3 | LT GRN | 200 | Right Front Speaker Output (+) (UW6) | ||||||||
E1 | BRN | 882 | Right Rear Wheel Speed Sensor Signal | E1 | BRN | 882 | Right Rear Wheel Speed Sensor Signal | ||||||||
E2 | WHT | 883 | Right Rear Wheel Speed Sensor Low Reference | E2 | WHT | 883 | Right Rear Wheel Speed Sensor Low Reference | ||||||||
E3 | BLK | 884 | Left Rear Wheel Speed Sensor Signal | E3 | BLK | 884 | Left Rear Wheel Speed Sensor Signal | ||||||||
E4 | RED | 885 | Left Rear Wheel Speed Sensor Low Reference | E4 | RED | 885 | Left Rear Wheel Speed Sensor Low Reference | ||||||||
F1 | TAN | 694 | Driver Door Lock Actuator Unlock Control | F1 | TAN | 694 | Driver Door Lock Actuator Unlock Control | ||||||||
F2 | LT GRN | 1828 | Security System Tamper Signal | F2 | LT GRN | 1828 | Security System Tamper Signal | ||||||||
F3 | BRN | 718 | Low Reference | F3 | BRN | 718 | Low Reference | ||||||||
F4 | LT GRN/BLK | 735 | Ambient Air Temperature Sensor Signal | F4 | LT GRN/BLK | 735 | Ambient Air Temperature Sensor Signal | ||||||||
G1 | BRN | 9 | Park Lamp Supply Voltage | G1 | BRN | 9 | Park Lamp Supply Voltage | ||||||||
BRN | 9 | Park Lamp Supply Voltage (OnStar) | |||||||||||||
G2 | RED/BLK | 744 | Trunk Ajar Switch Signal | G2 | RED/BLK | 744 | Trunk Ajar Switch Signal | ||||||||
G3 | GRY/BLK | 745 | Left Front Door Ajar Switch Signal | G3 | GRY/BLK | 745 | Left Front Door Ajar Switch Signal | ||||||||
G4 | BLK/WHT | 746 | Right Front Door Ajar Switch Signal | G4 | BLK/WHT | 746 | Right Front Door Ajar Switch Signal | ||||||||
G5 | LT BLU/BLK | 747 | Left Rear Door Ajar Switch Signal | G5 | LT BLU/BLK | 747 | Left Rear Door Ajar Switch Signal | ||||||||
H6 | BLK/WHT | 351 | Ground (U85 or U40) | H6 | BLK/WHT | 351 | Ground (OnStar) | ||||||||
BLK | 351 | Ground (U85) or (U85, and OnStar) | |||||||||||||
H7 | DK GRN | 890 | Fuel Tank Pressure Sensor Signal | H7 | DK GRN | 890 | Fuel Tank Pressure Sensor Signal | ||||||||
H8 | YEL | 143 | Accessory Voltage | H8 | YEL | 143 | Accessory Voltage | ||||||||
H9 | BLK/WHT | 238 | Seat Belt Switch - Left | H9 | BLK/WHT | 238 | Seat Belt Switch - Left | ||||||||
BLK/WHT | 238 | Seat Belt Switch - Left | |||||||||||||
J6 | ORN/BLK | 781 | Driver Door Lock Switch Unlock Signal | J6 | ORN/BLK | 781 | Driver Door Lock Switch Unlock Signal | ||||||||
ORN/BLK | 781 | Driver Door Lock Switch Unlock Signal (W/O OnStar) | |||||||||||||
J7 | WHT | 17 | Stop Lamp Switch Signal | J7 | WHT | 17 | Stop Lamp Switch Signal | ||||||||
J8 | DK BLU | 49 | Door Open Switch Signal | J8 | DK BLU | 49 | Door Open Switch Signal | ||||||||
J9 | WHT | 194 | Door Unlock Control | J9 | WHT | 194 | Door Unlock Control | ||||||||
WHT | 194 | Door Unlock Control (W/O OnStar) | |||||||||||||
K6 | -- | -- | Not Used | K6 | -- | -- | Not Used | ||||||||
K7 | DK BLU | 1393 | Interior Lamp Relay Coil Control | K7 | DK BLU | 1393 | Interior Lamp Relay Coil Control | ||||||||
K8 | DK GRN | 19 | Right Rear Stop/Turn Lamp Supply Voltage | K8 | DK GRN | 19 | Right Rear Stop/Turn Lamp Supply Voltage | ||||||||
K9 | -- | -- | Not Used | K9 | -- | -- | Not Used | ||||||||
L6 | LT BLU | 195 | Door Lock Control | L6 | LT BLU | 195 | Door Lock Control | ||||||||
LT BLU | 195 | Door Lock Control | |||||||||||||
L7 | ORN | 1140 | Battery Positive Voltage | L7 | ORN | 1140 | Battery Positive Voltage | ||||||||
L8 | TAN | 159 | Driver Door Ajar Signal | L8 | TAN | 159 | Driver Door Ajar Signal | ||||||||
M6 | LT GRN | 24 | Backup Lamp Supply Voltage | M6 | LT GRN | 24 | Backup Lamp Supply Voltage | ||||||||
M7 | YEL | 18 | Left Rear Stop/Turn Lamp Supply Voltage | M7 | YEL | 18 | Left Rear Stop/Turn Lamp Supply Voltage | ||||||||
M8 | GRY | 2700 | 5 Volt Reference | M8 | GRY | 2700 | 5 Volt Reference | ||||||||
M9 | BRN | 199 | Left Rear Speaker Output (+) (w/o U85) | M9 | BRN | 199 | Left Rear Speaker Output (+) (w/o U85) | ||||||||
N6 | TAN | 294 | Door Lock Actuator Unlock Control | N6 | TAN | 294 | Door Lock Actuator Unlock Control | ||||||||
N7 | GRY | 295 | Door Lock Actuator Lock Control | N7 | GRY | 295 | Door Lock Actuator Lock Control | ||||||||
N8 | YEL | 343 | Accessory Voltage | N8 | YEL | 343 | Accessory Voltage | ||||||||
N9 | BLK | 2759 | Accessory Voltage | N9 | BLK | 2759 | Accessory Voltage | ||||||||
P6 | GRY/BLK | 690 | Courtesy Lamp Relay Coil Control | P6 | GRY/BLK | 690 | Courtesy Lamp Relay Coil Control | ||||||||
P7 | BLK/WHT | 56 | Trunk Release Motor Control | P7 | BLK/WHT | 56 | Trunk Release Motor Control | ||||||||
BLK/WHT | 56 | Trunk Release Motor Control | |||||||||||||
P8 | ORN | 2040 | Battery Positive Voltage | P8 | ORN | 2040 | Battery Positive Voltage | ||||||||
P9 | LT GRN/BLK | 748 | Right Rear Door Ajar Switch Signal | P9 | LT GRN/BLK | 748 | Right Rear Door Ajar Switch Signal | ||||||||
P10 | -- | -- | Not Used | P10 | -- | -- | Not Used | ||||||||
|
| ||||||||||||||
|---|---|---|---|---|---|---|---|---|---|---|---|---|---|---|---|
Connector Part Information |
| Connector Part Information |
| ||||||||||||
Pin | Wire Color | Circuit No. | Function | Pin | Wire Color | Circuit No. | Function | ||||||||
A1 | WHT | 17 | Stop Lamp Switch Signal | A1 | WHT | 17 | Stop Lamp Switch Signal | ||||||||
A2 | PNK | 539 | Fused Ignition 1 Feed | A2 | PNK | 539 | Fused Ignition 1 Feed | ||||||||
A3 | ORN | 3140 | Ignition 1 Voltage | A3 | ORN | 3140 | Ignition 1 Voltage | ||||||||
A4 | PPL | 16 | Turn Signal Flasher Signal | A4 | PPL | 16 | Turn Signal Flasher Signal | ||||||||
A5 | -- | -- | Not Used | A5 | -- | -- | Not Used | ||||||||
A6 | DK BLU | 15 | Right Turn Signal Lamps Supply Voltage | A6 | DK BLU | 15 | Right Turn Signal Lamps Supply Voltage | ||||||||
A7 | LT BLU | 14 | Left Turn Signal Lamps Supply Voltage | A7 | LT BLU | 14 | Left Turn Signal Lamps Supply Voltage | ||||||||
A8 | PPL | 1807 | Class 2 Serial Data | A8 | PPL | 1807 | Class 2 Serial Data | ||||||||
A9 | BLK | 1550 | Ground | A9 | BLK | 1550 | Ground | ||||||||
A10 | GRY | 728 | Security Indicator Control | A10 | GRY | 728 | Security Indicator Control | ||||||||
A11 | BLK | 28 | Horn Relay Control | A11 | BLK | 28 | Horn Relay Control | ||||||||
A12 | GRY | 397 | Cruise Control On Switch Signal | A12 | GRY | 397 | Cruise Control On Switch Signal | ||||||||
A13 | PNK | 739 | Ignition 1 Voltage | A13 | PNK | 739 | Ignition 1 Voltage | ||||||||
A14 | DK BLU | 84 | Cruise Control Set/Coast Switch Signal | A14 | DK BLU | 84 | Cruise Control Set/Coast Switch Signal | ||||||||
A15 | GRY/BLK | 87 | Cruise Control Resume/Accel Switch Signal | A15 | GRY/BLK | 87 | Cruise Control Resume/Accel Switch Signal | ||||||||
A16 | PNK | 439 | Ignition 1 Voltage | A16 | PNK | 439 | Ignition 1 Voltage | ||||||||
A17 | DK BLU | 229 | Fuel Enable Control | A17 | DK BLU | 229 | Fuel Enable Control | ||||||||
|
| ||||||||||||||
|---|---|---|---|---|---|---|---|---|---|---|---|---|---|---|---|
Connector Part Information |
| Connector Part Information |
| ||||||||||||
Pin | Wire Color | Circuit No. | Function | Pin | Wire Color | Circuit No. | Function | ||||||||
B1 | -- | -- | Not Used | B1 | -- | -- | Not Used | ||||||||
B2 | BLK | 150 | Ground | B2 | BLK | 1550 | Ground | ||||||||
B3 | LT GRN | 80 | Key-In-Ignition Switch Signal | B3 | LT GRN | 80 | Key-In-Ignition Switch Signal | ||||||||
B4 | TAN | 159 | Ground | B4 | BLK | 1550 | Ground | ||||||||
B5 | TAN/WHT | 33 | Brake Warning Indicator Control | B5 | TAN/WHT | 33 | Brake Warning Indicator Control | ||||||||
B6 | -- | -- | Not Used | B6 | -- | -- | Not Used | ||||||||
C1 | WHT | 1390 | Off/Run/Crank Voltage | C1 | WHT | 1390 | Off/Run/Crank Voltage | ||||||||
C2 | BLK/GRY | 150 | Ground | C2 | BLK | 1450 | Ground | ||||||||
C3-C4 | -- | -- | Not Used | C3-C4 | -- | -- | Not Used | ||||||||
C5 | PNK | 3 | Ignition 1 Voltage | C5 | PNK | 3 | Ignition 1 Voltage | ||||||||
C6 | ORN | 300 | Ignition 3 Voltage | C6 | ORN | 300 | Ignition 3 Voltage | ||||||||
D1 | YEL | 5 | Crank Voltage | D1 | YEL | 5 | Crank Voltage | ||||||||
D2 | RED | 1342 | Battery Positive Voltage | D2 | RED | 142 | Battery Positive Voltage | ||||||||
D3 | WHT/BLK | 987 | Ignition Lock Cylinder Control Actuator Signal | D3 | PPL/WHT | 1630 | Ignition Lock Cylinder Control Actuator Signal | ||||||||
D4 | BLK | 150 | Ground | D4 | BLK | 150 | Ground | ||||||||
D5 | RED/WHT | 1442 | Battery Positive Voltage | D5 | RED | 42 | Battery Positive Voltage | ||||||||
D6 | BRN | 4 | Accessory Voltage | D6 | BRN | 4 | Accessory Voltage | ||||||||
|
| ||||||||||||||
|---|---|---|---|---|---|---|---|---|---|---|---|---|---|---|---|
Connector Part Information |
| Connector Part Information |
| ||||||||||||
Pin | Wire Color | Circuit No. | Function | Pin | Wire Color | Circuit No. | Function | ||||||||
E1 | LT BLU | 1508 | Turn/Hazard Module Supply Voltage | E1 | LT BLU | 1508 |
Turn/Hazard Module Supply Voltage | ||||||||
E2 | DK GRN | 113 | Windshield Wiper Switch On Signal | E2 | DK GRN | 113 | Windshield Wiper Switch On Signal | ||||||||
E3 | GRY | 112 | Windshield Wiper Switch Low/Pulse Signal | E3 | GRY | 112 | Windshield Wiper Switch Low/Pulse Signal | ||||||||
E4 | PPL | 92 | Windshield Wiper Motor High Speed | E4 | PPL | 92 | Windshield Wiper Motor High Speed | ||||||||
E5 | RED | 228 | Windshield Washer Pump Control | E5 | RED | 228 | Windshield Washer Pump Control | ||||||||
E6 | DK GRN | 19 | Right Rear Stop/Turn Lamp Supply Voltage | E6 | DK GRN | 19 | Right Rear Stop/Turn Lamp Supply Voltage | ||||||||
E7 | YEL | 18 | Left Rear Stop/Turn Lamp Supply Voltage | E7 | YEL | 18 | Left Rear Stop/Turn Lamp Supply Voltage | ||||||||
E8 | ORN | 1840 | Battery Positive Voltage | E8 | ORN | 1840 | Battery Positive Voltage | ||||||||
E9 | YEL/BLK | 243 | Accessory Voltage | E9 | YEL | 243 | Accessory Voltage | ||||||||
E10 | YEL/RED | 307 | Headlamp Switch Flash to Pass Signal | E10 | YEL | 307 | Headlamp Switch Flash to Pass Signal | ||||||||
E11 | LT GRN | 11 | Headlamp High Beam Supply Voltage | E11 | LT GRN | 11 | Headlamp High Beam Supply Voltage | ||||||||
E12 | TAN | 12 | Headlamp Low Beam Supply Voltage | E12 | TAN | 12 | Headlamp Low Beam Supply Voltage | ||||||||
E13 | YEL | 10 | Headlamp Switch Signal | E13 | YEL | 10 | Headlamp Switch Signal | ||||||||
|
| ||||||||||||||
|---|---|---|---|---|---|---|---|---|---|---|---|---|---|---|---|
Connector Part Information |
| Connector Part Information |
| ||||||||||||
Pin | Wire Color | Circuit No. | Function | Pin | Wire Color | Circuit No. | Function | ||||||||
A1 | ORN | 2140 | Battery Positive Voltage (OnStar) | A1 | ORN | 2140 | Battery Positive Voltage (OnStar) | ||||||||
A2 | ORN/BLK | 1340 | Battery Positive Voltage (OnStar) | A2 | ORN | 1340 | Battery Positive Voltage (OnStar) | ||||||||
A3 | BLK | 28 | Horn Relay Control (OnStar) | A3 | BLK | 28 | Horn Relay Control (OnStar) | ||||||||
A4 | LT BLU | 1405 | Remote Playback Device Audio Common Signal (OnStar) | A4 | LT BLU | 1405 | Remote Playback Device Audio Common Signal (OnStar) | ||||||||
A5 | LT GRN | 1407 | Remote Playback Device Right Audio Signal (OnStar) | A5 | LT GRN | 1407 | Remote Playback Device Right Audio Signal (OnStar) | ||||||||
A6 | BARE | 2011 | Audio Drain Wire (OnStar) | A6 | BARE | 2011 | Audio Drain Wire (OnStar) | ||||||||
A7 | -- | -- | Not Used | A7 | -- | Not Used | |||||||||
A8 | BLK | 1946 | Right Rear Low Level Audio Signal (-) (U85) | A8 | BLK | 1946 | Right Rear Low Level Audio Signal (-) (U85) | ||||||||
A9 | LT GRN/WHT | 1948 | Right Front Low Level Audio Signal (-) (U85) | A9 | LT GRN/WHT | 1948 | Right Front Low Level Audio Signal (-) (U85) | ||||||||
A10 | DK GRN | 1947 | Left Front Low Level Audio Signal (-) (U85) | A10 | DK GRN | 1947 | Left Front Low Level Audio Signal (-) (U85) | ||||||||
A11 | BRN/WHT | 1999 | Right Front Low Level Audio Signal (-) (U85) | A11 | BRN/WHT | 1999 | Right Front Low Level Audio Signal (-) (U85) | ||||||||
B1 | DK GRN | 835 | Entertainment and Comfort Serial Data (OnStar) | B1 | DK GRN | 835 | Entertainment and Comfort Serial Data (OnStar) | ||||||||
B2 | PPL | 1807 | Class 2 Serial Data (OnStar) | B2 | PPL | 1807 | Class 2 Serial Data (OnStar) | ||||||||
B3 | YEL | 43 | Accessory Voltage (OnStar) | B3 | YEL | 43 | Accessory Voltage (OnStar) | ||||||||
B4 | PNK | 239 | Ignition 1 Voltage (OnStar) | B4 | PNK | 239 | Ignition 1 Voltage (OnStar) | ||||||||
B5 | ORN/BLK | 1406 | Remote Playback Device Left Audio Signal (OnStar) | B5 | ORN/BLK | 1406 | Remote Playback Device Left Audio Signal (OnStar) | ||||||||
B6 -- B7 | -- | -- | Not Used | B6 | -- | -- | Not Used | ||||||||
B8 | DK BLU | 546 | Right Rear Low Level Audio Signal (U85) | B8 | DK BLU | 546 | Right Rear Low Level Audio Signal (U85) | ||||||||
B9 | LT GRN | 512 | Right Front Low Level Audio Signal (U85) | B9 | LT GRN | 512 | Right Front Low Level Audio Signal (U85) | ||||||||
B10 | TAN | 511 | Left Front Low Level Audio Signal (U85) | B10 | TAN | 511 | Left Front Low Level Audio Signal (U85) | ||||||||
B11 | BRN | 599 | Left Rear Low Level Audio Signal (U85) | B11 | BRN | 599 | Left Rear Low Level Audio Signal (U85) | ||||||||
|
| ||||||||||||||
|---|---|---|---|---|---|---|---|---|---|---|---|---|---|---|---|
Connector Part Information |
| Connector Part Information |
| ||||||||||||
Pin | Wire Color | Circuit No. | Function | Pin | Wire Color | Circuit No. | Function | ||||||||
A | PNK | 843 | Accessory Voltage | A | YEL | 843 | Accessory Voltage | ||||||||
B | DK BLU | 8 | Instrument Panel Lamp Supply Voltage | B | GRY/BLK | 1458 | Instrument Panel Lamp Supply Voltage | ||||||||
C | GRY/BLK | 1796 | Steering Wheel Controls Signal | C | DK BLU | 1796 | Steering Wheel Controls Signal | ||||||||
D | GRY | 1450 | Ground | D | BLK | 1450 | Ground | ||||||||
|
| ||||||||||||||
|---|---|---|---|---|---|---|---|---|---|---|---|---|---|---|---|
Connector Part Information |
| Connector Part Information |
| ||||||||||||
Pin | Wire Color | Circuit No. | Function | Pin | Wire Color | Circuit No. | Function | ||||||||
A | WHT | 347 | Steering Wheel Module - High Control | A | WHT | 347 | Steering Wheel Module - High Control | ||||||||
B | DK GRN | 348 | Steering Wheel Module - Low Control | B | DK GRN | 348 | Steering Wheel Module - Low Control | ||||||||
|
| ||||||||||||||
|---|---|---|---|---|---|---|---|---|---|---|---|---|---|---|---|
Connector Part Information |
| Connector Part Information |
| ||||||||||||
Pin | Wire Color | Circuit No. | Function | Pin | Wire Color | Circuit No. | Function | ||||||||
A | WHT/BLK | 1403 | I/P Module - High Control | A | WHT/BLK | 1403 | I/P Module - High Control | ||||||||
B | DK GRN/ WHT | 1404 | I/P Module - Low Control | B | DK GRN/ WHT | 1404 | I/P Module - Low Control | ||||||||
|
| ||||||||||||||
|---|---|---|---|---|---|---|---|---|---|---|---|---|---|---|---|
Connector Part Information |
| Connector Part Information |
| ||||||||||||
Pin | Wire Color | Circuit No. | Function | Pin | Wire Color | Circuit No. | Function | ||||||||
A | DK GRN/ WHT | 1135 | A/T Shift Lock Control Solenoid Supply Voltage | A | DK GRN/ WHT | 1135 | A/T Shift Lock Control Solenoid Supply Voltage | ||||||||
B | -- | -- | Not Used | B | -- | -- | Not Used | ||||||||
C | ORN/BLK | 434 | Neutral Safety Switch Signal | C | ORN/BLK | 434 | Neutral Safety Switch Signal | ||||||||
D | PNK | 1020 | Ignition 0 Voltage | D | PNK | 1020 | Ignition 0 Voltage | ||||||||
E | BRN | 541 | Ignition 3 Voltage | E | BRN | 541 | Ignition 3 Voltage (KA1) | ||||||||
F | GRY | 8 | Instrument Panel Lamp Supply Voltage | F | GRY | 8 | Instrument Panel Lamp Supply Voltage | ||||||||
G | ORN | 440 | Battery Positive Voltage | G | ORN | 440 | Battery Positive Voltage | ||||||||
H | BLK | 150 | Ground | H | BLK | 150 | Ground | ||||||||
J | PPL/WHT | 1630 | Ignition Lock Cylinder Control Actuator Signal | J | PPL/WHT | 1630 | Ignition Lock Cylinder Control Actuator Signal | ||||||||
K | -- | -- | Not Used | K | -- | -- | Not Used | ||||||||
|
| ||||||||||||||
|---|---|---|---|---|---|---|---|---|---|---|---|---|---|---|---|
Connector Part Information |
| Connector Part Information |
| ||||||||||||
Pin | Wire Color | Circuit No. | Function | Pin | Wire Color | Circuit No. | Function | ||||||||
A | ORN | 440 | Battery Positive Voltage | A | ORN | 440 | Battery Positive Voltage | ||||||||
B | GRY | 8 | Instrument Panel Lamp Supply Voltage | B | GRY | 8 | Instrument Panel Lamp Supply Voltage | ||||||||
C | BLK | 1450 | Ground | C | BLK | 1450 | Ground | ||||||||
|
| ||||||||||||||
|---|---|---|---|---|---|---|---|---|---|---|---|---|---|---|---|
Connector Part Information |
| Connector Part Information |
| ||||||||||||
Pin | Wire Color | Circuit No. | Function | Pin | Wire Color | Circuit No. | Function | ||||||||
A1-A2 | -- | -- | Not Used | A1-A2 | -- | -- | Not Used | ||||||||
A3 | LT BLU | 166 | Power Window Master Switch Right Front Up Signal | A3 | LT BLU | 166 | Power Window Master Switch Right Front Up Signal | ||||||||
A4 | TAN | 167 | Power Window Master Switch Right Front Down Signal | A4 | TAN | 167 | Power Window Master Switch Right Front Down Signal | ||||||||
A5 | LT GRN | 170 | Power Window Master Switch Right Rear Up Signal | A5 | LT GRN | 170 | Power Window Master Switch Right Rear Up Signal | ||||||||
A6 | PPL | 171 | Power Window Master Switch Right Rear Down Signal | A6 | PPL | 171 | Power Window Master Switch Right Rear Down Signal | ||||||||
A7-A8 | -- | -- | Not Used | A7-A8 | -- | -- | Not Used | ||||||||
B1 | -- | -- | Not Used | B1 | -- | -- | Not Used | ||||||||
B2 | LT BLU/WHT | 1497 | Passenger Mirror Motor Left/Up Control | B2 | LT BLU/WHT | 1497 | Passenger Mirror Motor Left/Up Control | ||||||||
B3 | GRY | 8 | Instrument Panel Lamp Supply Voltage | B3 | GRY | 8 | Instrument Panel Lamp Supply Voltage | ||||||||
B4 | BLK | 750 | Ground | B4 | BLK | 750 | Ground | ||||||||
B5 | TAN | 694 | Driver Door Lock Actuator Unlock Control | B5 | TAN | 694 | Driver Door Lock Actuator Unlock Control | ||||||||
B6 | WHT | 194 | Door Unlock Control | B6 | WHT | 194 | Door Unlock Control | ||||||||
B7 | LT BLU | 195 | Door Lock Control | B7 | LT BLU | 195 | Door Lock Control | ||||||||
B8 | GRY | 295 | Door Lock Actuator Lock Control | B8 | GRY | 295 | Door Lock Actuator Lock Control | ||||||||
B9 | TAN | 159 | Key-In-Ignition Switch Signal | B9 | TAN | 159 | Key-In-Ignition Switch Signal | ||||||||
B10 | ORN | 1140 | Battery Positive Voltage | B10 | ORN | 1140 | Battery Positive Voltage | ||||||||
B11 | -- | -- | Not Used | B11 | -- | -- | Not Used | ||||||||
B12 | BLK | 750 | Ground | B12 | BLK | 750 | Ground | ||||||||
C1 | -- | -- | Not Used | C1 | -- | -- | Not Used | ||||||||
C2 | RED/WHT | 881 | Passenger Mirror Motor Right Control | C2 | RED/WHT | 881 | Passenger Mirror Motor Right Control | ||||||||
C3 | BRN/WHT | 1498 | Passenger Mirror Motor Up Control | C3 | BRN/WHT | 1498 | Passenger Mirror Motor Up Control | ||||||||
C4 | GRY/BLK | 690 | Courtesy Lamp Relay Coil Control | C4 | -- | -- | Not Used | ||||||||
C5 | ORN/BLK | 781 | Driver Door Lock Switch Unlock Signal | C5 | ORN/BLK | 781 | Driver Door Lock Switch Unlock Signal | ||||||||
C6 | TAN | 201 | Left Front Speaker Output (+) | C6 | TAN | 201 | Left Front Speaker Output (+) | ||||||||
C7 | GRY | 118 | Left Front Speaker Output (-) | C7 | GRY | 118 | Left Front Speaker Output (-) | ||||||||
C8 | GRY/BLK | 745 | Left Front Door Ajar Switch Signal | C8 | GRY/BLK | 745 | Left Front Door Ajar Switch Signal | ||||||||
C9 | DK BLU | 1393 | Interior Lamp Relay Coil Control | C9 | -- | -- | Not Used | ||||||||
C10 | BLK | 750 | Ground | C10 | BLK | 750 | Ground | ||||||||
C11-C12 | -- | -- | Not Used | C11-C12 | -- | -- | Not Used | ||||||||
D1-D2 | -- | -- | Not Used | D1-D2 | -- | -- | Not Used | ||||||||
D3 | DK BLU | 1307 | Power Window Master Switch Lockout Signal | D3 | DK BLU | 1307 | Power Window Master Switch Lockout Signal | ||||||||
D4 | YEL | 143 | Accessory Voltage | D4 | YEL | 143 | Accessory Voltage | ||||||||
D5 | DK GRN | 168 | Power Window Master Switch Left Rear Up Signal | D5 | DK GRN | 168 | Power Window Master Switch Left Rear Up Signal | ||||||||
D6 | PPL | 169 | Power Window Master Switch Left Rear Down Signal | D6 | PPL | 169 | Power Window Master Switch Left Rear Down Signal | ||||||||
D7-D8 | -- | -- | Not Used | D7-D8 | -- | -- | Not Used | ||||||||
|
| ||||||||||||||
|---|---|---|---|---|---|---|---|---|---|---|---|---|---|---|---|
Connector Part Information |
| Connector Part Information |
| ||||||||||||
Pin | Wire Color | Circuit No. | Function | Pin | Wire Color | Circuit No. | Function | ||||||||
A1-A2 | -- | -- | Not Used | A1-A2 | -- | -- | Not Used | ||||||||
A3 | LT BLU | 166 | Power Window Master Switch Right Front Up Signal | A3 | LT BLU | 166 | Power Window Master Switch Right Front Up Signal | ||||||||
A4 | TAN | 167 | Power Window Master Switch Right Front Down Signal | A4 | TAN | 167 | Power Window Master Switch Right Front Down Signal | ||||||||
A5-A8 | -- | -- | Not Used | A5-A8 | -- | -- | Not Used | ||||||||
B1 | -- | -- | Not Used | B1 | -- | -- | Not Used | ||||||||
B2 | LT BLU/WHT | 1497 | Passenger Mirror Motor Left/Up Control | B2 | LT BLU/WHT | 1497 | Passenger Mirror Motor Left/Up Control | ||||||||
B3 | GRY | 8 | Instrument Panel Lamp Supply Voltage | B3 | GRY | 8 | Instrument Panel Lamp Supply Voltage | ||||||||
B4 | BLK | 350 | Ground | B4 | BLK | 350 | Ground | ||||||||
B5 | TAN | 294 | Door Lock Actuator Unlock Control | B5 | TAN | 294 | Door Lock Actuator Unlock Control | ||||||||
B6 | WHT | 194 | Door Unlock Control | B6 | WHT | 194 | Door Unlock Control | ||||||||
B7 | LT BLU | 195 | Door Lock Control | B7 | LT BLU | 195 | Door Lock Control | ||||||||
B8 | GRY | 295 | Door Lock Actuator Lock Control | B8 | GRY | 295 | Door Lock Actuator Lock Control | ||||||||
B9 | DK BLU | 49 | Door Open Switch Signal | B9 | DK BLU | 49 | Door Open Switch Signal | ||||||||
B10-B12 | -- | -- | Not Used | B10-12 | -- | -- | Not Used | ||||||||
C1 | -- | -- | Not Used | C1 | -- | -- | Not Used | ||||||||
C2 | RED/WHT | 881 | Passenger Mirror Motor Right Control | C2 | RED/WHT | 881 | Passenger Mirror Motor Right Control | ||||||||
C3 | BRN/WHT | 1498 | Passenger Mirror Motor Up Control | C3 | BRN/WHT | 1498 | Passenger Mirror Motor Up Control | ||||||||
C4 | GRY/BLK | 690 | Courtesy Lamp Relay Coil Control | C4 | -- | -- | Not Used | ||||||||
C5 | ORN/BLK | 781 | Driver Door Lock Switch Unlock Signal | C5 | ORN/BLK | 781 | Driver Door Lock Switch Unlock Signal | ||||||||
C6 | LT GRN | 200 | Right Front Speaker Output (+) | C6 | LT GRN | 200 | Right Front Speaker Output (+) | ||||||||
C7 | DK GRN | 117 | Right Front Speaker Output (-) | C7 | DK GRN | 117 | Right Front Speaker Output (-) | ||||||||
C8 | BLK/WHT | 746 | Right Front Door Ajar Switch Signal | C8 | BLK/WHT | 746 | Right Front Door Ajar Switch Signal | ||||||||
C9 | DK BLU | 1393 | Interior Lamp Relay Coil Control | C9 | -- | -- | Not Used | ||||||||
C10-C12 | -- | -- | Not Used | C10-C12 | -- | -- | Not Used | ||||||||
D1-D2 | -- | -- | Not Used | D1-D2 | -- | -- | Not Used | ||||||||
D3 | DK BLU | 1307 | Power Window Master Switch Lockout Signal | D3 | DK BLU | 1307 | Power Window Master Switch Lockout Signal | ||||||||
D4-D8 | -- | -- | Not Used | D4-D8 | -- | -- | Not Used | ||||||||
|
| ||||||||||||||
|---|---|---|---|---|---|---|---|---|---|---|---|---|---|---|---|
Connector Part Information |
| Connector Part Information |
| ||||||||||||
Pin | Wire Color | Circuit No. | Function | Pin | Wire Color | Circuit No. | Function | ||||||||
A | ORN | 340 | Battery Positive Voltage | A | ORN | 340 | Battery Positive Voltage | ||||||||
B | BLK | 750 | Ground | B | BLK | 750 | Ground | ||||||||
C | ORN | 2040 | Battery Positive Voltage | C | ORN | 2040 | Battery Positive Voltage (AG6 or KA1) | ||||||||
D | BLK/WHT | 238 | Seat Belt Switch - Left | D | BLK/WHT | 238 | Seat Belt Switch - Left | ||||||||
E | LT BLU | 1462 | Heated Seat Switch Signal | E | LT BLU | 1462 | Heated Seat Switch Signal (KA1) | ||||||||
F | PNK | 1501 | Driver Heated Seat High/Low Signal | F | PNK | 1501 | Driver Heated Seat High/Low Signal (KA1) | ||||||||
|
| ||||||||||||||
|---|---|---|---|---|---|---|---|---|---|---|---|---|---|---|---|
Connector Part Information |
| Connector Part Information |
| ||||||||||||
Pin | Wire Color | Circuit No. | Function | Pin | Wire Color | Circuit No. | Function | ||||||||
A | TAN/WHT | 768 | Driver Seat Lumbar Motor Up Control | A | TAN | 768 | Driver Seat Lumbar Motor Up Control | ||||||||
B | -- | -- | Not Used | B | -- | -- | Not Used | ||||||||
C | PNK/BLK | 610 | Driver Seat Lumbar Motor Rearward Control | C | PNK | 610 | Driver Seat Lumbar Motor Rearward Control | ||||||||
D | DK BLU/ WHT | 611 | Driver Seat Lumbar Motor Forward Control | D | DK BLU | 611 | Driver Seat Lumbar Motor Forward Control | ||||||||
E | -- | -- | Not Used | E | -- | -- | Not Used | ||||||||
F | PPL/WHT | 767 | Driver Seat Lumbar Motor Down Control | F | PPL | 767 | Driver Seat Lumbar Motor Down Control | ||||||||
|
| ||||||||||||||
|---|---|---|---|---|---|---|---|---|---|---|---|---|---|---|---|
Connector Part Information |
| Connector Part Information |
| ||||||||||||
Pin | Wire Color | Circuit No. | Function | Pin | Wire Color | Circuit No. | Function | ||||||||
A | LT BLU | 1462 | Heated Seat Switch Signal | A | LT BLU | 1462 | Heated Seat Switch Signal (KA1) | ||||||||
B | PNK | 1501 | Driver Heated Seat High/Low Signal | B | PNK | 1501 | Driver Heated Seat High/Low Signal (KA1) | ||||||||
|
| ||||||||||||||
|---|---|---|---|---|---|---|---|---|---|---|---|---|---|---|---|
Connector Part Information |
| Connector Part Information |
| ||||||||||||
Pin | Wire Color | Circuit No. | Function | Pin | Wire Color | Circuit No. | Function | ||||||||
A | PPL | 169 | Power Window Master Switch Left Rear Down Signal | A | PPL | 169 | Power Window Master Switch Left Rear Down Signal | ||||||||
B | GRY | 295 | Door Lock Actuator Lock Control | B | GRY | 295 | Door Lock Actuator Lock Control | ||||||||
C | LT BLU/BLK | 747 | Left Rear Door Ajar Switch Signal | C | LT BLU/BLK | 747 | Left Rear Door Ajar Switch Signal | ||||||||
D | DK BLU | 1307 | Power Window Master Switch Lockout Signal | D | DK BLU | 1307 | Power Window Master Switch Lockout Signal | ||||||||
E | TAN | 294 | Door Lock Actuator Unlock Control | E | TAN | 294 | Door Lock Actuator Unlock Control | ||||||||
F | DK GRN | 168 | Power Window Master Switch Left Rear Up Signal | F | DK GRN | 168 | Power Window Master Switch Left Rear Up Signal | ||||||||
G | BLK | 750 | Ground | G | BLK | 750 | Ground | ||||||||
H | DK BLU | 49 | Door Open Switch Signal | H | DK BLU | 49 | Door Open Switch Signal | ||||||||
|
| ||||||||||||||
|---|---|---|---|---|---|---|---|---|---|---|---|---|---|---|---|
Connector Part Information |
| Connector Part Information |
| ||||||||||||
Pin | Wire Color | Circuit No. | Function | Pin | Wire Color | Circuit No. | Function | ||||||||
A | PPL | 171 | Power Window Master Switch Right Rear Down Signal | A | PPL | 171 | Power Window Master Switch Right Rear Down Signal | ||||||||
B | GRY | 295 | Door Lock Actuator Lock Control | B | GRY | 295 | Door Lock Actuator Lock Control | ||||||||
C | LT GRN/BLK | 748 | Right Rear Door Ajar Switch Signal | C | LT GRN/BLK | 748 | Right Rear Door Ajar Switch Signal | ||||||||
D | DK BLU | 1307 | Power Window Master Switch Lockout Signal | D | DK BLU | 1307 | Power Window Master Switch Lockout Signal | ||||||||
E | TAN | 294 | Door Lock Actuator Unlock Control | E | TAN | 294 | Door Lock Actuator Unlock Control | ||||||||
F | LT GRN | 170 | Power Window Master Switch Right Rear Up Signal | F | LT GRN | 170 | Power Window Master Switch Right Rear Up Signal | ||||||||
G | BLK | 350 | Ground | G | BLK | 350 | Ground | ||||||||
H | DK BLU | 49 | Door Open Switch Signal | H | DK BLU | 49 | Door Open Switch Signal | ||||||||
|
| ||||||||||||||
|---|---|---|---|---|---|---|---|---|---|---|---|---|---|---|---|
Connector Part Information |
| Connector Part Information |
| ||||||||||||
Pin | Wire Color | Circuit No. | Function | Pin | Wire Color | Circuit No. | Function | ||||||||
A | LT GRN | 24 | Backup Lamp Supply Voltage (DD8) | A | LT GRN | 24 | Backup Lamp Supply Voltage | ||||||||
B | GRY/BLK | 690 | Courtesy Lamp Relay Coil Control | B | GRY/BLK | 690 | Courtesy Lamp Relay Coil Control | ||||||||
C | BLK | 350 | Ground | C | BLK | 350 | Ground | ||||||||
D | YEL | 343 | Accessory Voltage | D | YEL | 343 | Accessory Voltage | ||||||||
E | LT GRN/BLK | 735 | Ambient Air Temperature Sensor Signal (DD8 or CF5) | E | LT GRN/BLK | 735 | Ambient Air Temperature Sensor Signal | ||||||||
F | DK BLU | 1393 | Interior Lamp Relay Coil Control | F | DK BLU | 1393 | Interior Lamp Relay Coil Control | ||||||||
G | PPL | 293 | Rear Defog Element Supply Voltage | G | PPL | 293 | Rear Defog Element Supply Voltage | ||||||||
H | BRN | 718 | Low Reference (DD8) | H | BRN | 718 | Low Reference | ||||||||
|
| ||||||||||||||
|---|---|---|---|---|---|---|---|---|---|---|---|---|---|---|---|
Connector Part Information |
| Connector Part Information |
| ||||||||||||
Pin | Wire Color | Circuit No. | Function | Pin | Wire Color | Circuit No. | Function | ||||||||
A | YEL/BLK | 2516 | Keypad Green LED Signal | A | YEL/BLK | 2516 | Keypad Green LED Signal | ||||||||
B | -- | -- | Not Used | B | -- | -- | Not Used | ||||||||
C | BRN/WHT | 2517 | Keypad Red LED Signal | C | BRN/WHT | 2517 | Keypad Red LED Signal | ||||||||
D | LT GRN/BLK | 2515 | Keypad Supply Voltage | D | LT GRN/BLK | 2515 | Keypad Supply Voltage | ||||||||
E | DK GRN/ WHT | 2514 | Keypad Signal | E | DK GRN/ WHT | 2514 | Keypad Signal | ||||||||
F | BARE | 1705 | Drain Wire | F | BARE | 1705 | Drain Wire | ||||||||
G | GRY | 655 | Cellular Telephone Microphone Signal | G | GRY | 655 | Cellular Telephone Microphone Signal | ||||||||
H | -- | -- | Not Used | H | -- | -- | Not Used | ||||||||
|
| ||||||||||||||
|---|---|---|---|---|---|---|---|---|---|---|---|---|---|---|---|
Connector Part Information |
| Connector Part Information |
| ||||||||||||
Pin | Wire Color | Circuit No. | Function | Pin | Wire Color | Circuit No. | Function | ||||||||
A | PNK | 110 | Accessory Voltage | A | YEL | 343 | Accessory Voltage | ||||||||
B | -- | -- | Not Used | B | -- | -- | Not Used | ||||||||
C | BLK | 100 | Ground | C | BLK | 350 | Ground | ||||||||
|
| ||||||||||||||
|---|---|---|---|---|---|---|---|---|---|---|---|---|---|---|---|
Connector Part Information |
| Connector Part Information |
| ||||||||||||
Pin | Wire Color | Circuit No. | Function | Pin | Wire Color | Circuit No. | Function | ||||||||
A | BLK | 350 | Ground | A | BLK | 350 | Ground | ||||||||
B | YEL | 18 | Left Rear Stop/Turn Lamp Supply Voltage | B | YEL | 18 | Left Rear Stop/Turn Lamp Supply Voltage | ||||||||
C | DK GRN | 19 | Right Rear Stop/Turn Lamp Supply Voltage | C | DK GRN | 19 | Right Rear Stop/Turn Lamp Supply Voltage | ||||||||
D | LT GRN | 24 | Backup Lamp Supply Voltage | D | LT GRN | 24 | Backup Lamp Supply Voltage | ||||||||
LT GRN | 24 | Backup Lamp Supply Voltage | LT GRN | 24 | Backup Lamp Supply Voltage | ||||||||||
E | BRN | 9 | Park Lamp Supply Voltage | E | BRN | 9 | Park Lamp Supply Voltage | ||||||||
F | -- | -- | Not Used | F | -- | -- | Not Used | ||||||||
|
| ||||||||||||||
|---|---|---|---|---|---|---|---|---|---|---|---|---|---|---|---|
Connector Part Information |
| Connector Part Information |
| ||||||||||||
Pin | Wire Color | Circuit No. | Function | Pin | Wire Color | Circuit No. | Function | ||||||||
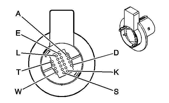
A | BRN | 882 | Right Rear Wheel Speed Sensor Signal | 1A | BRN | 882 | Right Rear Wheel Speed Sensor Signal | ||||||||
B | WHT | 883 | Right Rear Wheel Speed Sensor Low Reference | 1B | WHT | 883 | Right Rear Wheel Speed Sensor Low Reference | ||||||||
C | BLK | 884 | Left Rear Wheel Speed Sensor Signal | 1C | BLK | 884 | Left Rear Wheel Speed Sensor Signal | ||||||||
D | RED | 885 | Left Rear Wheel Speed Sensor Low Reference | 1D | RED | 885 | Left Rear Wheel Speed Sensor Low Reference | ||||||||
|
| ||||||||||||||
|---|---|---|---|---|---|---|---|---|---|---|---|---|---|---|---|
Connector Part Information |
| Connector Part Information |
| ||||||||||||
Pin | Wire Color | Circuit No. | Function | Pin | Wire Color | Circuit No. | Function | ||||||||
A | BLK | 150 | Ground | 3A | BLK | 350 | Ground | ||||||||
B | BLK/WHT | 651 | Low Reference | 3B | BLK | 2759 | Low Reference | ||||||||
C | GRY | 120 | Fuel Pump Supply Voltage | 3C | GRY | 120 | Fuel Pump Supply Voltage | ||||||||
D | PPL | 1589 | Fuel Level Sensor Signal | 3D | PPL | 30 | Fuel Level Sensor Signal | ||||||||
E | -- | -- | Not Used | 3E | -- | -- | Not Used | ||||||||
F | GRY/BLK | 416 | 5 Volt Reference | 3F | GRY | 2700 | 5 Volt Reference | ||||||||
G | DK GRN | 890 | Fuel Tank Pressure Sensor Signal | 3G | DK GRN | 890 | Fuel Tank Pressure Sensor Signal | ||||||||
H | ORN/BLK | 469 | Low Reference | 3H | BLK | 2759 | Low Reference | ||||||||
|
| ||||||||||||||
|---|---|---|---|---|---|---|---|---|---|---|---|---|---|---|---|
Connector Part Information |
| Connector Part Information |
| ||||||||||||
Pin | Wire Color | Circuit No. | Function | Pin | Wire Color | Circuit No. | Function | ||||||||
A1 | BLK | 28 | Horn Relay Control | A1 | BLK | 28 | Horn Relay Control | ||||||||
A2 | BLK/WHT | 351 | Ground | A2 | BLK/WHT | 351 | Ground | ||||||||
A3 | DK GRN | 835 | Entertainment and Comfort Serial Data | A3 | DK GRN | 835 | Entertainment and Comfort Serial Data | ||||||||
A4 | DK GRN/ WHT | 2514 | Keypad Signal | A4 | DK GRN/ WHT | 2514 | Keypad Signal | ||||||||
A5 | LT GRN/BLK | 2515 | Keypad Supply Voltage | A5 | LT GRN/BLK | 2515 | Keypad Supply Voltage | ||||||||
A6 | YEL/BLK | 2516 | Keypad Green LED Signal | A6 | YEL/BLK | 2516 | Keypad Green LED Signal | ||||||||
A7 | -- | -- | Not Used | A7 | -- | -- | Not Used | ||||||||
A8 | BRN/WHT | 2517 | Keypad Red LED Signal | A8 | BRN/WHT | 2517 | Keypad Red LED Signal | ||||||||
A9 | PPL | 1807 | Class 2 Serial Data | A9 | PPL | 1807 | Class 2 Serial Data | ||||||||
A10 | WHT | 194 | Door Unlock Control | A10 | WHT | 194 | Door Unlock Control | ||||||||
A11 | ORN/BLK | 781 | Driver Door Lock Switch Unlock Signal | A11 | ORN/BLK | 781 | Driver Door Lock Switch Unlock Signal | ||||||||
B1 | PNK | 239 | Ignition 1 Voltage (OnStar) | B1 | PNK | 239 | Ignition 1 Voltage (OnStar) | ||||||||
B2 | YEL | 43 | Accessory Voltage (OnStar) | B2 | YEL | 43 | Accessory Voltage (OnStar) | ||||||||
B3 | ORN | 2140 | Battery Positive Voltage (OnStar) | B3 | ORN | 2140 | Battery Positive Voltage (OnStar) | ||||||||
B4 | LT BLU | 1405 | Remote Playback Device Audio Common Signal | B4 | LT BLU | 1405 | Remote Playback Device Audio Common Signal | ||||||||
B5 | ORN/BLK | 1406 | Remote Playback Device Left Audio Signal | B5 | ORN/BLK | 1406 | Remote Playback Device Left Audio Signal | ||||||||
B6 | LT GRN | 1407 | Remote Playback Device Right Audio Signal | B6 | LT GRN | 1407 | Remote Playback Device Right Audio Signal | ||||||||
B7 | BARE | 2011 | Audio Drain Wire | B7 | BARE | 2011 | Audio Drain Wire | ||||||||
B8 | BARE | 1705 | Drain Wire | B8 | BARE | 1705 | Drain Wire | ||||||||
B9 | GRY | 655 | Cellular Telephone Microphone Signal | B9 | GRY | 655 | Cellular Telephone Microphone Signal | ||||||||
B10 | ORN/BLK | 1340 | Battery Positive Voltage (OnStar) | B10 | ORN | 1340 | Battery Positive Voltage (OnStar) | ||||||||
B11 | BRN | 9 | Park Lamp Supply Voltage | B11 | BRN | 9 | Park Lamp Supply Voltage | ||||||||
|
| ||||||||||||||
|---|---|---|---|---|---|---|---|---|---|---|---|---|---|---|---|
Connector Part Information |
| Connector Part Information |
| ||||||||||||
Pin | Wire Color | Circuit No. | Function | Pin | Wire Color | Circuit No. | Function | ||||||||
A | BLK/WHT | 56 | Trunk Release Motor Control | A | BLK/WHT | 56 | Trunk Release Motor Control | ||||||||
B | RED/BLK | 744 | Trunk Ajar Switch Signal | B | RED/BLK | 744 | Trunk Ajar Switch Signal | ||||||||
C | BLK | 350 | Ground | C | BLK | 350 | Ground | ||||||||
D | LT GRN | 1828 | Security System Tamper Signal (UA6) | D | LT GRN | 1828 | Security System Tamper Signal (UA6) | ||||||||