GM Service Manual Online
For 1990-2009 cars only
Makes
🢒
Pontiac
🢒
2003
🢒
Grand Prix
🢒
Engine
🢒
Engine Controls - 3.8L
🢒 Fuel Hose/Pipes Routing Diagram
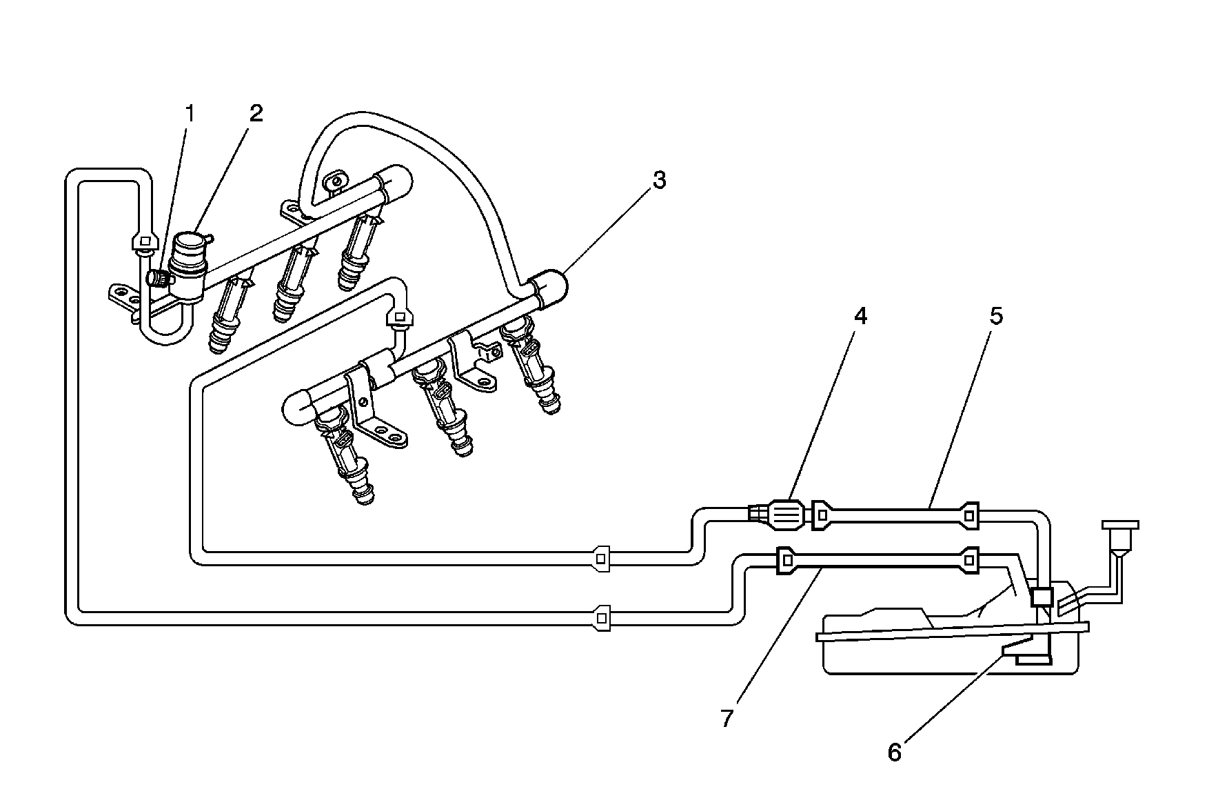
Fuel Hose/Pipes Routing Diagram With L67
(1)
Fuel Return Pipe
(2)
Fuel Pump Module
(3)
Fuel Feed Pipe
(4)
Fuel Filter
(5)
Fuel Pressure Service Connection
(6)
Fuel Injector Rail
(7)
Fuel Pressure Regulator
Fuel Hose/Pipes Routing Diagram With L36
(1)
Fuel Pressure Service Connection
(2)
Fuel Pressure Regulator
(3)
Fuel Injector Rail
(4)
Fuel Filter
(5)
Fuel Feed Pipe
(6)
Fuel Pump Module
(7)
Fuel Return Pipe