GM Service Manual Online
For 1990-2009 cars only
Figure 1:

Power, Ground, Brake Pressure Modulator Valves


Object Number: 876178  Size: FS
Master Electrical Component List
ABS Description and Operation
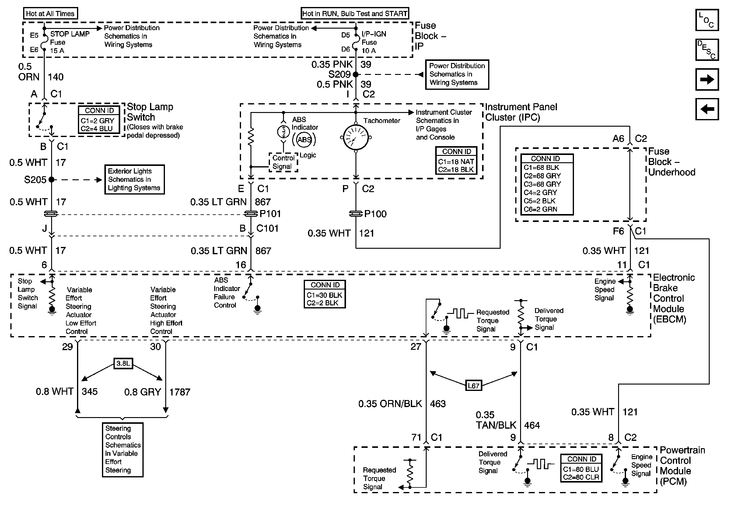
ABS Indicator, Torque Signals, and Steering
BATT MAIN 1, 2 IGN MAIN 1, 2 HEADLAMPS, PARK LP, HVAC/RKE BATT, AIR, ECM SENSE, ALT SENSE, B/U LAMP, COOL FAN 1, 2 FUEL PUMP, FOG LP, HORN, INJ, IGN1-UH, ELEK IGN, TCC, A/C CLU/ABS IGN Fuses
TCC, ELEK IGN, and A/C CLU/ABS IGN Fuses
DLC
G119
G205
Figure 2:

ABS Indicator, Torque Signals, and Steering


Object Number: 876184  Size: FS
Master Electrical Component List
ABS Description and Operation
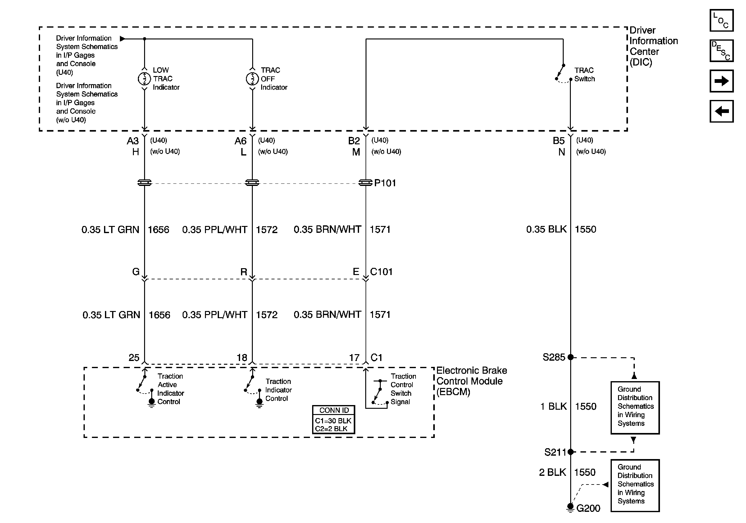
Traction Control
Power, Ground, and Brake Pressure Modulator Valves
BATT MAIN 1, ONSTAR, STOPLAMP, INT LAMP, and CIG LTR Fuses
IP-IGN, CRUISE, and ECM Fuses
IP-IGN, CRUISE, and ECM Fuses
Gages
Rear Turn Signals and Stop Lamps
Steering Controls
Figure 3:

Traction Control


Object Number: 876190  Size: FS
Master Electrical Component List
ABS Description and Operation
Wheel Speed Sensors
ABS Indicator, Torque Signals, and Steering
Driver Information Center (DIC)(w/U40)
Driver Information Center (DIC) (w/o U40)
G200, S211, S285
G200, G213, S375
Figure 4:

Wheel Speed Sensors


Object Number: 794890  Size: FS
Master Electrical Component List
ABS Description and Operation
Traction Control
Antilock Brake System Schematic Icons
Antilock Brake System Schematic Icons
Antilock Brake System Schematic Icons
Antilock Brake System Schematic Icons
Antilock Brake System Schematic Icons
Antilock Brake System Schematic Icons
Antilock Brake System Schematic Icons
Antilock Brake System Schematic Icons
Antilock Brake System Schematic Icons
Antilock Brake System Schematic Icons