GM Service Manual Online
For 1990-2009 cars only
Makes
🢒
Pontiac
🢒
2003
🢒
Grand Prix
🢒
Transmission/Transaxle
🢒
Automatic Transaxle - 4T65-E
🢒 Automatic Transmission Controls Schematics
Figure
1:
Stop Lamp Switch, TCC and Shift Solenoids, TFT Sensor
Master Electrical Component List
Electronic Component Description
VSS and ISS Sensors, Pressure Control Solenoid Valve, TCC Release Switch, and Fluid Pressure Switches
OBD II Symbol Description Notice
BATT-MAIN 2, R DEFOG, H SEAT/LUM, PWR LOCK, RADIO AMP Fuses, and SEAT Circuit Breaker
Figure
2:
VSS and ISS Sensors, Pressure Control Solenoid Valve, and TCC Release Switch
Master Electrical Component List
Electronic Component Description
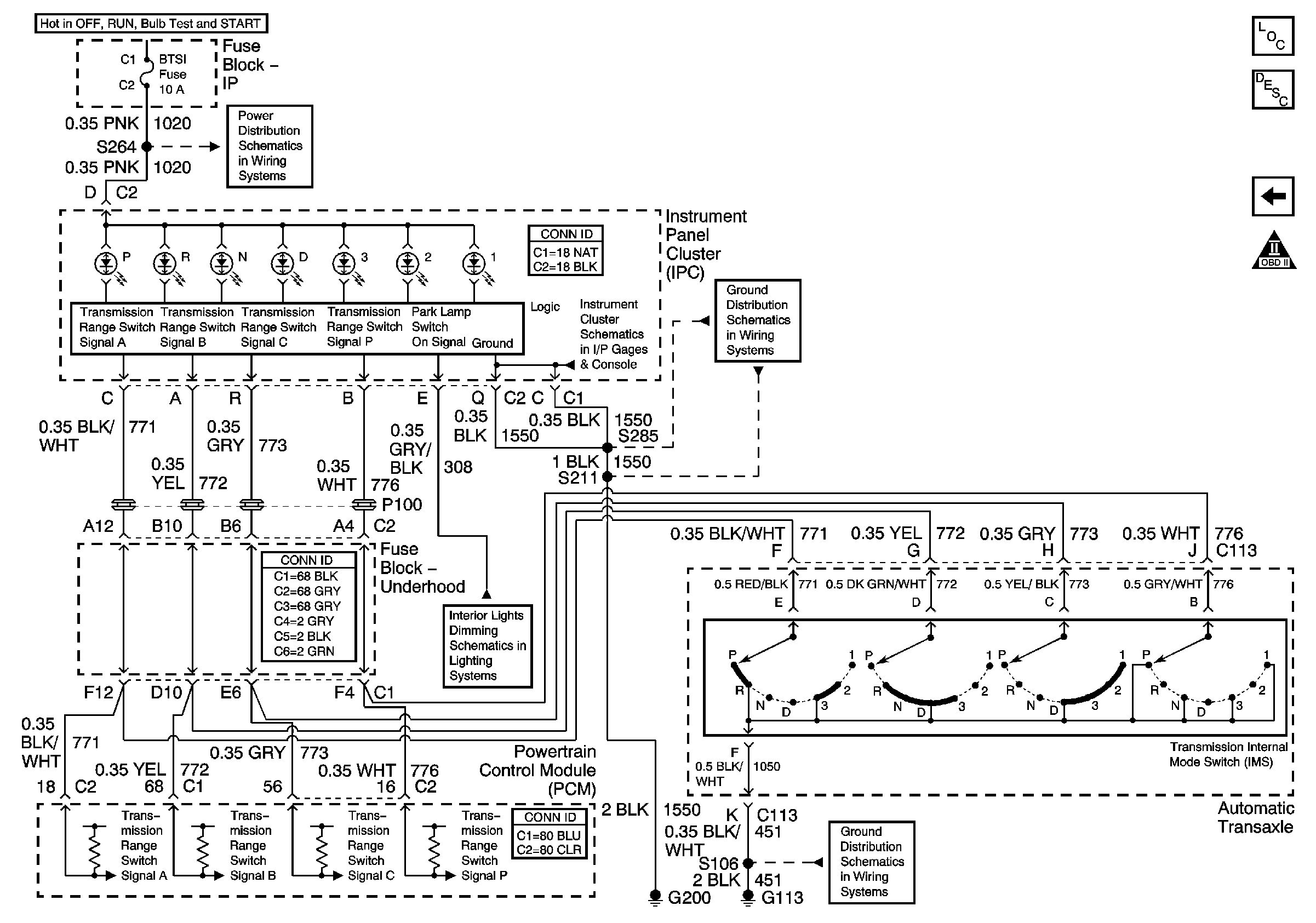
PRNDL
Stop lamp Switch, TCC, Shift Solenoids, and TFT Sensor
Automatic Transmission Schematic Icons
Automatic Transmission Schematic Icons
Figure
3:
PRNDL
Master Electrical Component List
Electronic Component Description
VSS, and ISS Sensors, Pressure Control Solenoid Valve, TCC Release Switch and Fluid Pressure Switches, FP
Automatic Transmission Schematic Icons
IGN MAIN 1, BTSI, DRL, CANISTER VENT, PWR DROP, TURN, and SIR Fuses
IGN MAIN 1, BTSI, DRL, CANISTER VENT, PWR DROP, TURN, and SIR Fuses
Power, Ground, Illumination, and Seat belt, Turn Signal, Hi Beam Indicators
G200, S211, S285
Headlamp Switch and Instrument Panel Lighting
G100, G111, G113