GM Service Manual Online
For 1990-2009 cars only
Makes
🢒
Pontiac
🢒
2003
🢒
Grand Prix
🢒
Body and Accessories
🢒
Seats
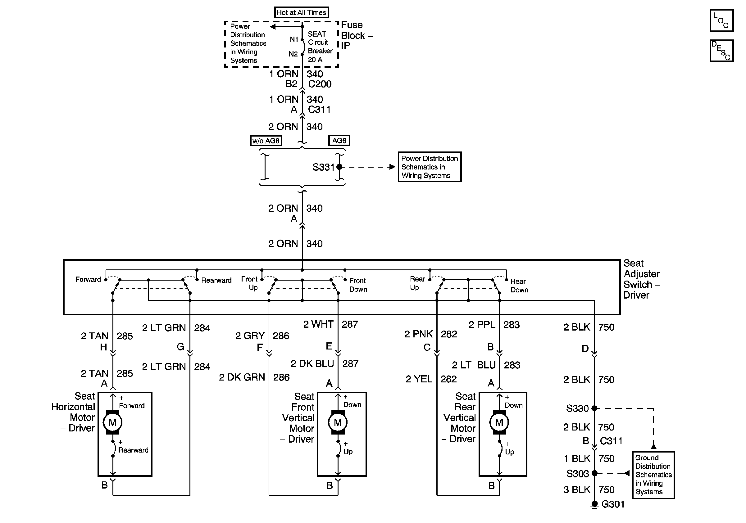
🢒 Power Seats Schematics
Master Electrical Component List
Power Seats System Description and Operation
BATT MAIN 2, R DEFOG, H SEAT/LUM, PWR LOCK, RADIO AMP Fuses and SEAT Circuit Breaker
BATT MAIN 2, R DEFOG, H SEAT/LUM, PWR LOCK, RADIO AMP Fuses and SEAT Circuit Breaker
G301