GM Service Manual Online
For 1990-2009 cars only
Makes
🢒
Pontiac
🢒
2003
🢒
Grand Prix
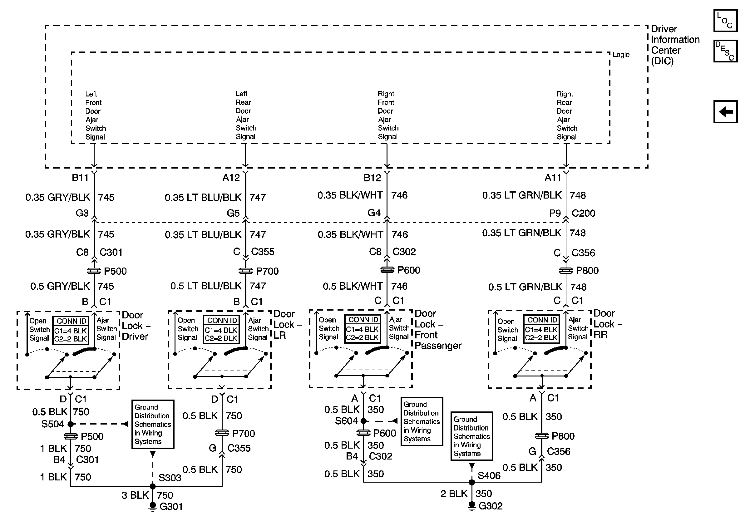
🢒 Driver Information Center (DIC) and Door Ajar Indicators (w/U40)
Driver Information Center (DIC) and Door Ajar Indicators (w/U40)
Driver Information Center Door Ajar Indicators W/RPO U40
Master Electrical Component List
Door Ajar Indicator Description and Operation
Driver Information Center (DIC), and Door Ajar Indicators (w/o U40)
G301
G302, S390, S604
G302, S402, S406, S416