GM Service Manual Online
For 1990-2009 cars only
Makes
🢒
Pontiac
🢒
2003
🢒
Grand Prix
🢒 Steering Wheel Controls
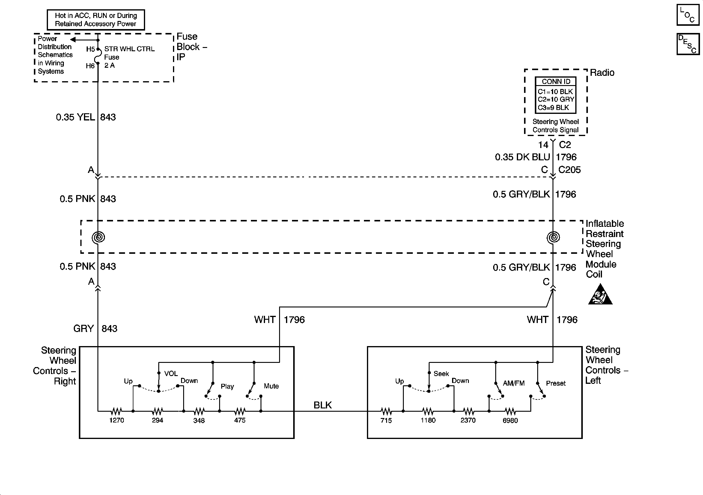
Steering Wheel Controls
Master Electrical Component List
Radio/Audio System Description and Operation
IGN MAIN 2, RADIO, SUNROOF, STR WHL CTRL, WIPER, MALL, MALL PGM Fuses, and PWR WDO Circuit Breaker
SIR Caution for Zoning