GM Service Manual Online
For 1990-2009 cars only
Makes
🢒
Pontiac
🢒
2005
🢒
Grand Prix
🢒
Engine
🢒
Engine Controls - 3.8L
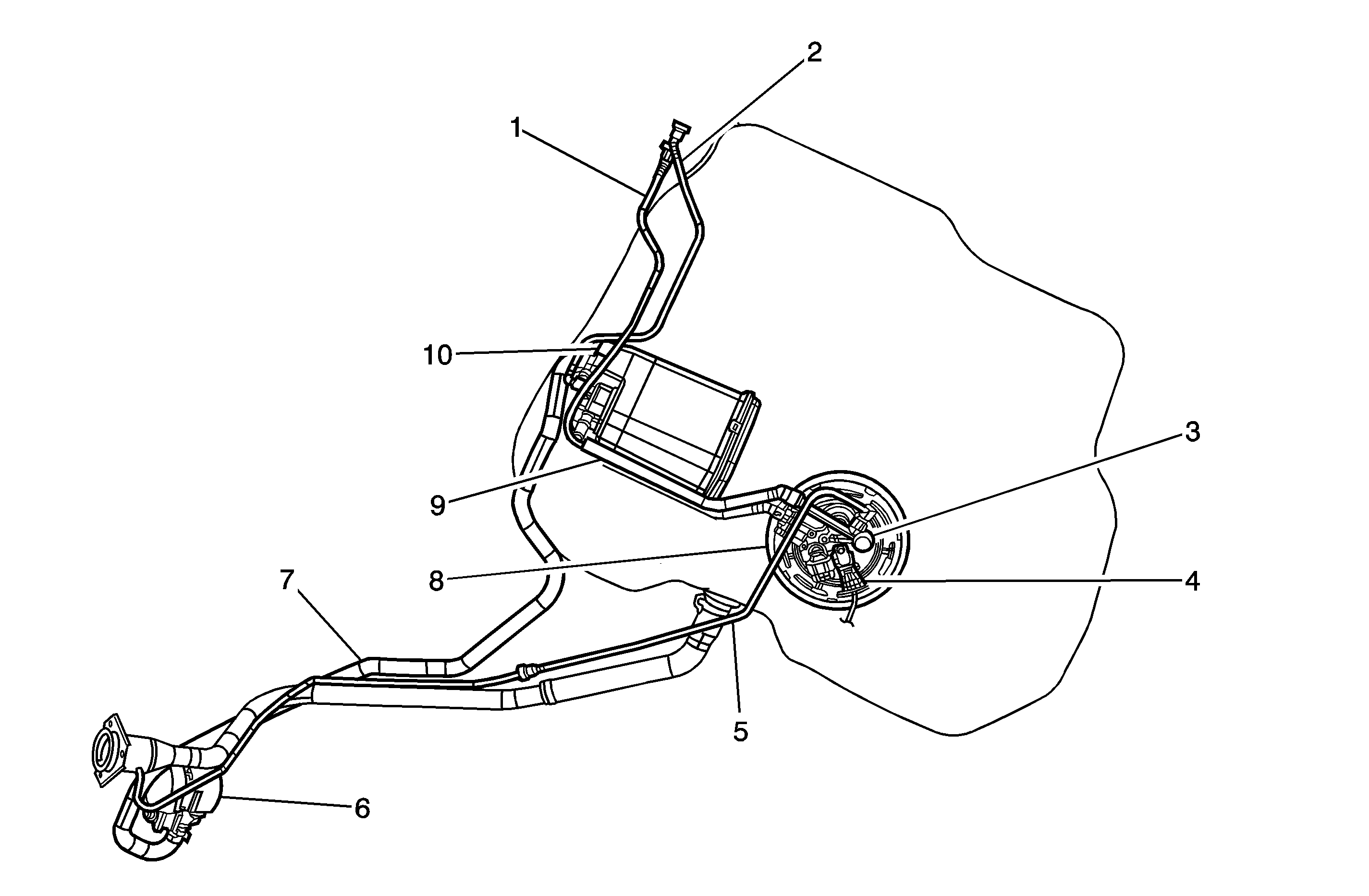
🢒 Evaporative Emissions Hose Routing Diagram
(1)
Fuel Feed Pipe
(2)
EVAP Purge Pipe to Engine
(3)
Fuel Level Vent Valve
(4)
Fuel Tank Pressure Sensor
(5)
Fuel Filler Vent Pipe
(6)
Canister Vent Valve
(7)
Vent Pipe to Canister
(8)
Modular Returnless Assembly
(9)
EVAP Purge Pipe to Canister
(10)
Canister