GM Service Manual Online
For 1990-2009 cars only

Removal Procedure


    Object Number: 929251  Size: SH

    Notice: Electrostatic discharge (ESD) can damage many solid-state electrical components. ESD susceptible components may or may not be labeled with the ESD symbol. Handle all electrical components carefully. Use the following precautions in order to avoid ESD damage:

       • Touch a metal ground point in order to remove your body's static charge before servicing any electronic component; especially after sliding across the vehicle seat.
       • Do not touch exposed terminals. Terminals may connect to circuits susceptible the ESD damage.
       • Do not allow tools to contact exposed terminals when servicing connectors.
       • Do not remove components from their protective packaging until required to do so.
       • Avoid the following actions unless required by the diagnostic procedure:
          - Jumpering or grounding of the components or connectors.
          - Connecting test equipment probes to components or connectors. Connect the ground lead first when using test probes.
       • Ground the protective packaging of any component before opening. Do not rest solid-state components on metal workbenches, or on top of TVs, radios, or other electrical devices.

    Important: You must perform the new body control module (BCM) setup when replacing the BCM. Refer to Control Module References .

  1. Pull the left instrument panel (I/P) compartment access hole cover from the I/P trim pad.
  2. Press to release the cam lock. Disconnect the upper electrical connector from the BCM.

  3. Object Number: 1202960  Size: SH
  4. Remove the left I/P insulator fasteners.
  5. Rotate the lamp. Remove the lamp from the insulator.
  6. Remove the left I/P insulator.

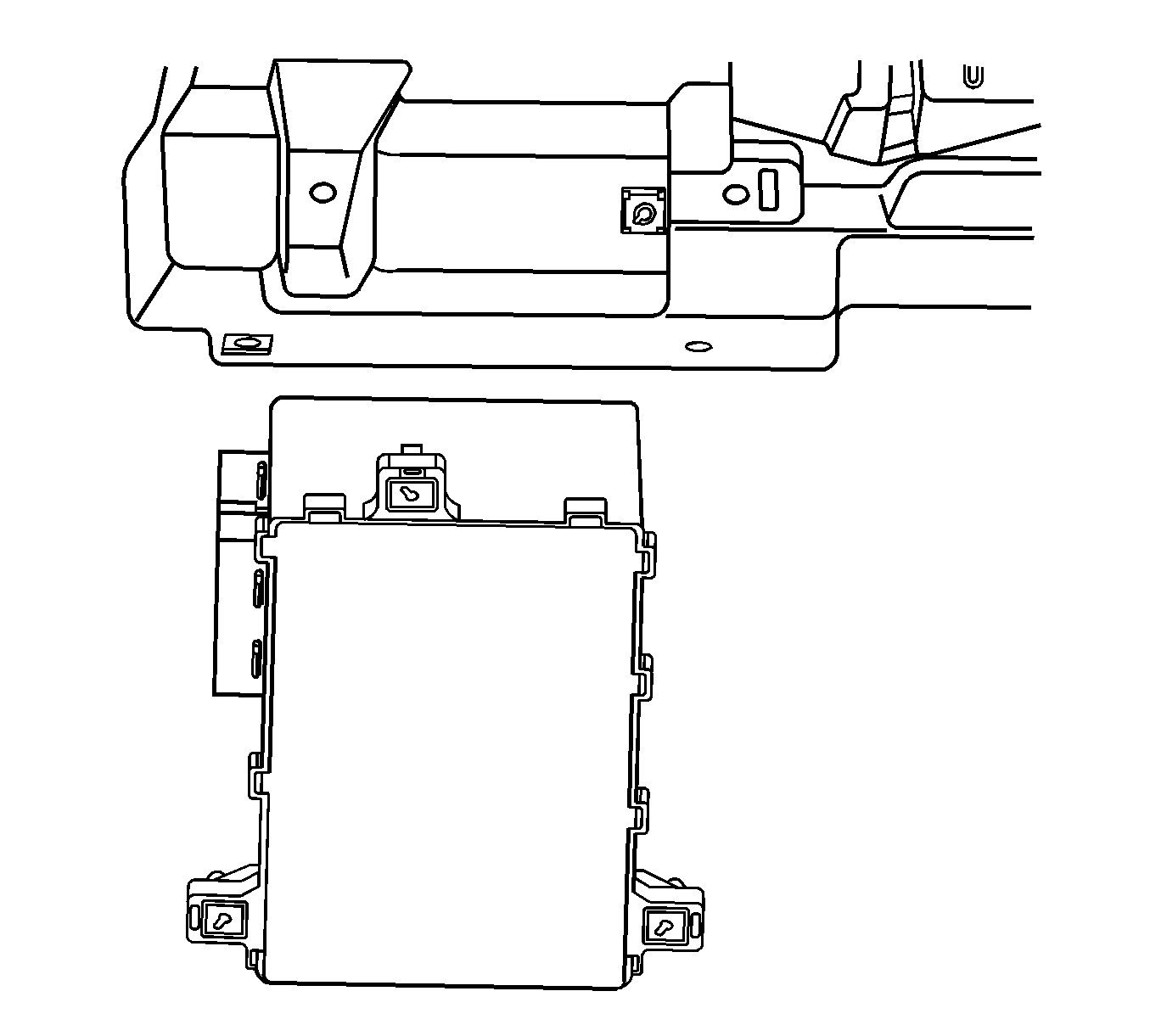
  7. Object Number: 929296  Size: SH
  8. Disengage the data link connector (DLC) retainers. Remove the DLC from the I/P trim pad.

  9. Object Number: 928809  Size: SH
  10. Use a plastic trim tool to remove the ignition switch bezel.
  11. Pull the I/P accessory trim plate rearward slightly for access to the steering column filler. Refer to Instrument Panel Accessory Trim Plate Replacement in Instrument Panel, Gages, and Console.

  12. Object Number: 928912  Size: SH
  13. Remove the I/P steering column opening filler screws.
  14. Pull the I/P steering column opening filler rearward. Remove the I/P steering column opening filler.

  15. Object Number: 1205342  Size: SH
  16. Press to release the cam lock. Disconnect the lower BCM electrical connectors.

  17. Object Number: 1202105  Size: SH
  18. Remove the BCM screws.

  19. Object Number: 1202109  Size: SH
  20. Remove the BCM.

Installation Procedure


    Object Number: 1202109  Size: SH
  1. Align the BCM to the I/P trim pad.
  2. Notice: Refer to Fastener Notice in the Preface section.


    Object Number: 1202105  Size: SH
  3. Install the BCM screws.
  4. Tighten
    Tighten the screws to 2 N·m (18 lb in).


    Object Number: 1205342  Size: SH
  5. Connect the lower BCM electrical connectors. Engage the cam lock.

  6. Object Number: 928912  Size: SH
  7. Align the I/P steering column opening filler to the I/P trim pad. Press the filler panel to the I/P trim pad.
  8. Install the I/P steering column opening filler screws.
  9. Tighten
    Tighten the screws to 2 N·m (18 lb in).


    Object Number: 928809  Size: SH
  10. Install the I/P accessory trim plate. Refer to Instrument Panel Accessory Trim Plate Replacement in Instrument Panel, Gages, and Console.
  11. Install the ignition switch bezel.

  12. Object Number: 929643  Size: SH
  13. Align the DLC to the I/P trim pad. Install the DLC to the I/P trim pad.

  14. Object Number: 1202960  Size: SH
  15. Install the lamp to the left I/P insulator opening.
  16. Align the left I/P insulator to the I/P trim pad.
  17. Install the I/P insulator fasteners.

  18. Object Number: 929251  Size: SH
  19. Connect the upper electrical connector to the BCM. Engage the cam lock.
  20. Align the left I/P compartment access hole cover to the I/P trim pad. Press the I/P compartment access hole cover to the I/P trim pad.
  21. Perform the new BCM setup. Refer to Control Module References .