GM Service Manual Online
For 1990-2009 cars only

Removal Procedure

    Notice: To avoid paint damage, protect the area surrounding the part which you are removing or installing.

  1. Apply masking tape to the fender and door edges.
  2. Important: Do not remove the door from the vehicle to replace the upper or lower hinges.

  3. Open and support the door.
  4. Clean the area around the hinge and mark the location with a grease pencil.

  5. Object Number: 800994  Size: SH
  6. If the upper hinge is broken, remove the upper hinge bolts from the door side in the specified sequence (1, 4).

  7. Object Number: 800993  Size: SH
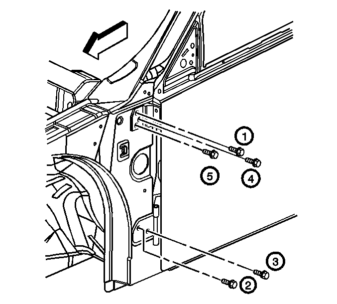
  8. Remove the upper hinge bolts from the hinge pillar side in the specified sequence (1, 4, 5).

  9. Object Number: 800994  Size: SH
  10. If the lower hinge is broken, remove the lower hinge bolts from the door side in the specified sequence (3, 2).

  11. Object Number: 800993  Size: SH
  12. Remove the lower hinge bolts from the hinge pillar side in the specified sequence (3, 2).
  13. Remove the broken hinge from the door.

Installation Procedure

  1. Install the new hinge to the door.

  2. Object Number: 800993  Size: SH
  3. Position the hinge to the alignment marks on the hinge pillar and the door.
  4. Notice: Refer to Fastener Notice in the Preface section.

  5. Install the lower hinge bolts to the hinge pillar side in the specified sequence (3, 2).
  6. Tighten
    Tighten the bolts to 33 N·m (24 lb ft).


    Object Number: 800994  Size: SH
  7. Install the lower hinge bolts to the door side in the specified sequence (3, 2).
  8. Tighten
    Tighten the bolts to 33 N·m (24 lb ft).


    Object Number: 800993  Size: SH
  9. Install the upper hinge bolts to the hinge pillar side in the specified sequence (1, 4, 5).
  10. Tighten
    Tighten the bolts to 33 N·m (24 lb ft).


    Object Number: 800994  Size: SH
  11. Install the upper hinge bolts to the door side in the specified sequence (1, 4).
  12. Tighten
    Tighten the bolts to 33 N·m (24 lb ft).

  13. Remove the support from the door.
  14. Inspect the door for proper operation.
  15. Remove the masking tape.