GM Service Manual Online
For 1990-2009 cars only

Removal Procedure


    Object Number: 325072  Size: SH
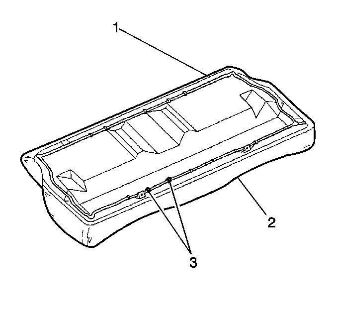
  1. Remove the rear seat cushion (1). Refer to Rear Seat Cushion Replacement .
  2. Remove the trim retainer rings (3) (hog rings) from the cover (2).
  3. Slide your hand between the rear seat cushion pad and the rear seat cover and separate the hook and loop retainers that attach the rear seat cushion cover to the rear seat pad.
  4. Remove the rear seat cushion cover from the pad.

Installation Procedure


    Object Number: 325072  Size: SH
  1. Install the rear seat cushion cover (2) to the pad.
  2. Install the hook and loop retainers that attach the seat cushion cover to the pad.
  3. Install the trim retainer rings (3) (hog rings) to the rear seat cushion cover.
  4. Install the rear seat cushion (1). Refer to Rear Seat Cushion Replacement .