GM Service Manual Online
For 1990-2009 cars only

Removal Procedure


    Object Number: 907783  Size: SH

    Important: Do NOT exchange digital radio receivers between vehicles. Exchanging digital receivers between vehicles will activate the digital radio Theftlock. "XM Theftlock" will be displayed.

  1. Adjust the left rear compartment trim panel for access. Refer to Rear Compartment Side Trim Replacement - Left Side in Body Rear End.
  2. Remove the receiver bracket nuts.
  3. Remove the receiver bracket from the studs.

  4. Object Number: 1203642  Size: SH
  5. Remove the digital radio receiver nuts.
  6. Remove the digital radio receiver from the receiver bracket.
  7. Disengage the connection position assurance (CPA) from the electrical connector.
  8. Disconnect the electrical connector from the digital radio receiver.
  9. Disconnect the antenna connector.
  10. Remove the digital radio receiver.

Installation Procedure


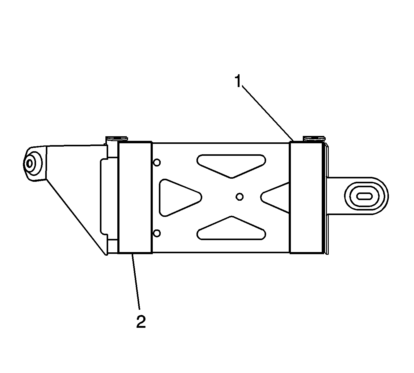
    Object Number: 1323756  Size: SH
  1. Inspect the receiver bracket for foam tape. If the bracket is not equipped, install foam tape as shown (1, 2) to prevent rattles.

  2. Object Number: 1203642  Size: SH
  3. Connect the antenna connector.
  4. Connect the electrical connector.
  5. Install the electrical connector CPA.
  6. Install the digital radio receiver to the receiver bracket.
  7. Notice: Refer to Fastener Notice in the Preface section.

  8. Install the digital radio receiver nuts.
  9. Tighten
    Tighten the nuts to 5 N·m (44 lb in).


    Object Number: 907783  Size: SH
  10. Align the receiver and bracket assembly to the studs.
  11. Install the receiver bracket nuts.
  12. Tighten
    Tighten the nuts to 4 N·m (35 lb in).

  13. Install the left rear compartment trim panel. Refer to Rear Compartment Side Trim Replacement - Left Side.
  14. Perform the setup procedure for the digital radio receiver. Refer to Control Module References for programming and setup information.